Швейная машина Leader NewArt 300 - инструкция пользователя по применению, эксплуатации и установке на русском языке. Мы надеемся, она поможет вам решить возникшие у вас вопросы при эксплуатации техники.
Если остались вопросы, задайте их в комментариях после инструкции.
"Загружаем инструкцию", означает, что нужно подождать пока файл загрузится и можно будет его читать онлайн. Некоторые инструкции очень большие и время их появления зависит от вашей скорости интернета.

20
www.leader-sewing.com
2
1
b
1
a
1
2
3
4
Чтобы
выбрать
строчку
,
просто
поверните
регулятор
выбора
строчки
4
.
Регулятор
может
поворачиваться
в
обоих
направлениях
.
Для
прямой
строчки
переключите
регулятор
выбора
строчки
в
режим
,
обозначенный
символом
« »
или
« ».
Для
зигзагообразной
строчки
переключите
регулятор
в
режим
,
обозначенный
символом
зигзага
«
»
или
« ».
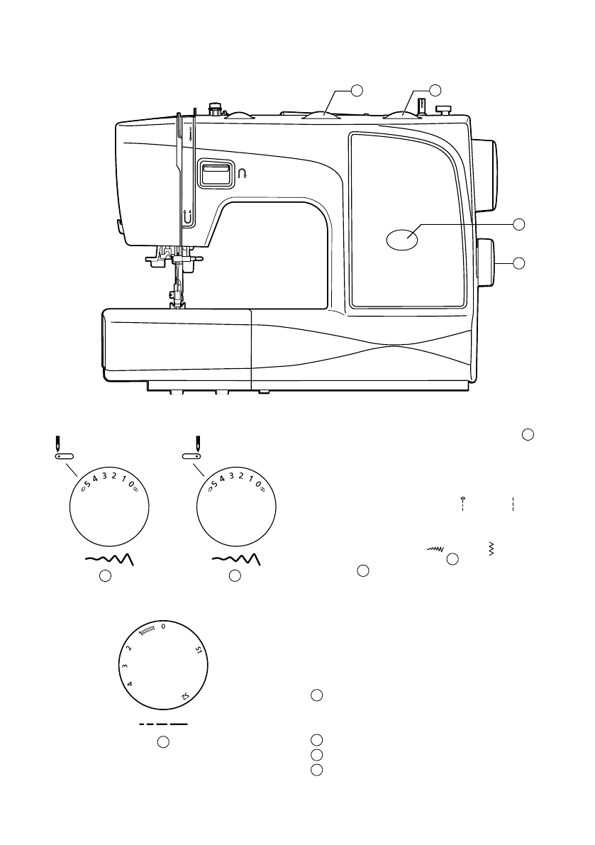
Выберите
длину
стежка
1
и
ширину
строчки
2
в
соответствии
с
используемой
тканью
.
Для
выбора
других
строчек
переключите
регулятор
длины
строчки
в
положение
«S1»
или
«S2»,
выберите
желаемый
вид
строчки
при
помощи
регулятора
выбора
строчки
и
ширину
строчки
при
помощи
регулятора
ширины
строчки
(
для
NewArt
100/200/300, StreetArt 105).
1
Регулятор
ширины
строчки
a.
для
NewArt 200/300
b.
для
NewArt 100, StreetArt 105
2
Регулятор
длины
стежка
3
Индикатор
вида
строчки
4
Регулятор
выбора
строчки
Выбор
строчки










