Шуруповерты Makita BTD136Z - инструкция пользователя по применению, эксплуатации и установке на русском языке. Мы надеемся, она поможет вам решить возникшие у вас вопросы при эксплуатации техники.
Если остались вопросы, задайте их в комментариях после инструкции.
"Загружаем инструкцию", означает, что нужно подождать пока файл загрузится и можно будет его читать онлайн. Некоторые инструкции очень большие и время их появления зависит от вашей скорости интернета.

43
veikt
ų
ir atleistas gr
į
žt
ų
į
pad
ė
t
į
„OFF".
Nor
ė
dami prad
ė
ti dirbti
į
rankiu tiesiog paspauskite
jungikl
į
.
Į
rankio greitis did
ė
ja didinant spaudim
ą
į
jungikl
į
.
Nor
ė
dami sustabdyti atleiskite jungikl
į
PASTABA:
•
Laikant nuspaudus gaiduk
ą
maždaug 130
sekundži
ų
,
į
rankis automatiškai išsijungia.
Priekin
ė
s lemput
ė
s uždegimas
D
Ė
MESIO:
•
Neži
ū
r
ė
kite tiesiai
į
švies
ą
arba šviesos šaltin
į
.
Pav.4
Pav.5
Nor
ė
dami nustatyti lemput
ė
s jungikl
į
į
jungimo pad
ė
tyje,
kelias sekundes palaikykite nuspaud
ę
mygtuk
ą
.
Jeigu lemput
ė
s jungikl
į
norite nustatyti išjungimo
pad
ė
tyje, dar kart
ą
kelias sekundes palaikykite
nuspaud
ę
mygtuk
ą
.
Kai lemput
ė
s jungiklis yra
į
jungimo pad
ė
tyje, nor
ė
dami
į
jungti lemput
ę
, paspauskite gaiduk
ą
. Jeigu norite išjungti,
atleiskite j
į
. Atleidus gaiduk
ą
, lemput
ė
užg
ę
sta maždaug
po 10 sekundži
ų
.
Kai lemput
ė
s jungiklis yra išjungimo pad
ė
tyje, net ir
spaudžiant gaiduk
ą
, lemput
ė
neužsidegs.
PASTABA:
•
Nor
ė
dami patvirtinti lemput
ė
s jungiklio pad
ė
t
į
,
paspauskite gaiduk
ą
. Jeigu paspaudus gaiduk
ą
lemput
ė
užsidega, lemput
ė
s jungiklis yra
į
jungimo
pad
ė
tyje. Jeigu lemput
ė
neužsidega, lemput
ė
s
jungiklis yra išjungimo pad
ė
tyje.
•
Kai gaidukas yra spaudžiamas, lemput
ė
s jungiklio
b
ū
senos pakeisti negalima.
•
Lemput
ė
s jungiklio b
ū
sen
ą
galima pakeisti pra
ė
jus
maždaug 10 sekundži
ų
po gaiduko atleidimo.
Atbulin
ė
s eigos jungimas
Pav.6
Šis
į
rankis turi atbulin
ė
s eigos jungikl
į
sukimosi kryp
č
iai
keisti. Nuspauskite atbulin
ė
s eigos jungiklio svirtel
ę
iš
pus
ė
s A, kad sukt
ų
si pagal laikrodžio rodykl
ę
, arba iš B
pus
ė
s, kad sukt
ų
si prieš laikrodžio rodykl
ę
.
Kai atbulin
ė
s eigos jungiklio svirtel
ė
yra neutralioje
pad
ė
tyje, jungiklio spausti negalima.
D
Ė
MESIO:
•
Prieš naudodami visuomet patikrinkite sukimosi
krypt
į
.
•
Atbulin
ė
s eigos jungikl
į
naudokite tik
į
rankiui
visiškai sustojus. Jei keisite sukimosi krypt
į
prieš
į
rankiui sustojant, galite pažeisti
į
rank
į
.
•
Kai nenaudojate
į
rankio, visuomet nustatykite
atbulin
ė
s eigos jungiklio svirtel
ę
į
neutrali
ą
pad
ė
t
į
.
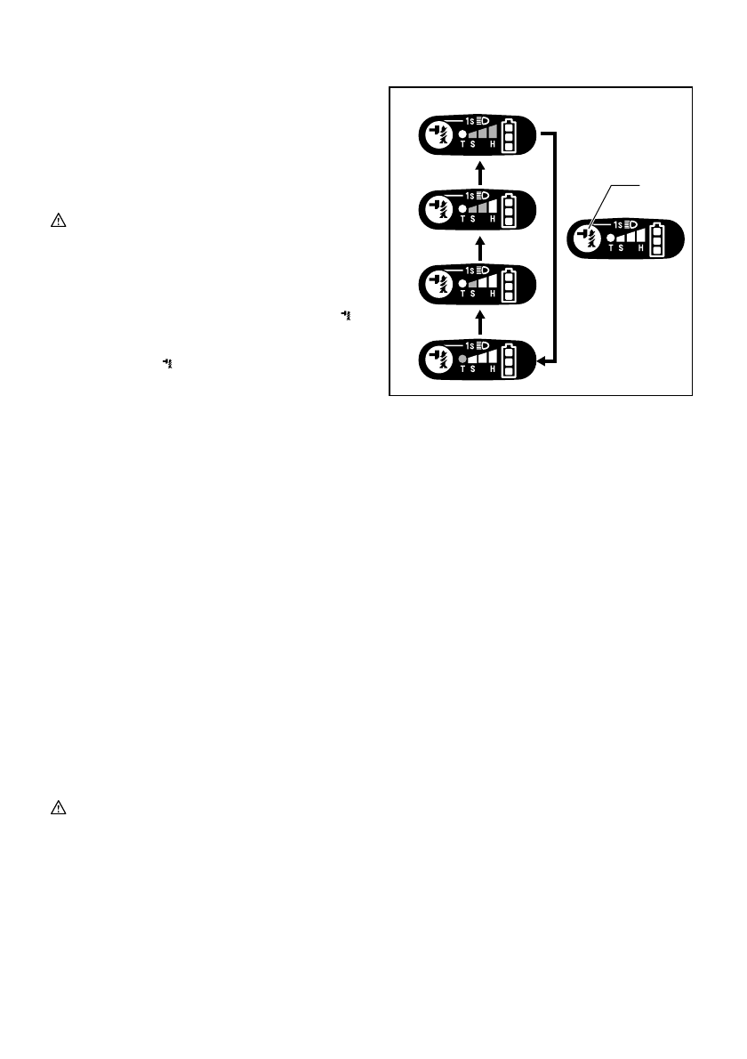
Sm
ū
gio j
ė
gos keitimas
1
2
3
4
5
6
012609
1. Kei
č
iama keturiais etapais
2. Kietas
3. Vidutinis
4. Minkštas
5. Režimas „T“
6. Mygtukas













