Шредеры Fellowes DS 500C FS 34013 - инструкция пользователя по применению, эксплуатации и установке на русском языке. Мы надеемся, она поможет вам решить возникшие у вас вопросы при эксплуатации техники.
Если остались вопросы, задайте их в комментариях после инструкции.
"Загружаем инструкцию", означает, что нужно подождать пока файл загрузится и можно будет его читать онлайн. Некоторые инструкции очень большие и время их появления зависит от вашей скорости интернета.

Zapojte kábel zariadenia do
zásuvky a hlavný vypínač
zapnite do polohy ZAP (I)
33
OBMEDZENÁ ZÁRUKA NA ZARIADENIE
Neprerušovaný chod:
Maximálne 5 minút
POZNÁMKA:
Po každom priechode
papiera skartovač krátko pokračuje
v prevádzke až po úplné uvoľnenie
vstupu. Neprerušovaný chod dlhší ako
5 minút automaticky vyvolá prestávku
20 minút na ochladenie zariadenia.
ZÁKLADNÁ ČINNOSŤ SKARTOVANIA
Obmedzená záruka: Spoločnosť Fellowes, Inc. („Fellowes“) zaručuje, časti skartovača budú po dobu
1 rokov od zakúpenia pôvodným spotrebiteľom bez akýchkoľvek porúch materiálu a funkčnosti a
zároveň sa zaručuje po túto dobu poskytnúť spotrebiteľovi servis a podporu. Spoločnosť Fellowes
zaručuje, že rezacie ostrie stroja bude bez akýchkoľvek porúch materiálu a výroby po dobu 3 rokov od
dátumu nákupu pôvodným spotrebiteľom. Ak sa počas záručnej lehoty zistí kazová časť, výhradným
nápravným opatrením bude oprava alebo výmena kazovej časti na náklady spoločnosti Fellowes
podľa jej rozhodnutia. Táto záruka neplatí v prípadoch nesprávneho použitia, zaobchádzania,
nedodržania noriem používanie produktu, drvenie operácie s použitím nesprávnej napájania (okrem
uvedených na etikete), alebo neoprávnené opravy. Fellowes vyhradzuje právo účtovať spotrebiteľom
za akékoľvek dodatočné náklady vzniknuté Fellowes poskytovania časti alebo služby mimo krajiny,
kde je drvič spočiatku predávané autorizovaného predajcu. KAŽDÁ VYPLÝVAJÚCA ZÁRUKA VRÁTANE
ZÁRUKY PREDAJNOSTI ALEBO SPÔSOBILOSTI PRE URČITÝ ÚČEL JE TÝMTO OBMEDZENÁ NA TRVANIE
PRIMERANEJ ZÁRUČNEJ LEHOTY VYSVETLENEJ TUPREDTÝM. Spoločnosť Fellowes nebude v žiadnom
prípade zodpovedná za prípadné následné alebo náhodné škody v súvislosti s používaním tohto
zariadenia. Táto záruka vám dáva určité zákonné práva. Trvanie a podmienky tejto záruky platia
celosvetovo okrem prípadov, v ktorých miestne zákony ukladajú rôzne obmedzenia, reštrikcie alebo
podmienky. So žiadosťou o ďalšie podrobnosti alebo o servis v rámci tejto záruky sa obráťte priamo
na svojho predajcu alebo na nás.
DS-700C
7
2
3
4
1
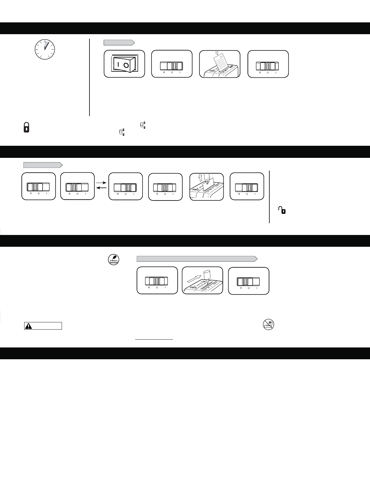
ODSTRAŇOVANIE PORÚCH
PAPER/CARD
Zasuňte papier alebo
kartu do vstupu pre
papier a pusťte ju
Po dokončení skartovania
nastavte prepínač do
VYPNUTEJ polohy (O)
Nastavte tlačidlo na
Automatický štart (I)
ZASEKNUTIE PAPIERA
Striedavo tlačte a ťahajte
Nastavte tlačidlo do
polohy Spätný chod (R)
na 2 – 3 sekundy
Skartátor vypnite (O)
a odpojte zo siete
Opatrne vytiahnite
nerozrezaný papier
zo vstupného otvoru.
Pripojte do siete.
Nastavte prepínač do
polohy Automatický
štart (I) a pokračujte v
skartovaní
Skartovací stroj neštartuje:
Skontrolujte, či je odpadová nádoba úplne
zasunutá
Počkajte 20 minút, kým sa motor ochladí.
Skontrolujte, či je bezpečnostný
zámok je v odomknutej polohe.
ÚDRŽBA ZARIADENIA
Bezpečnostný zámok zabraňuje náhodnému spusteniu stroja. Ak chcete zariadenie nastaviť, počkajte, kým sa neukončí skartovanie, zatlačte čierne tlačidlo smerom dolu a potiahnite
je smerom k prednej strane skartovacieho stroja. Ak chcete zariadenie odomknúť, zatlačte čierne tlačidlo smerom dolu a je potiahnite je smerom k zadnej strane skartovacieho stroja.
Z bezpečnostných dôvodovskartovací stroj vždy po použití odpojte zo siete.
1
4
5
3
2
6
3
1
2
UPOZORNENIE
*Používajte iba rastlinný olej v neaerosólovom balení v nádobke s dlhým krčkom, napr. Fellowes, obj. kód 35250
Všetky skartovače s priečnym rezom potrebujú
pre maximálnu účinnosť olej. Ak zariadenie nie je
naolejované, môže mat zmenšenú kapacitu, môže
počas skartovania vydávať nepríjemný zvuk, prípadne
môže úplne prestať fungovať. Aby ste sa vyhli týmto
problémom, odporúčame, aby ste naolejovali
skartovač zakaždým, keď vyprázdnite kôš.
OLE JOVANIE SKARTOVAČA
RIAĎTE SA NASLEDUJÚCIMI POKYNMI A CELÚ OPERÁCIU VYKONAJTE DVAKRÁT
* Namažte vstup olejom
Nastavte tlačidlo na
Vypnuté (O)
Nastavte tlačidlo na Spätný
chod (R) na 2 –3 sekundy
Prejdite do časti venovanej technickej podpore na adrese www.fellowes.com alebo si pozrite zadnú stránku návodu, kde nájdete užitočné telefónne čísla.