Саундбары Samsung HW-S41T - инструкция пользователя по применению, эксплуатации и установке на русском языке. Мы надеемся, она поможет вам решить возникшие у вас вопросы при эксплуатации техники.
Если остались вопросы, задайте их в комментариях после инструкции.
"Загружаем инструкцию", означает, что нужно подождать пока файл загрузится и можно будет его читать онлайн. Некоторые инструкции очень большие и время их появления зависит от вашей скорости интернета.

UKR - 11
SOUND MODE
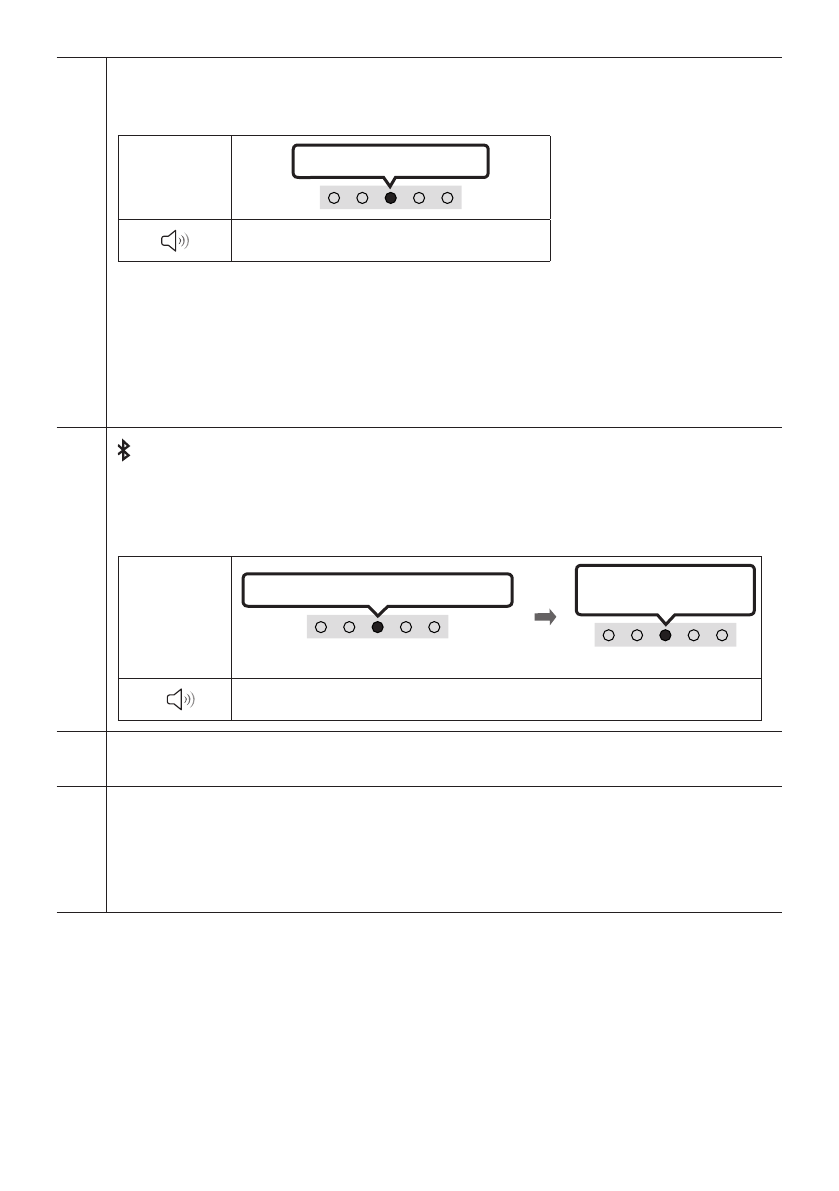
Натиснувши кнопку, можна вибрати потрібний режим аудіо. При кожній зміні режиму кольоровий
світлодіодний індикатор блимає білим.
Світлодіодний
індикатор
Білий індикатор блимає X1
«
Standard
»
«
Smart
»
«
Music
»
•
Standard
Відтворення оригінального звуку.
•
Smart
Аналізує аудіовміст у реальному часі та, зважаючи на його характеристики, автоматично
створює оптимальне звукове поле.
•
Music
Забезпечує більш природне й об’ємне звучання музичного вмісту.
Bluetooth PAIR
Перемкніть звукову панель Soundbar у режим з’єднання з пристроєм Bluetooth.
При натисканні кнопки світлодіодний екран змінюється як показано нижче.
• У процесі створення пари кольоровий світлодіодний індикатор почергово змінює свій колір:
Червоний
→
Зелений
→
Синій
.
Світлодіодний
індикатор
Червоний → Зелений → Синій блимає
Виконується утворення пари
Блакитний індикатор
блимає X3
Підключення завершено
«
Ready to connect via Bluetooth.
»
p
(
Відтворення / пауза)
За допомогою цієї кнопки можна відтворювати або призупиняти відтворення музики.
Вгору / Вниз / Ліворуч / Праворуч
Натискайте кнопки
Вгору / Вниз / Ліворуч / Праворуч
, щоб вибрати або налаштувати функції.
•
Пропуск музичного запису
Натисніть кнопку
Праворуч
для вибору наступного музичного файлу. Натисніть кнопку
Ліворуч
для вибору попереднього музичного файлу.
Содержание
- 2 МЕРЫ ПРЕДОСТОРОЖНОСТИ; ПРЕДУПРЕЖДЕНИЯ ДЛЯ
- 3 МЕРЫ
- 4 Очистка ткани
- 5 СОДЕРЖАНИЕ
- 7 ПРОВЕРКА КОМПОНЕНТОВ; Установка батареек перед использованием пульта
- 8 ОБЗОР УСТРОЙСТВА; Верхняя панель Soundbar
- 9 Нижняя панель Soundbar
- 10 Как использовать пульт дистанционного управления
- 14 ПОДКЛЮЧЕНИЕ УСТРОЙСТВА SOUNDBAR; Подключение электропитания
- 15 Подключение с помощью оптического кабеля; Перечень проверок перед подключением
- 16 Подключение по Bluetooth; Начальное подключение
- 17 Если устройство не может подключиться; Отключение устройства Soundbar от телевизора Samsung; Заметки о Bluetooth-подключении
- 18 7 ПОДКЛЮЧЕНИЕ К ВНЕШНЕМУ УСТРОЙСТВУ
- 19 8 ПОДКЛЮЧЕНИЕ МОБИЛЬНОГО УСТРОЙСТВА
- 21 Отсоединение устройства Bluetooth от устройства Soundbar; Отключение устройства Soundbar от устройства Bluetooth
- 22 Подключение нескольких устройств Bluetooth; Функция многократного сопряжения по Bluetooth
- 23 Использование функции Tap Sound; Настройка функции Tap Sound
- 26 Инициализация
- 27 ПОИСК И УСТРАНЕНИЕ НЕИСПРАВНОСТЕЙ
- 28 ЛИЦЕНЗИЯ
- 30 СПЕЦИФИКАЦИИ И РУКОВОДСТВО; Технические характеристики; Акустическая система
- 32 Дата выпуска
Характеристики
Остались вопросы?Не нашли свой ответ в руководстве или возникли другие проблемы? Задайте свой вопрос в форме ниже с подробным описанием вашей ситуации, чтобы другие люди и специалисты смогли дать на него ответ. Если вы знаете как решить проблему другого человека, пожалуйста, подскажите ему :)