Roda ILW 75 W УТ000008249 - Инструкция по эксплуатации

Roda ILW 75 W УТ000008249

Водонагреватель Roda ILW 75 W УТ000008249 - инструкция пользователя по применению, эксплуатации и установке на русском языке. Мы надеемся, она поможет вам решить возникшие у вас вопросы при эксплуатации техники.

Если остались дополнительные вопросы — свяжитесь с нами через контактную форму.

1 Страница 1
2 Страница 2
3 Страница 3
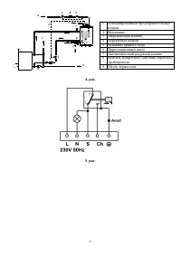
4 Страница 4
5 Страница 5
6 Страница 6
7 Страница 7
Страница: / 7

Содержание:

  • Страница 3 – обеспечивает хорошее
  • Страница 5 – A Вход первичной системы
  • Страница 7 – Hajdusagi Ipari Zrt.
Загрузка инструкции

RU








Kessel ILW



ВОДОНАГРЕВАТЕЛИ ДЛЯ ГОРЯЧЕЙ ВОДЫ КОСВЕННОГО НАГРЕВА




Настенное исполнение

Напольное исполнение

ILW 75 W

ILW 100 B

ILW 100 W

ILW 150 B

ILW 150 W

ILW 200 B

ILW 200 W







Инструкция по монтажу и эксплуатации


Необходимо внимательно прочитать данное руководство перед использованием оборудования!


"Загрузка инструкции" означает, что нужно подождать пока файл загрузится и можно будет его читать онлайн. Некоторые инструкции очень большие и время их появления зависит от вашей скорости интернета.

Краткое содержание

Страница 3 - обеспечивает хорошее

3 Предохранительный клапан не относится к поставке. На месте установки необходимо обеспечивать соответствующую водопроводную и канализационную сеть. Воду, вытекающую из предохранительного клапана, необходимо вывести в канализации. Отвод вытекающей воды не нужен только тогда, когда в систему встраива...

Страница 5 - A Вход первичной системы

5 Список патрубков: 1. Бытовая горячая вода G3/4 2. Бытовая горячая вода G3/4 3. Циркуляционный патрубок G3/4 4. Проходящая отопительная вода G1 5. Возвратная отопительная вода G1 6. Патрубок радиатора Rp6/4 2. рис. E 8 5 6 4 F B A D 7 3 C 1 2 9 G 6 8 5 9 3. рис. Тип H A Поверхность змеевика (м 2 ) ...

Страница 7 - Hajdusagi Ipari Zrt.

7 Произведено для компании Germany Адрес производственных мощностей: HAJDU Hajdusagi Ipari Zrt. HUNGARY-4243 Teglas, Kulterulet 0135/9. hrsz.

Характеристики

Другие модели - Водонагреватели Roda

Все водонагреватели Roda