Redmond RMG-1245 - Инструкция по эксплуатации

Redmond RMG-1245

Мясорубка Redmond RMG-1245 - инструкция пользователя по применению, эксплуатации и установке на русском языке. Мы надеемся, она поможет вам решить возникшие у вас вопросы при эксплуатации техники.

Если остались дополнительные вопросы — свяжитесь с нами через контактную форму.

1 Страница 1
2 Страница 2
3 Страница 3
4 Страница 4
5 Страница 5
6 Страница 6
7 Страница 7
8 Страница 8
9 Страница 9
10 Страница 10
11 Страница 11
12 Страница 12
13 Страница 13
14 Страница 14
15 Страница 15
16 Страница 16
17 Страница 17
18 Страница 18
19 Страница 19
20 Страница 20
Страница: / 20

Содержание:

  • Страница 2 – RUS; СОД Е Р Ж А Н И Е
  • Страница 8 – У В А Ж А Е М Ы Й П О К У П АТ Е Л Ь!; М Е Р Ы Б Е З О П АС Н О СТ И
  • Страница 9 – Технические характеристики; Комплектация
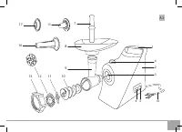
  • Страница 10 – Устройство прибора; I. ПЕРЕД НАЧАЛОМ ИСПОЛЬЗОВАНИЯ
  • Страница 11 – III. УХОД ЗА ПРИБОРОМ; Хранение и транспортировка; IV. ПЕРЕД ОБРАЩЕНИЕМ В СЕРВИС; V. ГАРАНТИЙНЫЕ ОБЯЗАТЕЛЬСТВА
Загрузка инструкции

RUS
UKR
KAZ

Мясорубка

RMG-1245

Руководство по эксплуатации

Если вы не получили требуемое качество обслуживания

в сервисе, обращайтесь в головной сервисный центр

по контактным данным, указанным в условиях гаран

-

тийного обслуживания

"Загрузка инструкции" означает, что нужно подождать пока файл загрузится и можно будет его читать онлайн. Некоторые инструкции очень большие и время их появления зависит от вашей скорости интернета.

Краткое содержание

Страница 2 - RUS; СОД Е Р Ж А Н И Е

......................................................................... 8....................................................................... 12....................................................................... 16 RUS UKRKAZ СОД Е Р Ж А Н И Е МЕРЫ БЕЗОПАСНОСТИ ................................

Страница 8 - У В А Ж А Е М Ы Й П О К У П АТ Е Л Ь!; М Е Р Ы Б Е З О П АС Н О СТ И

8 У В А Ж А Е М Ы Й П О К У П АТ Е Л Ь! Благодарим вас за то, что отдали предпочтение бытовой технике REDMOND.REDMOND – это качество, надежность и неизменно внимательное отношение к потребно - стям клиентов. Надеемся, что вам понравится продукция компании и вы также будете выбирать наши изделия в бу...

Страница 9 - Технические характеристики; Комплектация

RMG-1245 9 RUSUKRKAZ ВНИМАНИЕ! Не касайтесь вращающихся частей прибора! До - ждитесь, пока вращение полностью прекратится. Не опускай - те посторонние предметы в отверстие для подачи продук - тов. Будьте аккуратны при использовании. • Не проталкивайте продукты в загрузочное отверстие руками или по -...

Характеристики

Другие модели - Мясорубки Redmond

Все мясорубки Redmond