Радиоприемники Panasonic KX-TCM438 - инструкция пользователя по применению, эксплуатации и установке на русском языке. Мы надеемся, она поможет вам решить возникшие у вас вопросы при эксплуатации техники.
Если остались вопросы, задайте их в комментариях после инструкции.
"Загружаем инструкцию", означает, что нужно подождать пока файл загрузится и можно будет его читать онлайн. Некоторые инструкции очень большие и время их появления зависит от вашей скорости интернета.

14
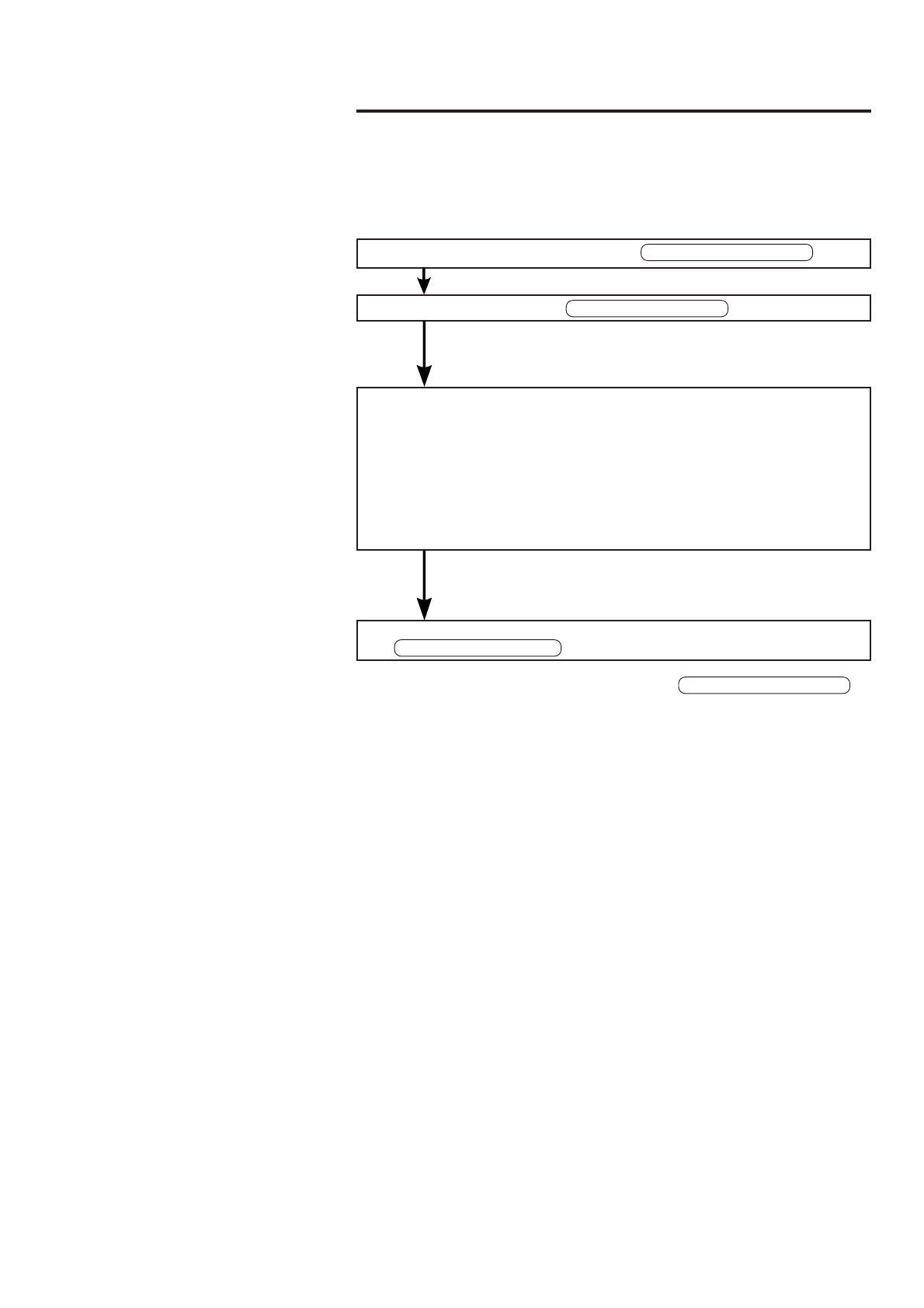
Êðàòêîå îïèñàíèå ïðîöåäóð ïðîãðàììèðîâàíèÿ
Ïîäðîáíîå îïèñàíèå ñìîòðèòå íà ñòðàíèöàõ óêàçàííûõ â ñêîáêàõ.
Ïåðåä ïðîãðàììèðîâàíèåì óáåäèòåñü, ÷òî èíäèêàòîð TALK íå ãîðèò.
Íà òåëåôîííîé òðóáêå íàæìèòå
PROGRAM/2WAY REC .
Íàæìèòå
SCREEN/PLAYBACK .
•••••
Åñëè âû óñëûøèòå ïðåäóïðåæäàþùèé ñèãíàë,
ïîäîéäèòå áëèæå ê áàçå è ïîâòîèòå îïåðàöèè ñíîâà.
•••••
Ââîä äèñòàíöèîííîãî êîäà
, íàæìèòå 1
(ñòð. 34)
•••••
Êîëè÷åñòâî ãóäêîâ
, íàæìèòå 2
(ñòð. 15)
•••••
Ôóíêöèÿ ÑÐÑ
, íàæìèòå 3
(ñòð. 17)
•••••
Ôóíêöèÿ òðàíñëÿöèè ñîîáùåíèé
, íàæìèòå 4
(ñòð. 18)
•••••
Ïðîäîëæèòåëüíîñòü çàïèñè
çâîíÿùåãî
, íàæìèòå 5
(ñòð. 16)
•••••
Íîìåð ïåéäæåðà
, íàæìèòå #
(ñòð. 32)
•••••
Åñëè ïðîçâó÷èò 6 çâóêîâûõ ñèãíàëîâ, çíà÷èò âû íàæà-
ëè íåïðàâèëüíóþ êíîïêó. Ïîïðîáóéòå ñíîâà.
Êîãäà ïðîãðîãðàììèðîâàíèå çàêîí÷åíî íàæìèòå
PROGRAM/2WAY REC
. Ïðîçâó÷èò ñèãíàë ïîäòâåðæäåíèÿ.*
•••••
Äëÿ îòêàçà îò ïðîãðàììèðîâàíèÿ íàæìèòå
PROGRAM/2WAY REC
íà
ëþáîì ýòàïå, çàòåì ïîâòîðèòå ñíà÷àëà.
*Çíà÷åíèå ñèãíàëîâ ïîäòâåðæäåíèÿ
1 çâóêîâîé ñèãíàë:
Íîâûé íîìåð ñîõðàíåí.
2 çâóêîâûõ ñèãíàëà: Íîìåð ñîâïàäàåò ñ îäíèì èç ðàíåå ñîõðàíåííûõ.
Äëÿ ïîäòâåðæäåíèÿ òåêóùåé íàñòðîéêè ïîâòîðèòå òå æå øàãè è ïðîñëó-
øàéòå ïîäòâåðæäàþùèé çâóêîâîé ñèãíàë.
Íà÷àëüíûå óñòàíîâêè