Пылесос Supra VCS-2085 - инструкция пользователя по применению, эксплуатации и установке на русском языке. Мы надеемся, она поможет вам решить возникшие у вас вопросы при эксплуатации техники.
Если остались вопросы, задайте их в комментариях после инструкции.
"Загружаем инструкцию", означает, что нужно подождать пока файл загрузится и можно будет его читать онлайн. Некоторые инструкции очень большие и время их появления зависит от вашей скорости интернета.

Руководс тво по эксплуатации
4
коМпЛектаЦия
Гибкий шланг............................................. 1
Телескопическая трубка ........................... 1
Пылесос ..................................................... 1
Инструкция по эксплуатации ................... 1
Набор насадок
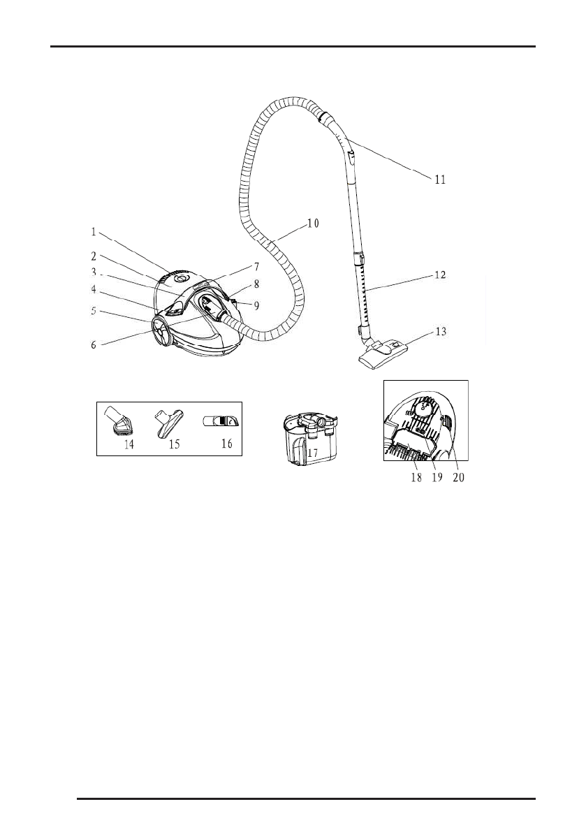
УстРоЙстВо пЫЛесоса
1. Отверстие для выдувания
2. Задняя крышка
3. Ручка
4. Кнопка автоматической смотки шнура
5. Колесо
6. Воздухоприемное отверстие
7. Регулятор мощности
8. Кнопка включения/выключения
9. Крепление для щетки при парковке
10. Гибкий шланг
11. Ручка телескопической трубки
12. Телескопическая трубка
13. Щетка для чистки пола/ковра
14. Малая насадка-щетка
15. Малая насадка
16. Комбинированная насадка
17. Бак для воды
18. Крышка НЕРА фильтра
19. Фиксатор крышки НЕРА фильтра
20. Воздухозаборные отверстия