Пылесос Samsung VS15T7035R7 - инструкция пользователя по применению, эксплуатации и установке на русском языке. Мы надеемся, она поможет вам решить возникшие у вас вопросы при эксплуатации техники.
Если остались вопросы, задайте их в комментариях после инструкции.
"Загружаем инструкцию", означает, что нужно подождать пока файл загрузится и можно будет его читать онлайн. Некоторые инструкции очень большие и время их появления зависит от вашей скорости интернета.

УСТ
АН
ОВКА
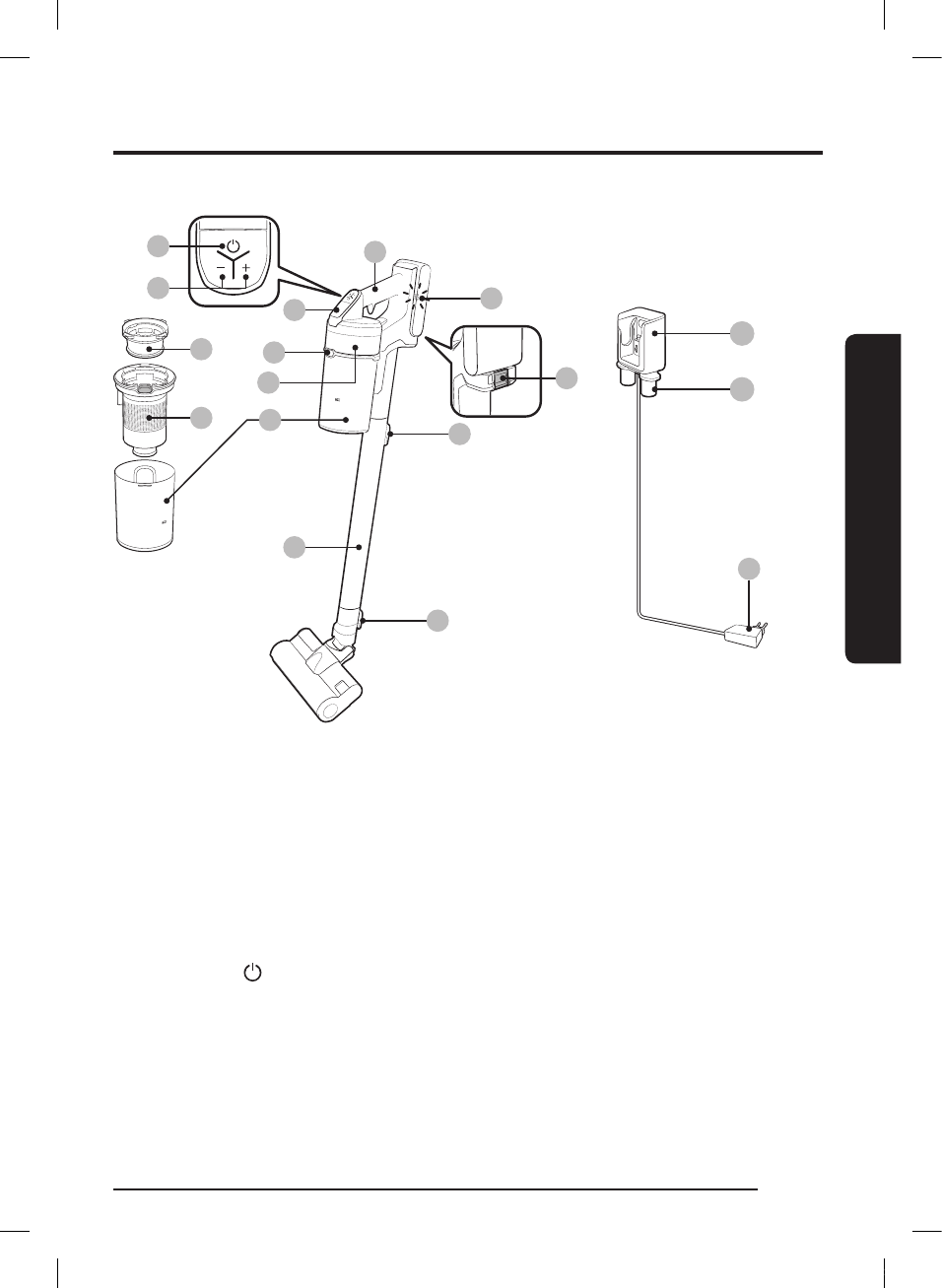
Компоненты устройства
УСТАНОВКА
01
Трубка
02
Контейнер для пыли
03
Сетчатый фильтр из металлической сетки
04
Моющийся микрофильтр
05
Фильтр ультратонкой очистки
06
Кнопка защелки контейнера для пыли
07
Дисплей
08
Кнопка питания ( )
09
Кнопка регулировки мощности всасывания
10
Ручка
11
Индикатор уровня заряда аккумулятора
12
Кнопка защелки аккумулятора
13
Кнопка защелки трубки
14
Кнопка защелки щетки
15
Зарядное устройство для пылесоса
16
Держатель для принадлежностей
17
Зарядное устройство
15
16
10
12
14
01
02
05
06
07
08
09
13
11
04
03
❇
❇
Технические характеристики аккумулятора
Серия VS20T75****: литий-ионная аккумуляторная батарея, 21,9 В, 2850 мА·ч, 6 элементов
Серия VS15T70****: литий-ионная аккумуляторная батарея, 21,6 В, 1800 мА·ч, 6 элементов
❇
❇
Две указанные аккумуляторные батареи несовместимы друг с другом.
17
Русский 13
1_VS7000_RU_00837A-03_CIS.indd 13
2021-09-15 오후 2:18:06