Пылесос Jet 70 complete VS15T7036R5 - инструкция пользователя по применению, эксплуатации и установке на русском языке. Мы надеемся, она поможет вам решить возникшие у вас вопросы при эксплуатации техники.
Если остались вопросы, задайте их в комментариях после инструкции.
"Загружаем инструкцию", означает, что нужно подождать пока файл загрузится и можно будет его читать онлайн. Некоторые инструкции очень большие и время их появления зависит от вашей скорости интернета.

УСТ
АН
ОВКА
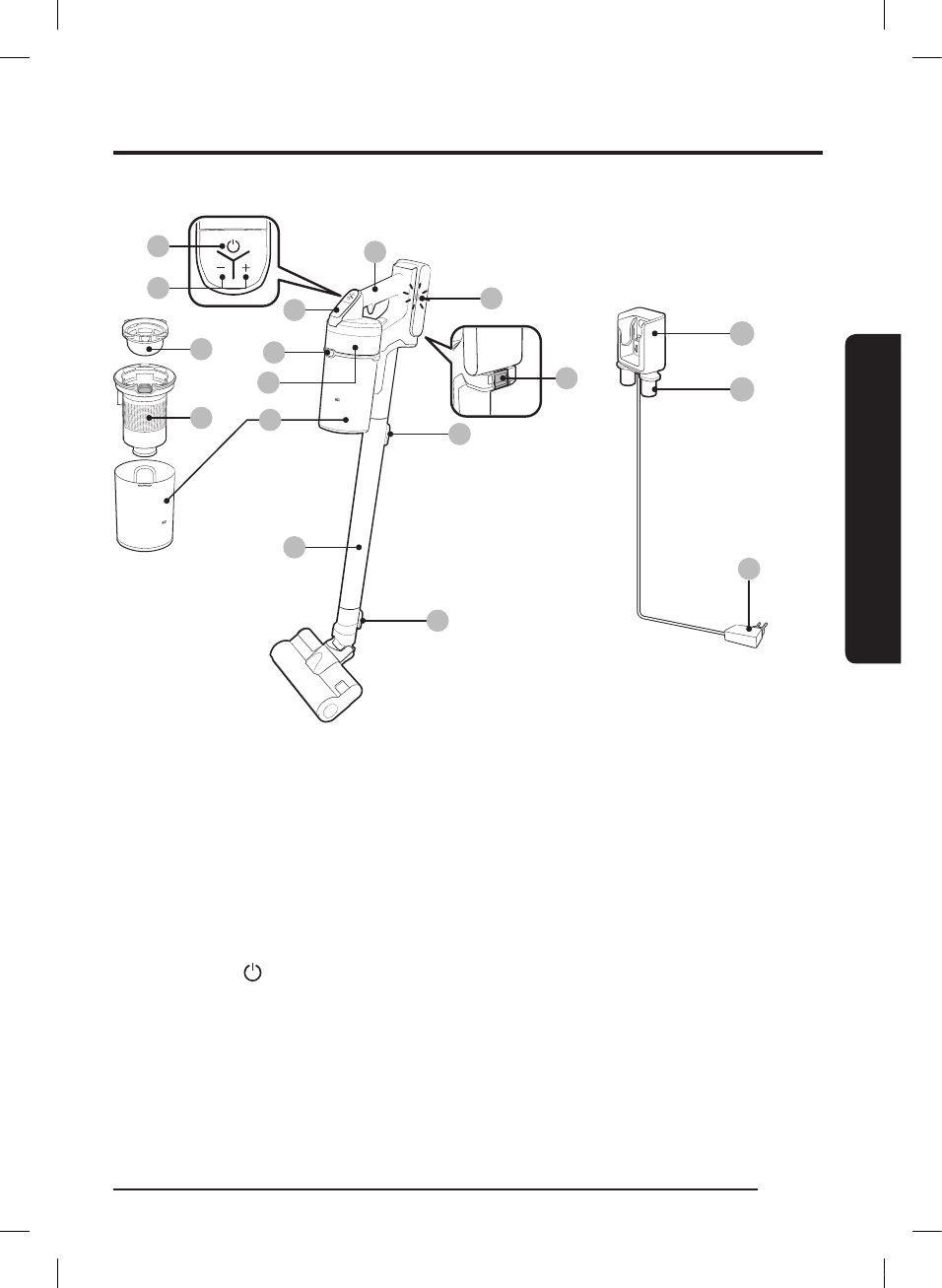
Компоненты устройства
УСТАНОВКА
01
Трубка
02
Контейнер для пыли
03
Сетчатый фильтр из металлической сетки
04
Моющийся микрофильтр
05
Фильтр ультратонкой очистки
06
Кнопка защелки контейнера для пыли
07
Дисплей
08
Кнопка питания ( )
09
Кнопка регулировки мощности всасывания
10
Ручка
11
Индикатор уровня заряда аккумулятора
12
Кнопка защелки аккумулятора
13
Кнопка защелки трубки
14
Кнопка защелки щетки
15
Зарядное устройство для пылесоса
16
Держатель для принадлежностей
17
Зарядное устройство
15
16
10
12
14
01
02
05
06
07
08
09
13
11
04
03
❇
❇
Технические характеристики аккумулятора
Серия VS20T75****: литий-ионная аккумуляторная батарея, 21,9 В, 2850 мА·ч, 6 элементов
Серия VS15T70****: литий-ионная аккумуляторная батарея, 21,6 В, 1800 мА·ч, 6 элементов
❇
❇
Две указанные аккумуляторные батареи несовместимы друг с другом.
17
Русский
13
1_VS7000_RU_00837A-01_CIS.indd 13
2020-01-17 오전 6:17:42
Содержание
- 2 Содержание; ПОДГОТОВКА
- 3 Меры предосторожности; Используемые предостерегающие/предупреждающие символы; В тексте содержится важная дополнительная информация.
- 4 Общие сведения; ПРЕДУПРЕЖДЕНИЕ. Не используйте пылесос на влажном ковре или полу.
- 5 Не используйте пылесос для сбора воды.
- 6 Настенное крепление; Не используйте устройство на улице или на влажной поверхности.; Пылесос
- 7 Установка; поражению электрическим током.
- 8 Эксплуатация; устройства или поражению электрическим током.
- 9 Используйте настенное крепление только по прямому назначению.
- 10 ВНИМАНИЕ; пепельницами с непогашенными сигаретами и т. д.
- 11 Не храните пылесос в автомобиле.
- 12 Обслуживание; обратитесь в сервисный центр Samsung.
- 13 Компоненты устройства
- 14 Принадлежности
- 15 Установка настенного крепления; Сборка настенного крепления
- 16 Использование пылесоса; Использование настенного крепления; Зарядка
- 17 Зарядка аккумулятора; Извлечение аккумулятора; Установка аккумулятора
- 18 Регулировка мощности всасывания
- 19 Использование принадлежностей; Разборка принадлежностей; Мягкая щетка; Щетка «Турбо»; Механизированная мини-насадка
- 20 Комбинированная насадка; Щелевая насадка-удлинитель; Гибкая насадка
- 21 Щетка для влажной уборки
- 22 Обслуживание пылесоса
- 24 Очистка фильтра; Моющийся микрофильтр; Очистка принадлежностей
- 26 Использование аккумулятора; Не пытайтесь разбирать аккумулятор или настенное крепление.; Примечания и предупреждения
- 27 устройства или получению травм.; использовался в течение длительного времени.
- 28 – Если ваша рука застрянет, вы можете получить травму.
- 29 сервисный центр Samsung.
- 30 Поиск и устранение неисправностей
- 32 Технические характеристики и параметры
Характеристики
Остались вопросы?Не нашли свой ответ в руководстве или возникли другие проблемы? Задайте свой вопрос в форме ниже с подробным описанием вашей ситуации, чтобы другие люди и специалисты смогли дать на него ответ. Если вы знаете как решить проблему другого человека, пожалуйста, подскажите ему :)