Пылесос LG CordZero A9N-Core - инструкция пользователя по применению, эксплуатации и установке на русском языке. Мы надеемся, она поможет вам решить возникшие у вас вопросы при эксплуатации техники.
Если остались вопросы, задайте их в комментариях после инструкции.
"Загружаем инструкцию", означает, что нужно подождать пока файл загрузится и можно будет его читать онлайн. Некоторые инструкции очень большие и время их появления зависит от вашей скорости интернета.

19
RU
RU
8
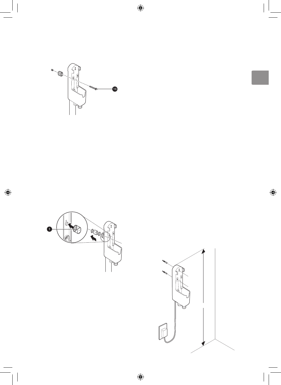
Закрепите зарядную станцию на стене
крепежным винтом для стойки
j
.
9
Подключите кабель питания к розетке.
используйте двусторонний скотч
Для прикрепления крепежного блока для стены
a
к зарядной станции и к стене используйте
двусторонний скотч.
•
Не используйте двусторонний скотч на обоях.
•
Извлеките центральную секцию
двустороннего скотча. Прикрепите крепежный
блок к зарядной станции с помощью скотча.
•
Закрепите вторую часть двустороннего
скотча на настенном крепежном блоке и
используйте его, чтобы временно закрепить
зарядную станцию на стене в нужном месте.
Настенная установка
При настенной установке зарядную станцию
необходимо прочно закрепить на стене с
помощью поставляемых в комплекте (коротких)
крепежных винтов для стены.
1
Подключите адаптер питания к разъему на
задней стороне зарядной станции.
2
Перед сверлением отверстий
удостоверьтесь, что в месте сверления
внутри стены отсутствуют трубы или
электрическая проводка.
3
Зарядная станция должна располагаться
не менее чем в 1 м от пола на достаточно
близком расстоянии от розетки, чтобы до
нее дотягивался шнур питания. Отметьте на
стене положение отверстий под винты.
4
Просверлите 2 отверстия в отмеченных
местах и вставьте в них дюбель для
соответствующей поверхности стены.
•
Перед сверлением отверстий
удостоверьтесь, что в месте сверления
внутри стены отсутствуют трубы или
электрическая проводка.
•
Для дюбеля для гипсокартона:
используйте сверло 6,5 мм.
•
Рекомендуемый диаметр отверстия: 6,5 мм
•
Рекомендуемая глубина: 60 мм
•
При закручивании винтов в гипсокартон
используйте дюбели для гипсокартона.
1m
Содержание
- 43 СОДЕРЖАНИЕ; ТЕХНИКА БЕЗОПАСНОСТИ
- 44 Сообщения по технике безопасности; Чтение сообщений по технике безопасности
- 45 Перезаряжаемый литий-ионный аккумулятор
- 46 Установка
- 47 Эксплуатация
- 52 Моющая насадка
- 54 Компоненты и их характеристики; Напольный вариант; УСТАНОВКА
- 55 Принадлежности
- 57 Технические характеристики
- 58 Напольная установка
- 60 Настенная установка
- 61 Компактная установка
- 62 Сборка прибора; Хранение; Хранение насадок
- 64 ЭКСПЛУАТАЦИЯ; Начало работы; Подготовка к использованию
- 66 Зарядка аккумулятора
- 71 Использование насадок
- 72 Мини турбо насадка; Использование
- 75 ТЕХНИЧЕСКОЕ ОБСЛУЖИВАНИЕ; Чистка прибора; Подготовка к чистке прибора
- 76 Очистка фильтров
- 81 Очистка моющей насадки
- 82 Перед обращением в сервисный центр; Руководство по поиску и устранению неисправностей; ПОИСК И УСТРАНЕНИЕ НЕИСПРАВНОСТЕЙ













