Пылесос AEG TC310 - инструкция пользователя по применению, эксплуатации и установке на русском языке. Мы надеемся, она поможет вам решить возникшие у вас вопросы при эксплуатации техники.
Если остались вопросы, задайте их в комментариях после инструкции.
"Загружаем инструкцию", означает, что нужно подождать пока файл загрузится и можно будет его читать онлайн. Некоторые инструкции очень большие и время их появления зависит от вашей скорости интернета.

2
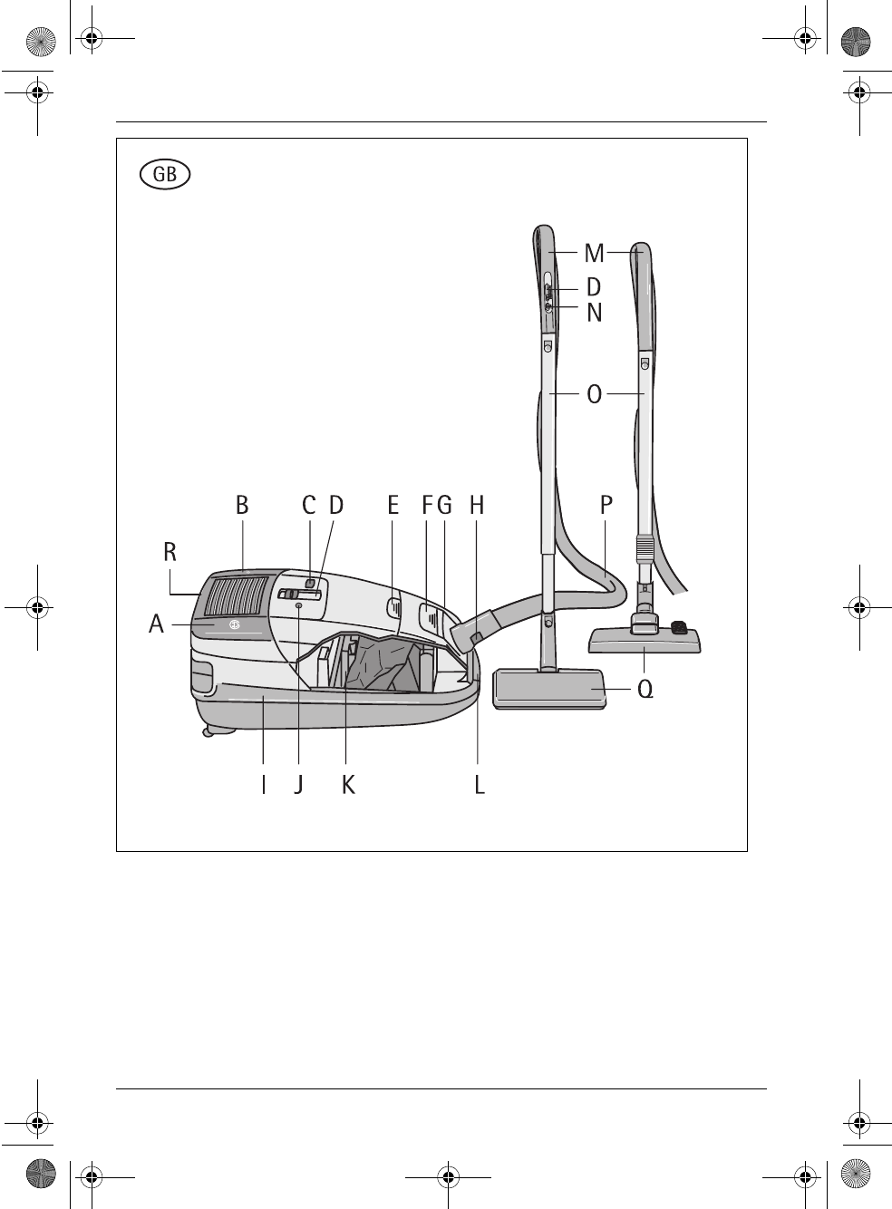
Depending on the model, the equipment marked with * may be different or not available.
A
= Cable Retraction Button
B
= On/Off Button
C
= Filter Replacement Indicator*
D
= Power Regulation*
E
= Button to Open the Accessory Compart-
ment
F
= Button to Open the Paper Filter Compart-
ment
G
= Socket for Electrical Vacuum Brush*
H
= Button for Hose Release*
I
= Tool Rail
J
= Power Indicator Light*
K
= Hygiene Filter
L
= Carrying Handle
M
= Handle
N
= ROTOSOFT Remote Control*
O
= Telescopic Tube*
P
= Suction Hose
Q
= Noz z le*
R
= Button for Filter Box Lid
949126ts.book Seite 2 Dienstag, 12. Dezember 2000 11:01 11
 
  
  
  
  
  
  
  
  
  
  
  
  
  
  
  
  
  
  
  
  
  
  
  
  
  
  
  
  
  
  
  
  
  
  
  
  
  
  
  
  
  
  
  
  
  
  
  
  
  
 











