Пылесос Galaxy GL 6255 - инструкция пользователя по применению, эксплуатации и установке на русском языке. Мы надеемся, она поможет вам решить возникшие у вас вопросы при эксплуатации техники.
Если остались вопросы, задайте их в комментариях после инструкции.
"Загружаем инструкцию", означает, что нужно подождать пока файл загрузится и можно будет его читать онлайн. Некоторые инструкции очень большие и время их появления зависит от вашей скорости интернета.

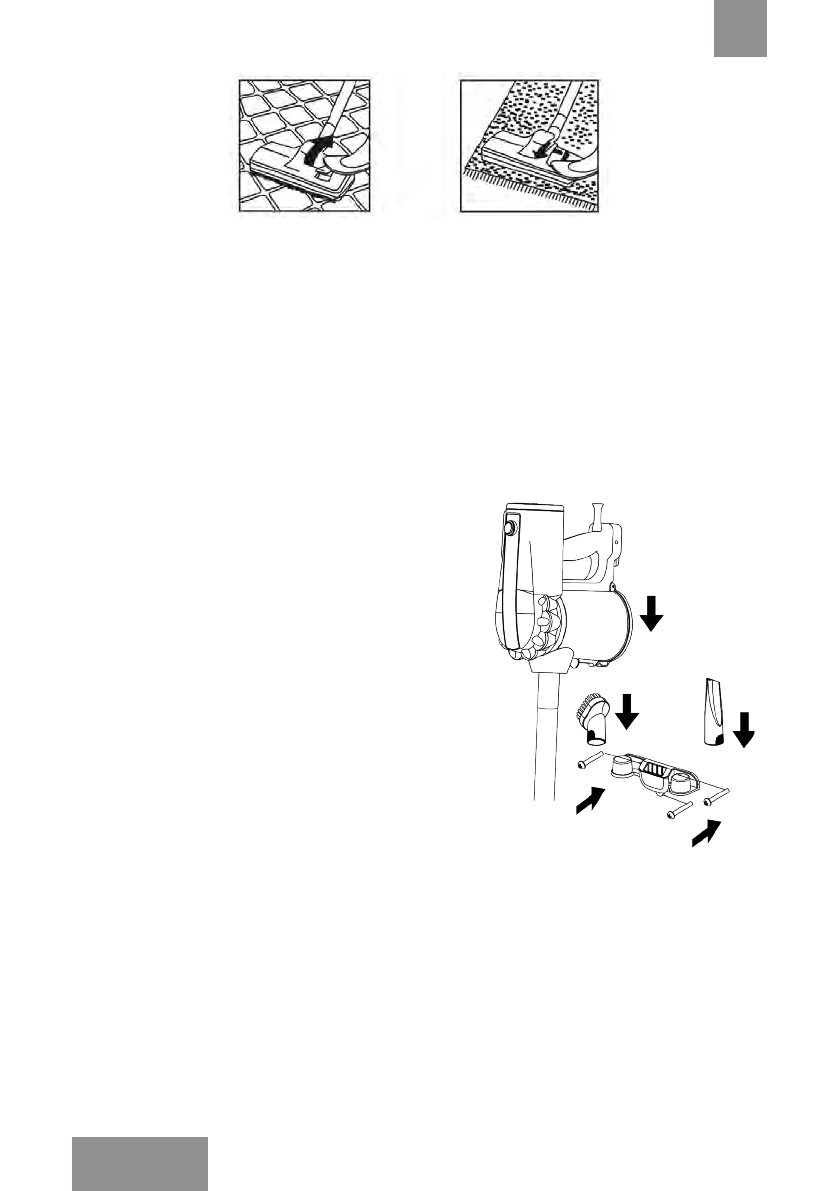
рис.1
Универсальная щётка для пола/ковровых покрытий
4. Установите переключатель в необходимое положение (в зависимости от
типа поверхности, на которой производится уборка) (рис.1).
Щелевая насадка предназначена для чистки радиаторов, щелей, углов.
Насадка-щетка для мебели предназначена для сбора пыли с поверхности
мебели, при этом наличие ворса на щётке препятствует повреждению
полированной поверхности мебели.
ЭКСПЛУАТАЦИЯ ЭЛЕКТРОПРИБОРА
Перед началом работы размотайте сетевой
провод на всю длину и вставьте вилку се-
тевого провода в электрическую розетку.
Для включения пылесоса нажмите на кноп-
ку включения/выключения. По окончании
уборки в помещении нажмите на кнопку
включения/выключения и отсоедините вил-
ку от электрической сети.
Настенное крепление
Для удобства хранения Вы можете закре-
пить идущую в комплекте планку к стене
(рис. 2).
ВНИМАНИЕ!
Устройство предназначено
только для бытового использования.
рис.2
ХРАНЕНИЕ И ТЕХНИЧЕСКОЕ
ОБСЛУЖИВАНИЕ
- Хранить прибор нужно в сухом месте, недоступном для детей и животных.
- Для чистки прибора не используйте чистящие средства, которые могут
повредить поверхность прибора.
RUS
6
6
РУКОВОДСТВО ПО ЭКCПЛУАТАЦИИ
Содержание
- 4 МЕРЫ ПРЕДОСТОРОЖНОСТИ
- 6 ЭКСПЛУАТАЦИЯ ЭЛЕКТРОПРИБОРА; ХРАНЕНИЕ И ТЕХНИЧЕСКОЕ
- 10 ТЕХНИЧЕСКИЕ ХАРАКТЕРИСТИКИ