Проигрыватели Sony BDP-S370 - инструкция пользователя по применению, эксплуатации и установке на русском языке. Мы надеемся, она поможет вам решить возникшие у вас вопросы при эксплуатации техники.
Если остались вопросы, задайте их в комментариях после инструкции.
"Загружаем инструкцию", означает, что нужно подождать пока файл загрузится и можно будет его читать онлайн. Некоторые инструкции очень большие и время их появления зависит от вашей скорости интернета.

8
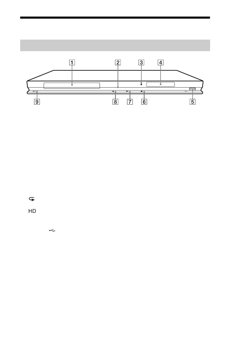
Указатель компонентов и регуляторов
z
На кнопке
N
имеется тактильная точка. Используйте тактильную точку в качестве
ориентира при управлении проигрывателем.
A
Отсек для дисков
B
Индикатор питания
Высвечивается белым цветом,
когда проигрыватель включен.
C
Датчик дистанционного
управления
D
Дисплей передней панели
N
,
X
: Высвечивается во время
воспроизведения или паузы.
: Высвечивается при активации
повторной настройки.
: Высвечивается при выводе
видеосигналов формата 720p/1080i/
1080p.
E
Гнездо
(USB)
Подсоедините устройство USB к
данному гнезду.
F
x
(остановка)
G
N
(воспроизведение)
H
Z
(открывание/закрывание)
I
[
/
1
(вкл./режим ожидания)
Включение проигрывателя или
установка режима ожидания.
Для блокировки отсека для
дисков (запрет детям)
Вы можете заблокировать отсек для
дисков, чтобы предотвратить его
случайное открывание.
Когда проигрыватель включен,
удерживайте нажатой кнопку
N
на
проигрывателе в течение более
10 секунд. Отсек для дисков будет
заблокирован или разблокирован.
Передняя панель
Содержание
- 3 Примечания о дисках
- 4 Об установке
- 7 Оглавление; Подключения и установки
- 8 Указатель компонентов и регуляторов; Отсек для дисков; Гнездо; Передняя панель
- 9 Задняя панель
- 10 входного сигнала телевизора)
- 13 Подключения и
- 14 Пункт 2: Подключение проигрывателя; Подключение к телевизору
- 17 Для установки сетевых настроек
- 19 Воспроизведение; Нажмите кнопку
- 20 Текущий выбранный ракурс
- 21 Выберите опцию
- 22 Имя следующего видеофайла
- 23 Доступные опции; Общие опции
- 25 Установки и; Выберите
- 26 Настройки; Тип ТВ
- 27 Формат изображения DVD
- 28 Аудионастройки
- 29 Звук DRC
- 30 Понижающее микширование; Установки; Звук
- 31 Пароль
- 33 Уведомление об обновлении ПО; Сетевые; Настройки Интернет
- 34 Упрощенная
- 35 Дополнительная; Изображение
- 36 Диск не воспроизводится.
- 38 Прочее
- 39 Система; Входы и выходы; Общие характеристики
- 40 Прилагаемые принадлежности
- 41 Видео
- 43 Отсутствие защиты
- 45 Список кодов языков; Родительский контроль/код региона
- 46 Символы












