Проигрыватели LG DV3781 - инструкция пользователя по применению, эксплуатации и установке на русском языке. Мы надеемся, она поможет вам решить возникшие у вас вопросы при эксплуатации техники.
Если остались вопросы, задайте их в комментариях после инструкции.
"Загружаем инструкцию", означает, что нужно подождать пока файл загрузится и можно будет его читать онлайн. Некоторые инструкции очень большие и время их появления зависит от вашей скорости интернета.

6
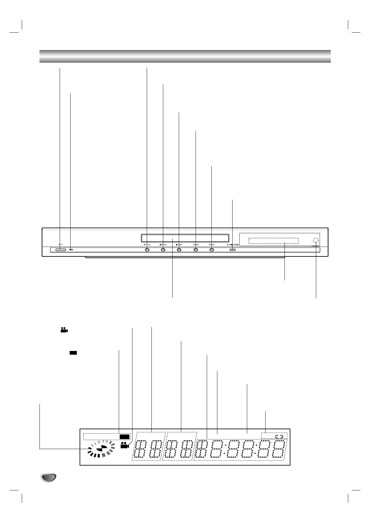
è‰Ìflfl Ô‡ÌÂθ/ÑËÒÔÎÂÈ
TITLE
MP3 VCD
CD
PROG.
RANDOM ALL A
B
CHP/TRK
DVD
ì͇Á˚‚‡ÂÚ ÚÂÍÛ˘Û˛
ÙÛÌÍˆË˛ Ô·:
ÇÓÒÔÓËÁ‚‰ÂÌËÂ,
Ô‡ÛÁ‡ Ë Ú.‰.
îÛÌ͈Ëfl ‚˚·Ó‡ ‡ÍÛÒ‡
ÇÒÚ‡‚ÎÂÌ DVD
CD
ÇÒÚ‡‚ÎÂÌ ‡Û‰ËÓ CD
VCD
ÇÒÚ‡‚ÎÂÌ ‚ˉÂÓ CD
MP3
ÇÒÚ‡‚ÎÂÌ ‰ËÒÍ MP3 ËÎË
WMA
DVD
êÄáÑÖã
ì͇Á˚‚‡ÂÚ ÌÓÏ ÚÂÍÛ˘Â„Ó ‡Á‰Â·
ÉãÄÇÄ/íêÖä
çÓÏ ÚÂÍÛ˘ÂÈ „·‚˚ ËÎË ÚÂ͇
èÓÎÌÓ ‚ÂÏfl ‚ÓÒÔÓËÁ‚‰ÂÌËfl/Ôӯ‰¯Â ‚ÂÏfl
èêéÉ.
á‡ÔÓ„‡ÏÏËÓ‚‡ÌÌÓ ‚ÓÒÔÓËÁ‚‰ÂÌËÂ
èêéàáÇéãúçé
ÇÍβ˜ÂÌÓ
‚ÓÒÔÓËÁ‚‰ÂÌË ‚ ÒÎÛ˜‡ÈÌÓÏ
ÔÓfl‰ÍÂ
ì͇Á˚‚‡ÂÚ ÂÊËÏ
ÔÓ‚ÚÓÂÌËfl
à̉Ë͇ÚÓ ÔËÚ‡ÌËfl
áÂÎÂÌ˚È Ë̉Ë͇ÚÓ
ÓÁ̇˜‡ÂÚ, ˜ÚÓ DVD
ÔÓË„˚‚‡ÚÂθ ‚Íβ˜ÂÌ.
èàíÄçàÖ
ÇÍβ˜‡ÂÚ Ë
‚˚Íβ˜‡ÂÚ ÔÎÂÂ.
éíäêõíú/áÄäêõíú (
/
/
)
éÚÍ˚‚‡ÂÚ ËÎË Á‡Í˚‚‡ÂÚ
Í˚¯ÍÛ ÓÚ‰ÂÎÂÌËfl ‰Îfl ‰ËÒ͇.
èÓÍÛÚ͇ / Ò͇ÌËÓ‚‡ÌË ‚ ÔflÏÓÏ
̇ԇ‚ÎÂÌËË (
T
T
/
R
R
)
èÂÂÈÚË Í ÒÎÂ‰Û˛˘ÂÈ ‰ÓÓÊÍÂ/˜‡ÒÚË.
ÑÎfl ‚˚ÁÓ‚‡ ÙÛÌ͈ËË ÔÓËÒ͇ ̇ÊÏËÚ Ë
Û‰ÂÊË‚‡ÈÚ ÍÌÓÔÍÛ Ì ÏÂÌ ‰‚Ûı ÒÂÍÛ̉.
èÓÔÛÒÍ/ÔÓÍÛÚ͇ (
Q
Q
/
S
S
)
ÇÓÁ‚‡˘ÂÌËÂ Í Ì‡˜‡ÎÛ ÚÂÍÛ˘ÂÈ ˜‡ÒÚË
ËÎË Í Ô‰˚‰Û˘ÂÈ ˜‡ÒÚË/ ÚÂÍÛ.
ÑÎfl ‚˚ÁÓ‚‡ ÙÛÌ͈ËË Ó·‡ÚÌÓ„Ó ÔÓËÒ͇ ̇ÊÏËÚ Ë
Û‰ÂÊË‚‡ÈÚ ÍÌÓÔÍÛ Ì ÏÂÌ ‰‚Ûı ÒÂÍÛ̉.
ëíéè (
9
9
)
éÒڇ̇‚ÎË‚‡ÂÚ ‚ÓÒÔÓËÁ‚‰ÂÌËÂ.
èÄìáÄ (
;
;
)
ÇÂÏÂÌÌÓ ÔËÓÒڇ̇‚ÎË‚‡ÂÚ
‚ÓÒÔÓËÁ‚‰ÂÌËÂ/̇ÊËχÈÚ ÔÓ‚ÚÓÌÓ
‰Îfl ÔÓ¯‡„Ó‚Ó„Ó ‚ÓÒÔÓËÁ‚‰ÂÌËfl.
ÇéëèêéàáÇÖÑÖçàÖ (
2
2
)
燘Ë̇ÂÚ ‚ÓÒÔÓËÁ‚‰ÂÌËÂ.
ãÓÚÓÍ ‰Îfl ‰ËÒÍÓ‚.
벉‡ Í·‰ÂÚÒfl ‰ËÒÍ.
ÑËÒÔÎÂÈÌÓÂ ÓÍÌÓ
éÚÓ·‡Ê‡ÂÚ ÚÂÍÛ˘Â ÒÓÒÚÓflÌËÂ.
чژËÍ ÔÛθڇ Ñì