Проигрыватели Lenco LS-55WA - инструкция пользователя по применению, эксплуатации и установке на русском языке. Мы надеемся, она поможет вам решить возникшие у вас вопросы при эксплуатации техники.
Если остались вопросы, задайте их в комментариях после инструкции.
"Загружаем инструкцию", означает, что нужно подождать пока файл загрузится и можно будет его читать онлайн. Некоторые инструкции очень большие и время их появления зависит от вашей скорости интернета.

6
RU
СОДЕРЖИМОЕ УПАКОВКИ
Проверьте, что перечисленные ниже предметы входят в комплект упаковки:
♦ Адаптер питания
♦ Адаптер на 45 об/мин
ПРОЧТИТЕ
ДАННОЕ
РУКОВОДСТВО
ПО
ЭКСПЛУАТАЦИИ
ПЕРЕД
ИСПОЛЬЗОВАНИЕМ ПРОИГРЫВАТЕЛЯ
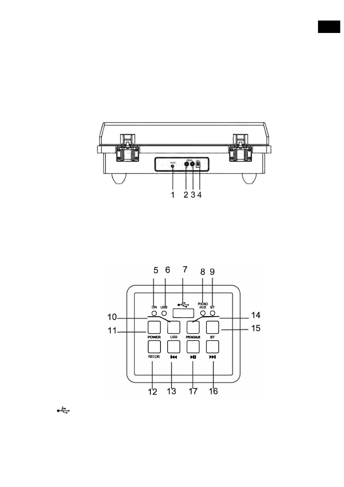
ЗАДНЯЯ ПАНЕЛЬ
1. AUX IN (ВХОД AUX)
3. LINE OUT «L» (ЛИНЕЙНЫЙ ВЫХОД
ЛЕВОГО КАНАЛА)
2. LINE OUT «R» (ЛИНЕЙНЫЙ ВЫХОД
ПРАВОГО КАНАЛА)
4. DC 9V/1500 mA (ВЫХОД ПИТАНИЯ 9 В
ПОСТ. ТОКА/1500 МА)
ПЕРЕДНЯЯ ЛЕВАЯ ПАНЕЛЬ
5. ON (ИНДИКАТОР ПИТАНИЯ)
7.
(USB-РАЗЪЕМ)
9. BT (ИНДИКАТОР РАБОТЫ
BLUETOOTH)
11. POWER (КНОПКА
ВКЛЮЧЕНИЯ/ВЫКЛЮЧЕНИЯ
6. USB (ИНДИКАТОР
ВОСПРОИЗВЕДЕНИЯ ЧЕРЕЗ USB)
8. PHONO/AUX (ИНДИКАТОР РАБОТЫ
ПРОИГРЫВАТЕЛЯ ПЛАСТИНОК/AUX-
ВХОДА)
10. USB (КНОПКА
Характеристики
Остались вопросы?Не нашли свой ответ в руководстве или возникли другие проблемы? Задайте свой вопрос в форме ниже с подробным описанием вашей ситуации, чтобы другие люди и специалисты смогли дать на него ответ. Если вы знаете как решить проблему другого человека, пожалуйста, подскажите ему :)












