Проекторы NEC NP3200 - инструкция пользователя по применению, эксплуатации и установке на русском языке. Мы надеемся, она поможет вам решить возникшие у вас вопросы при эксплуатации техники.
Если остались вопросы, задайте их в комментариях после инструкции.
"Загружаем инструкцию", означает, что нужно подождать пока файл загрузится и можно будет его читать онлайн. Некоторые инструкции очень большие и время их появления зависит от вашей скорости интернета.

83
7. Использование дополнительных объективов
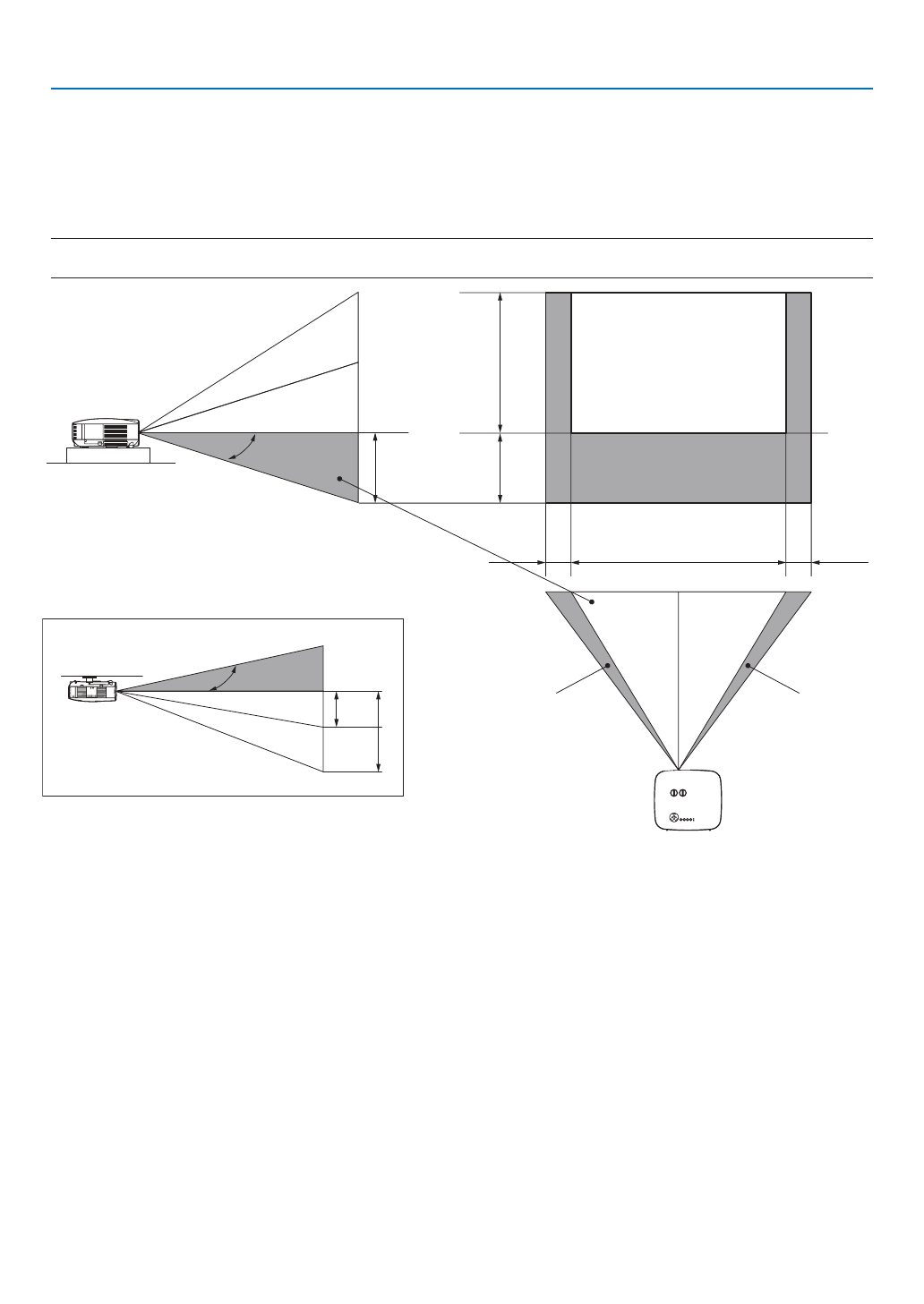
Регулируемый диапазон смещений объектива
Схема, представленная вверху справа, отображает расположение изображения в объективе. Объектив можно смещать
в пределах затемненного участка, используя обычное проекционное положение в качестве отправной точки.
Проектор оснащен функцией смещения объектива, которая позволяет перемещать изображение вертикально или
горизонтально.
ПРИМЕЧАНИЕ: Перемещение объектива не доступно при использовании дополнительного объектива NP01FL. Объектив NP01FL должен использоваться только
для приложений с "нулевым углом".
Фронтальная со стола
Фронтальная проекция с потолка
Вертикальный
сдвиг
Вертикальный
сдвиг
Макс.
0,5V
Макс.
0,5V
1V
0,5V
0,1H
0,1H
1H
Ширина проецируемого изображения
Сдвиг влево
Сдвиг вправо
1V
Нормальное расположение
проекции
Содержание
- 3 Важная информация; Предостережения относительно безопасности; Меры предосторожности; ВНИМАНИЕ
- 4 ii
- 5 iii; • Не устанавливайте проектор в следующих условиях:; Размещение проектора в горизонтальном положении
- 6 iv; проектор длительное время.
- 7 • Чтобы заменить лампу, следуйте инструкциям, приведенным на стр.; Характеристики лампы; футляра проектор может повредиться.
- 8 Информация о режиме работы на большой высоте; эксплуатации оптических компонентов, например лампы.; ОБ АВТОРСКИХ ПРАВАХ НА ОРИГИНАЛЬНЫЕ ПРОЕЦИРУЕМЫЕ ИЗОБРАЖЕНИЯ.
- 9 vii; Оглавление
- 10 viii; Использование экранного меню
- 11 ix
- 12 Комплектация
- 13 Ознакомление с проектором; Поздравляем с покупкой проектора!; Проектор можно убирать сразу же после выключения.; • Измеритель CO; Показывает энергосберегающий эффект уменьшения выделения CO
- 14 Разъем RJ-45 является стандартной функцией.; пользователя; Об этом руководстве пользователя
- 15 Название деталей проектора; Передняя/верхняя часть
- 16 Нижняя часть; Переноска проектора
- 17 Блокировка ручки для переноски; Осторожно поставьте проектор на торец.
- 18 Важнейшие функции
- 19 Функции панели разъемов; приведены типичные коды управ-
- 20 Элементы пульта дистанционного управления
- 21 Установка элемента питания; либо преграды или если на датчик падает слишком яркий свет.
- 22 Правила обращения с пультом дистанционного управления
- 23 Установка и подключение; Настройка экрана и проектора; Настроить экран и проектор.
- 24 Осуществление подключений; Подключение ПК или компьютера Macintosh; или работы его программы управления электропитанием.; Включение внешнего экрана компьютера; ADJUST на корпусе проектора.
- 26 Входной разъем
- 30 Пример подключения к проводной локальной сети; LAN
- 32 Включение проектора; противном случае может повредиться проектор.
- 33 Примечание об экране запуска (экран выбора языка меню); Для выбора языка меню выполните такие действия:; С помощью кнопки
- 34 Выбор источника сигнала; Выбор из списка источников; КОМПЬЮТЕР1; Использование пульта дистанционного управления; На экране отобразится меню.
- 35 Регулировка размера и положения изображения
- 36 Настройка положения проецируемого изображения; • Поверните лимб для смещения объектива.
- 37 • Для настройки фокуса поворачивайте колечко focus.; Точная настройка размера изображения (Рычаг масштабирования)
- 38 Настройка ножки для регулирования наклона; Опустите переднюю часть проектора до требуемой высоты.
- 39 Коррекция трапециевидного искажения; Появится панель настройки трапецеидального искажения.
- 40 Настройка с помощью меню
- 41 Автоматическая оптимизация цветовых оттенков изображения; Настройка изображения с помощью кнопки Auto Adjust; • Громкость звука нельзя регулировать с помощью кнопки; Увеличение и уменьшение громкости
- 42 Выключение проектора; Чтобы выключить проектор:; или кнопку POWER OFF на пульте дистанционного управления.; После использования
- 43 Увеличение картинки возможно до четырехкратного размера.
- 44 Изменение Эко режима; ЭКО РЕЖИМ; Нажмите кнопку ECO MODE на пульте дистанционного управления
- 45 Проверка энергосберегающего эффекта [ИЗМЕРЕНИЕ СО2]; с начала сеанса до настоящего момента. Вы можете
- 46 Предупреждение несанкционированного использования проек-; Чтобы активировать функцию безопасности:
- 47 Для включения проектора при включенной функции [БЕЗОПАСНОСТЬ]:
- 49 Использование дополнительного дистанционного приемника; Подключение дистанционного приемника мыши к компьютеру; Подключение с использованием терминала USB; не работают в программе PowerPoint для компьютера Macintosh.
- 50 Режим перетаскивания:; тации к компьютеру или интерактивной справке.
- 51 Настройка с помощью браузера HTTP; Обзор; обратитесь к своему сетевому администратору.; Подготовка перед началом работы; в столбце адреса или столбце ввода URL-адреса.
- 52 Параметры сети
- 53 Настройка почтового предупреждения; адреса получателя
- 54 Использование кабеля передачи сигнала VGA для эксплуатации; отображены так же, как и экран Вашего компьютера.; Шаг 1: Установка Virtual Remote Tool на компьютер
- 55 Установка Virtual Remote Tool; Дважды кликните «Software» и затем «Virtual Remote Tool».
- 56 • Для Windows 7/Windows Vista; Откроется окно Панели управления.; Шаг 2: Подсоедините проектор к компьютеру; Проектор находится в режиме ожидания.
- 57 Шаг 3: Запустите Virtual Remote Tool; Нажмите два раза на пиктограмму
- 58 Выход из Virtual Remote Tool; Просмотр помощи к Virtual Remote Tool; • Отображение помощи, используя панель задач.; Нажмите на пиктограмму Virtual Remote Tool; • Отображение помощи, используя меню Пуск.; Tool». И затем на «Virtual Remote Tool Help» в этой папке.
- 59 Управление проектором через локальную сеть (PC Control Utility; следующая страница; Шаг 1: Подсоедините проектор к кабелю локальной сети
- 60 Установите PC Control Utility Pro 4; Дважды кликните по пиктограмме «setup.exe».; Удаление PC Control Utility Pro 4; • Отображение Помощи во время работы с PC Control Utility Pro 4.
- 61 Использование меню; Установки будут сохранены до следующих изменений.
- 62 Элементы меню; Окна меню и диалоговые окна обычно включают следующие элементы:
- 63 Пункты меню
- 69 Служит для ручной настройки параметров Часы и Фаза.
- 70 ДАННЫЕ] и восстановите настройки по умолчанию.
- 71 Выбор значения параметра [СООТНОШЕНИЕ СТОРОН]
- 72 является стандартным аспектным отношением для видеоисточника.; Настройка изображения по вертикали [ПОЛОЖЕНИЕ]
- 73 Для включения/выключения эффекта трехмерного звучания.
- 75 Использование функции коррекции цвета стены [ЦВЕТ СТЕНЫ]
- 76 Настройка закрытого титра [ЗАКРЫТЫЙ ТИТР]; • Режим закрытого титра недоступен при таких условиях:
- 78 Выбор ориентации проектора с помощью параметра [ОРИЕНТАЦИЯ]; ФРОНТАЛЬНАЯ СО СТОЛА
- 79 Присвоение или изменение контроля ID; Нажмите кнопку ID SET на пульте дистанционного управления.
- 80 Откроется окно КОНТРОЛЬ ID для изменённого идентификатора.
- 81 близительно 5500 футов/1600 метров над уровнем моря или выше.
- 84 Настройка разъема MONITOR OUT [КЛЕММА ВЫХОДА]
- 85 Информация приводится в следующем порядке:; Сменная лампа
- 88 Техническое обслуживание; Чистка или замена фильтра; положение «Откл.» и извлеките штепсель из розетки.; Для очистки воздушного фильтра:; Прочистите фильтр с помощью пылесоса через крышку фильтра.
- 89 • Установите крышку фильтра на место и задвиньте ее до щелчка.; Чистка корпуса и объектива
- 90 Замена лампы
- 91 бодно прокручиваться. Эти два винта не вынимаются.
- 92 [СБРОС НАРАБОТКИ ЛАМПЫ], чтобы переустановить счетчики
- 93 Использование дополнительных объективов; , где представлена информация об установке объектива.
- 94 Регулируемый диапазон смещений объектива
- 95 Поверните объектив против часовой стрелки, сильно надавив до; Замена основного объектива дополнительным; поверхность объектива.
- 96 Использование винта для защиты объектива от кражи; Установка нового объектива; Вставьте объектив таким образом, чтобы желтый выступ
- 97 Устранение неисправностей; Показания индикаторов; Индикатор POWER; Защита от превышения допустимой температуры
- 99 Если изображение отсутствует или отображается неправильно.; или переходите к следующему шагу.
- 100 Технические характеристики; Номер модели; Оптический; Порт LAN
- 101 Потребление электроэнергии; Механические характеристики; Установка
- 103 Размер экрана и проекционное расстояние; Использование графика
- 104 Список размеров экрана
- 105 Распределение контактов входного разъема D-Sub COMPUTER 1; Номер контакта Сигнал RGB (аналоговый)
- 106 Перечень совместимых входных сигналов
- 107 Коды управления и кабельные соединения ПК; Коды управления ПК
- 108 Кабельные соединения; Протокол связи
- 109 Контрольный перечень возможных неисправностей; постоянно; Питание