Проекторы NEC NP1250 - инструкция пользователя по применению, эксплуатации и установке на русском языке. Мы надеемся, она поможет вам решить возникшие у вас вопросы при эксплуатации техники.
Если остались вопросы, задайте их в комментариях после инструкции.
"Загружаем инструкцию", означает, что нужно подождать пока файл загрузится и можно будет его читать онлайн. Некоторые инструкции очень большие и время их появления зависит от вашей скорости интернета.

8. Использование дополнительных объективов
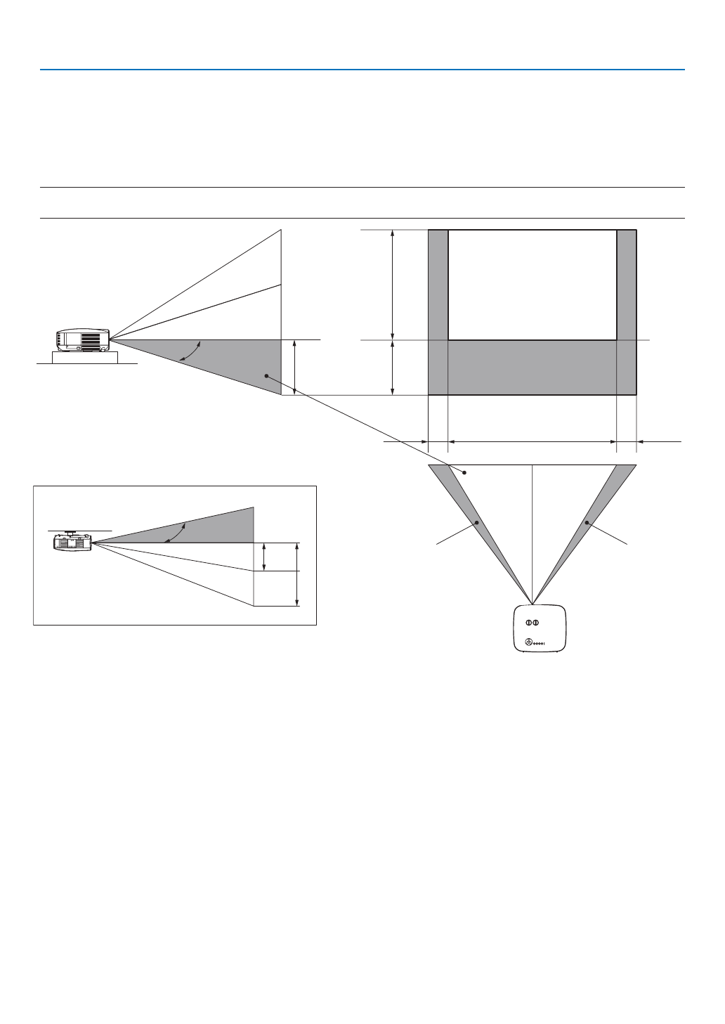
Регулируемый диапазон смещений объектива
Схема, представленная вверху справа, отображает расположение изображения в объективе. Объектив можно смещать
в пределах затемненного участка, используя обычное проекционное положение в качестве отправной точки.
Проектор оснащен функцией смещения объектива, которая позволяет перемещать изображение вертикально или
горизонтально.
ПРИМЕЧАНИЕ: Перемещение объектива не доступно при использовании дополнительного объектива NP01FL. Объектив NP01FL должен использоваться только
для приложений с "нулевым углом".
Фронтальная со стола
Фронтальная проекция с потолка
Вертикальный
сдвиг
Вертикальный
сдвиг
Макс.
0,5V
Макс.
0,5V
1V
0,5V
0,1H
0,1H
1H
Ширина проецируемого изображения
Сдвиг влево
Сдвиг вправо
1V
Нормальное расположение
проекции
Содержание
- 2 Сведения о беспроводной локальной сети USB:; USB в стандартной комплектации не во всех регионах и странах.; ПРИМЕЧАНИЯ
- 3 Важная информация; Предостережения относительно безопасности; Меры предосторожности; Осторожно! Лазерное излучение; ВНИМАНИЕ
- 4 способна оказать содержащаяся в лампе ртуть.; Утилизация использованного изделия
- 5 • Не устанавливайте проектор в следующих условиях:; Размещение проектора в горизонтальном положении
- 6 проектор длительное время.
- 8 Информация о режиме работы на большой высоте; эксплуатации оптических компонентов, например лампы.; ОБ АВТОРСКИХ ПРАВАХ НА ОРИГИНАЛЬНЫЕ ПРОЕЦИРУЕМЫЕ ИЗОБРАЖЕНИЯ.; Предостережения касательно использования; привести к пожару или поражению электрическим током.; Внимание
- 9 в локальной сети в пределах действия радиоволн.; • Передаваемое содержимое может быть перехвачено; можно снизить риск возникновения таких проблем.
- 10 Оглавление
- 11 Использование функции «Просмотр»
- 12 Использование экранного меню
- 13 Использование дополнительных объективов
- 14 Комплектация; торговому представителю.; Только для Северной Америки
- 15 Ознакомление с проектором; жится описание его функций и элементов управления.; Поздравляем с покупкой проектора!; • ЖК-дисплей с высоким разрешением и высокой яркостью
- 16 Об этом руководстве пользователя; ставляет для Вас интереса, его можно пропустить.
- 17 Название деталей проектора; Передняя/верхняя часть
- 18 Нижняя часть; Переноска проектора; Всегда несите проектор за ручку.
- 19 Блокировка ручки для переноски; Осторожно поставьте проектор на торец.
- 20 Важнейшие функции
- 21 Функции панели разъемов; приведены типичные коды управления с ПК.
- 22 Элементы пульта дистанционного управления; Загорается при нажатии какой-либо кнопки.
- 23 Установка элемента питания
- 24 Правила обращения с пультом дистанционного управления; • Обращайтесь с пультом дистанционного управления бережно.; REMOTE
- 25 Установка и подключение; Настройка экрана и проектора; Этот проектор прост в настройке и исполь-; IR
- 27 Осуществление подключений; Подключение ПК или компьютера Macintosh; или работы его программы управления электропитанием.; Включение внешнего экрана компьютера; ADJUST на корпусе проектора.
- 28 меню источников выберите пункт COMPUTER 3, после чего включите ПК.
- 29 емого аналогового или компонентного изображения.
- 32 ществить тремя способами:; Функция передачи изображений (с помощью WindowsVista)
- 33 Пример подключения к ЛВС; (A) Пример подключения к проводной локальной сети; ПРИМЕЧАНИЕ: Используйте кабель ЛВС категории 5 или выше.; (Б) Пример подключения к беспроводной локальной сети
- 34 Режим Ad Hoc соответствует стандарту IEEE802.11.; (В) Пример подключения к беспроводной локальной сети (Тип сети
- 35 второй конец кабеля к электрической розетке.; продолжает оставаться нагретым.; О функции прямого выключения питания
- 36 Включение проектора; противном случае может повредиться проектор.
- 37 Примечание об экране запуска (экран выбора языка меню); Для выбора языка меню выполните такие действия:; С помощью кнопки SELECT
- 38 Выбор источника сигнала; Автоматическое обнаружение сигнала; Использование пульта дистанционного управления; Выбор из списка источников
- 39 Регулировка размера и положения изображения; Коррекция трапециевидного искажения» на стр.
- 40 Настройка положения проецируемого изображения; • Поверните лимб для смещения объектива.; Не поворачивайте его чрезмерно, иначе он может сломаться.
- 41 • Для настройки фокуса поворачивайте колечко focus.; Колесико Focus; Рычаг масштабирования
- 42 Настройка ножки для регулирования наклона; Не дотрагивайтесь до выпускного вентиляционного отверстия во
- 43 Коррекция трапециевидного искажения; Если проектор установлен под углом к экрану
- 45 Автоматическая оптимизация цветовых оттенков изображения; Настройка изображения с помощью кнопки Auto Adjust; Автоматическая оптимизация цветовых оттенков изображения.; Увеличение и уменьшение громкости
- 46 Использование лазерной указки; • Не смотрите на лазерную указку, когда она включена.; Чтобы включить лазерную указку, нажмите и подержите кнопку LASER.; Настройка переключателя функций; Блокируйте лазер, если к прибору имеют доступ дети.
- 47 Выключение проектора; Чтобы выключить проектор:; или кнопку POWER OFF на пульте дистанционного управления.; После использования
- 48 Отключение изображения и звука; Повторное нажатие вернет изображение и звук.; Фиксация изображения; нажатие возобновит движение.; Увеличение и и передвижение изображения; При желании некоторую область можно увеличить до 400%.; Нажмите кнопку SELECT
- 49 Использование встроенной; Нажмите кнопку HELP на пульте дистанционного; Изменение режима лампы; или; состояние лампы не влияет даже изменение параметра [РЕЖИМ ЛАМПЫ].
- 50 Работа с меню с помощью USB-мыши; Использование USB-мыши
- 51 Использование дополнительного дистанционного приемника мыши; Подключение дистанционного приемника мыши к компьютеру; подключить дистанционный приемник мыши.; Подключение с использованием порта USB
- 52 Режим перетаскивания:; ментации к компьютеру или интерактивной справке.
- 53 Коррекция горизонтального и вертикального трапециевидного; Краеугольная; Отобразится экран краеугольной коррекции.
- 55 был изменен, искажение будет необходимо корректировать заново.; Функция 3D Reform имеет такие диапазоны настройки:
- 56 Одновременно показывает два изображения; С помощью кнопки SELECT
- 57 Просмотр двух изображений; Нажмите кнопку PIP на пульте дистанционного управления.
- 61 Проверка состояния функции безопасности; назначения ключевого слова» введите «1234».
- 62 Отмена защиты; На экране отобразится меню.
- 63 Ограничение доступа к некоторым пунктам меню; У проектора имеется два уровня меню: СЛОЖНОЕ меню и ОСНОВНОЕ меню.; Вход в систему; Вход в систему проектора; Выход из системы; Выход из системы проектора
- 64 Создание или добавление нового пользователя; Отобразится экран [УЧЕТНАЯ ЗАПИСЬ] для создания учетной записи.
- 65 Удаление пользователя; Теперь пользователь удален.
- 66 Работа с помощью браузера HTTP; Обзор; Для доступа к функциям сервера HTTP укажите; Подготовка перед использованием; адрес для строки ввода будет иметь вид
- 67 Структура сервера HTTP
- 68 PROJECTOR STATUS: служит для отображения состояния проектора.
- 69 Проецирование изображения с экрана компьютера через проектор; Операционная среда; (Примечание) Функция недоступна для Windows Vista Home Basic.
- 71 Отобразится сообщение «Хотите сохранить эти параметры?».; Проецирование изображений с сетевого проектора; В окне «Доступные проекторы» будет отображено «NP3250 Series».
- 72 Ссылка: Если на шаге 5 найти проектор не удается, выберите [; Завершение работы с сетевым проектором; Работа с сетевым проектором будет завершена.
- 73 Управление компьютером по сети с помощью проектора [УДАЛЕН-; жение с экрана компьютера.; функция также доступна.
- 75 Система вернется к рабочему столу.; Запуск удаленного рабочего стола
- 77 Завершение работы с удаленным рабочим столом; Работа функции удаленного рабочего стола завершится.
- 78 Оптимальное использование функции «Просмотр»; Функции
- 79 Сохранение данных на устройство USB-памяти; Использование программы ArcSoft MediaImpression
- 80 Управление функцией «Просмотр» с проектора (воспроизведение); Работа с меню программы «Просмотр»; Слайд и миниатюра; При выборе пункта ПРОСМОТР отображается один из двух экранов.; Панель управляющих элементов
- 81 и «Remote Desktop Connection».; Панель элементов управления
- 82 распознанных как слайды, в одной директории – около 250.; Экран миниатюр
- 83 РЕЖИМ ВОСПРОИЗВЕДЕНИЯ:
- 84 Меню МИНИАТЮРЫ; проектора. Чтобы закрыть меню МИНИАТЮРЫ, нажмите кнопку EXIT.; Выход из режима «Просмотр»; пульте дистанционного управления.
- 85 Изменение логотипа фона; При помощи кнопки SELECT
- 86 Проецирование данных из папки общего пользования (Просмотр); Подготовка; Подключение проектора к папке совместного доступа; Нажмите на кнопку VIEWER на дистанционном управлении.
- 87 рамме «СЕТЬ» до четырех папок совместного доступа.
- 88 Нажмите кнопку MENU во время отображения экрана пиктограмм.
- 90 Проецирование данных с медиа сервера (Просмотр)
- 91 Появится список доступных устройств.
- 92 Нажмите на кнопку VIEWER на дистанционном управлении.
- 93 Использование меню; Установки будут сохранены до следующих изменений.
- 94 Введение букв и цифр при помощи программной клавиатуры; для алфавита и специальных символов.; Во время использования пульта дистанцион-; Чтобы выбрать символ из строки, нажимайте; Во время использования мыши:; Наведите указатель на символ и щелкните его.
- 95 Дерево меню; Меню
- 97 Элементы меню; Окна меню и диалоговые окна обычно имеют такие элементы:; ционного управления, чтобы вызвать справку.
- 100 Служит для ввода названия сигнала. Можно ввести до 18 букв и цифр.
- 102 Выбор режима коррекции гаммы цветов [ГАММА ПОПРАВКА]
- 104 Служит для ручной настройки параметров ЧАСЫ и ФАЗА.
- 106 RGB; Для ВИДЕО
- 107 ВИДЕО
- 109 ПРИМЕЧАНИЕ: Эта функция не доступна для сигналов RGB.; Регулировка усиления контраста [УСИЛЕНИЕ КОНТРАСТА]; Настраивайте эту функцию до требуемого уровня усиления.
- 110 Для включения/выключения эффекта трехмерного звучания.
- 111 Вертикальное искажение можно корректировать вручную из меню. (
- 112 С помощью данной опции можно выбрать два режима: PIP и ПАРАЛЛЕЛЬНО.
- 113 цвет отличен от белого.; Выбор обычного или экономичного режима лампы [РЕЖИМ ЛАМПЫ]; с нормальным режимом.
- 114 течение двух или больше недель, встроенные часы остановятся.
- 115 В окне ТАЙМЕР ПРОГРАММЫ, используя кнопку SELECT
- 116 Активация таймера программы; Запрограммированные настройки будут изменены.; Изменение порядка выполнения программ; нажмите кнопку SELECT
- 117 Удаление программ
- 118 Выход из системы проектора [ВЫХОД ИЗ СИСТЕМЫ]; Для выхода из системы проектора выполните следующие шаги.
- 119 Для цвета меню возможны две опции: цветной и монохромный.; Выбор значения параметра [ВРЕМЯ ПОКАЗА МЕНЮ]; является стандартным заводским значением.; Выбор цвета или логотипа для фона с помощью параметра [ФОН]
- 120 ФРОНТАЛЬНАЯ СО СТОЛА
- 122 Отображается белый экран на экране компьютера.
- 123 значенного для соединения с беспроводной ЛВС.
- 124 нажмите кнопку ENTER.
- 125 Использование виртуальной клавиатуры
- 126 Вызов параметров из памяти:
- 128 которому имеется доступ.
- 129 ТИП ЗАЩИТЫ; Выберите режим шифрования для безопасной передачи.
- 130 Отобразится виртуальная клавиатура.
- 131 ПОЧТОВОЕ ПРЕДУПРЕЖДЕНИЕ:
- 133 Для назначения пароля:; БЛОКИРОВКА УЧЕТНОЙ ЗАПИСИ
- 134 безопасности доступна только после ввода пароля.
- 135 Вставьте устройство памяти USB в порт USB (тип А) проектора.; ключа используется устройство памяти USB).; Нажмите и удерживайте кнопку POWER не менее двух секунд.
- 136 торное включение питания; Для удаления зарегистрированных данных памяти USB.; Информация на устройстве памяти USB будет удалена.
- 138 Нажмите кнопку ID SET на пульте дистанционного управления.
- 139 Оптимизировать изображение RGB можно вручную.
- 140 Высокий и режим Большая высота.; Выбор формата сигнала с помощью параметра [ВЫБОР СИГНАЛА]
- 141 эта операция должна выполняться отдельно.; Настройка разъема MONITOR OUT [КЛЕММА ВЫХОДА]; нала подключен к разъему MONITOR OUT.
- 142 Информация приводится в следующем порядке:
- 146 точников следующим образом:
- 147 Техническое обслуживание; при чистке фильтров и замене лампы.; Чистка или замена фильтра; положение «Откл.» и извлеките штепсель из розетки.; Для очистки воздушного фильтра:; Прочистите фильтр с помощью пылесоса через крышку фильтра.; Замените лампу перед заменой фильтров.
- 148 • Установите крышку фильтра на место и задвиньте ее до щелчка.; Чистка корпуса и объектива
- 149 Замена лампы; Запасная лампа и инструменты, необходимые для замены:
- 150 бодно прокручиваться. Эти два винта не вынимаются.; Закажите такую лампу у продавца продукции марки NEC.
- 151 [СБРОС НАРАБОТКИ ЛАМПЫ], чтобы переустановить счетчики
- 152 , где представлена информация об установке объектива.
- 154 Регулируемый диапазон смещений объектива
- 155 Извлеките существующий объектив из проектора.; Поверните объектив против часовой стрелки, сильно надавив до; Замена основного объектива дополнительным; поверхность объектива.
- 156 Использование винта для защиты объектива от кражи; Поверните объектив по часовой стрелке.; Установка нового объектива; Вставьте объектив таким образом, чтобы желтый выступ
- 157 Устранение неисправностей; Показания индикаторов; Защита от перегрева; Если это случится, выполните нижеописанные действия.
- 159 Если изображение отсутствует или отображается неправильно.; или переходите к следующему шагу.
- 160 Технические характеристики; Номер модели; Оптический
- 161 Механические характеристики; TÜV GS; Общие технические характеристики изделий серии NP01LM
- 164 Габаритные размеры корпуса
- 165 Размер экрана и проекционное расстояние; Использование графика; проектор находится в горизонтальном положении)
- 167 Список размеров экрана; объектива
- 169 Распределение контактов входного разъема D-Sub COMPUTER 1; Уровень сигнала; Номер контакта Сигнал RGB (аналоговый)
- 170 Перечень совместимых входных сигналов; отображаться с применением технологии масштабирования.
- 171 Коды управления и кабельные соединения ПК; Коды управления ПК
- 172 Кабельные соединения; Протокол связи
- 173 Удаление и присоединение блока беспроводной локальной сети USB; правильном направлении.; Отсоединение Блока беспроводной локальной сети USB; Необходима крестовая отвертка.
- 174 Подсоединение Блока беспроводной локальной сети USB
- 176 Контрольный перечень возможных неисправностей; Частота случаев; всегда; Питание