Принтер Canon LBP-1120 - инструкция пользователя по применению, эксплуатации и установке на русском языке. Мы надеемся, она поможет вам решить возникшие у вас вопросы при эксплуатации техники.
Если остались вопросы, задайте их в комментариях после инструкции.
"Загружаем инструкцию", означает, что нужно подождать пока файл загрузится и можно будет его читать онлайн. Некоторые инструкции очень большие и время их появления зависит от вашей скорости интернета.

xx
•
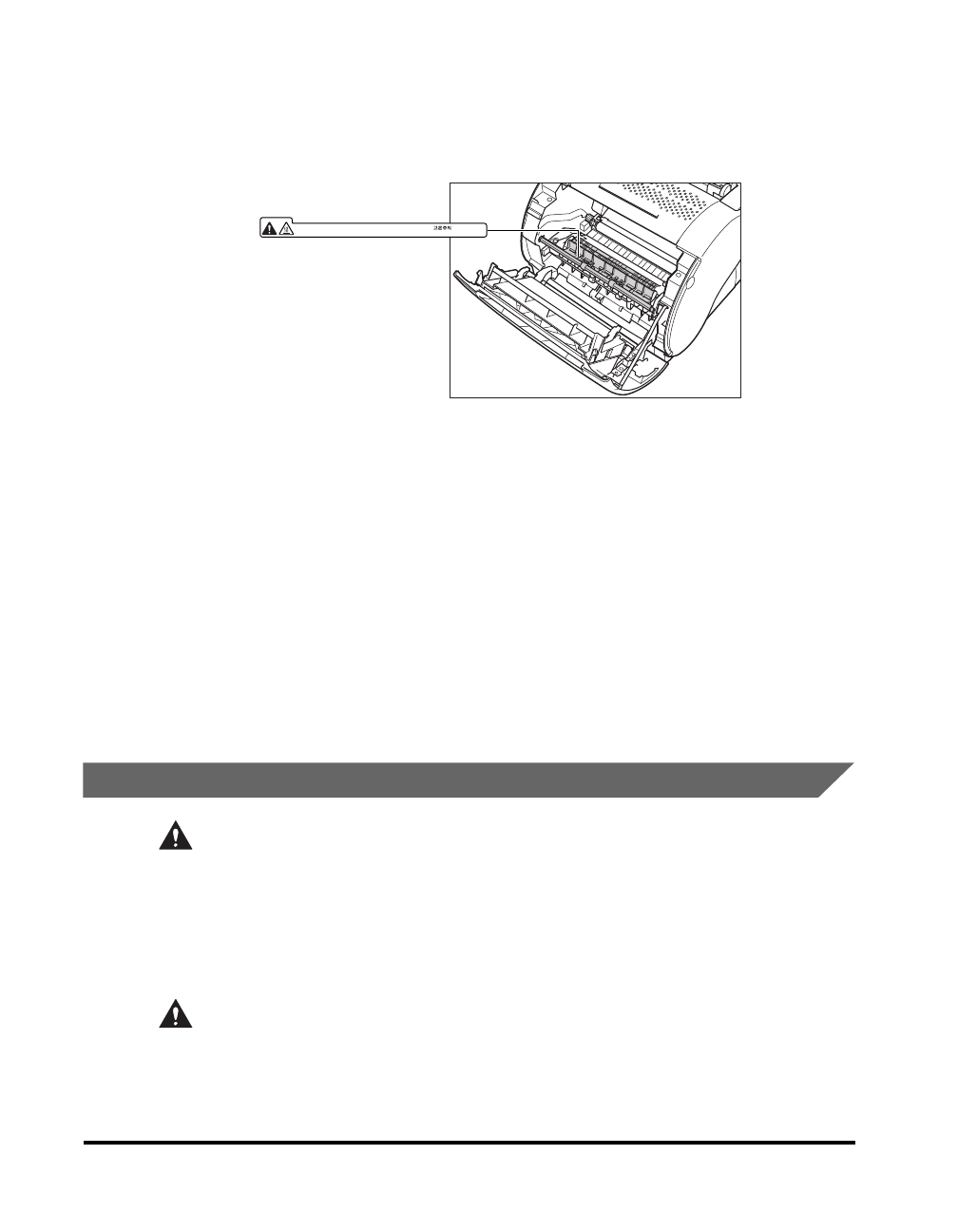
Узел закрепления и участок вокруг него внутри принтера нагревается во
время работы. При удалении застрявшей бумаги или проверке внутри
принтера не следует соприкасаться с узлом закрепления и участком
вокруг него. В противном случае может возникнуть получение ожога или
поражение электрическим током.
•
При удалении застрявшей бумаги или замене картриджа тонера следует
обращать внимание, чтобы тонер не попал на ваши руки или одежду.
Загрязненные тонером руки или одежду следует промыть в холодной
воде незамедлительно. Использование теплой воды приводит к
прилипанию тонера, который невозможно будет удалить.
•
Для удаления бумаги, застрявшей внутри принтера, следует извлекать ее
осторожно во избежание разлета тонера с бумаги и попадания в ваши
глаза или рот. В случае попадания его в глаза или рот следует промыть их
в холодной воде и обратиться к врачу незамедлительно.
•
При загрузке бумаги и удалении застрявшей бумаги следует обращать
внимание, чтобы не обрезать ваши руки кромками бумаги.
•
При удалении отработанного картриджа тонера следует извлекать его из
щели внимательно во избежание разлета тонера и попадания его в глаза
или рот. В случае попадания в глаза или рот следует промыть их в
холодной воде и обратиться к врачу незамедлительно.
Расходные детали
ПРЕДУПРЕЖДЕНИЕ
•
Нельзя выбрасывать отработанный картридж тонера прямо в огонь.
Оставшийся в картридж тонер зажигается, что может привести к
получению ожога или пожару.
•
Нельзя хранить картриджи тонера и бумаги в месте, где находится
открытое пламя. В противном случае тонер или бумага зажигается, что
может привести к получению ожога или пожару.
ВНИМАНИЕ
Следует хранить тонер и другие расходные детали в месте, недоступном
для малышей. В случае попадания в организм следует обратиться к врачу
незамедлительно.
PRECAUCION / AT TENZIONE!
A LTA TEMPER ATUR A
ACHTUNG!
HEISSER BEREICH
AT TENTION
T EMPERAT URE E L E VEE
•
CAU T ION
HOT SURFACE AVOID CON TACT
Содержание
- 4 Структура руководства
- 5 СОДЕРЖАНИЕ; Глава 1
- 8 Введение; Как пользоваться настоящим; ПРЕДУПРЕЖДЕНИЕ
- 10 Правовая информация
- 13 Международная программа Energy Star
- 14 Освобождение от ответственности
- 16 Важные инструкции по обеспечению
- 17 ВНИМАНИЕ; Электропитание
- 18 Обращение с принтером
- 20 Техобслуживание принтера
- 21 Расходные детали
- 23 Отличительные особенности
- 24 Гибкость в управлении бумагой; Сетевое соединение
- 25 Конструкция принтера; Вид спереди
- 26 Вид сзади
- 27 Внутри передней крышки
- 28 Включение питания принтера
- 29 Выключение питания принтера; на задней поверхности принтера.
- 30 Подача и вывод бумаги
- 31 Требования к бумаге; Виды используемой бумаги; Общая техническая характеристика
- 32 Емкость лотков
- 33 Обычная бумага; Наклейки
- 34 Конверты; Открытки; Неиспользуемая бумага
- 35 Хранение бумаги
- 36 Обращение с бумагой
- 37 Вывод бумаги; Зависимость направления вывода от видов бумаги; Выбор направления вывода бумаги
- 38 Вывод бумаги печатью вниз
- 39 Вывод бумаги печатью вверх
- 40 Загрузка бумаги; Загрузка бумаги (за исключением конвертов)
- 43 Подготовка конвертов
- 44 Загрузка конвертов
- 48 Подача бумаги в лоток ручной подачи; Отрегулируйте направляющие бумаги по ширине бумаги.
- 52 Установка САРТ; Выключите принтер
- 58 Включите компьютер и запустите Windows 98/Me.
- 64 Мастер установки принтера
- 66 Принтеры
- 69 Включите компьютер и запустите Windows 2000.
- 72 Найден новый; Войдите в систему в качестве администратора.
- 78 Для Windows XP; Включите компьютер и запустите Windows XP.
- 88 Использование принтера в сети
- 89 Настройки сервера Windows 98/Me; Сетевые настройки
- 90 Настройки принтера; Управление доступом уровня совместного использования
- 91 Настройки сервера Windows 2000/XP
- 93 Сетевая загрузка; Следуйте инструкциям на экране.
- 94 Группа Canon LASER SHOT LBP-1120; Удаление Canon LASER SHOT LBP-1120
- 95 Окно состояния Canon LASER SHOT LBP-1120
- 96 Удаление CAPT; Убедитесь, что все работавшие приложения закрыты.
- 98 Печать документа; Имя
- 99 Отмена задания на печать; Щелкните на кнопке
- 100 Доступ к диалоговому окну Свойства
- 103 Использование опций печати; Вкладка Общие
- 104 Вкладка Сведения
- 105 Вкладка Доступ
- 107 Вкладка Окончательная обработка
- 108 Настройка
- 109 Вкладка Качество
- 111 Вкладка Дополнительно
- 112 Вкладка Безопасность
- 113 Вкладка Выбор форм
- 114 Вкладка Параметры страницы
- 118 Печать множества страниц на одном листе
- 120 Масштабирование документа; Автоматическое масштабирование документа
- 121 Ручное масштабирование документа
- 122 Выбор пользовательского размера бумаги
- 123 Печать с наложением
- 124 Создание файла формы
- 126 Задайте параметры наложения по требованию.
- 127 Задание параметров качества печати
- 128 Задание плотности тонера
- 131 Использование конфигураций для печати; Что такое конфигурация ?
- 132 Добавление илиизменение конфигураций
- 133 Параметры; Просмотр параметров принтера
- 134 Восстановление параметров по умолчанию
- 135 Проверка состояния задания на печать; Использование окна состояния; Использование строки меню
- 136 Другие функции
- 137 Открывание окна состояния
- 138 Окно состояния
- 139 Расположить поверх всех окон; Состояние сетевого принтера
- 142 Техническое обслуживание
- 143 Замена тонерного картриджа
- 144 Перед заменой тонерного картриджа
- 146 Поставить тонерный картридж в свое место в принтере.
- 152 Функция очистки
- 153 Правила обращения с картриджем
- 155 Правила хранения картриджа
- 156 Предотвращение конденсации влаги
- 157 Очистка и обращение с принтером; Очистка принтера
- 158 розетки сети переменного тока.
- 160 Устранение неполадок
- 161 При возникновении неисправностей
- 163 Неисправности по качеству печати
- 165 Неисправности собственно принтера
- 167 Неисправности системы САРТ
- 169 Устранение замятия бумаги
- 172 Перед устранением замятия бумаги в принтере; Удалить листы бумаги из универсального лотка.
- 173 Замятие бумаги в зоне подачи бумаги; Если незначительные осколки попали внутрь принтера
- 174 Если бумага полностью вдвинута внутрь принтера
- 175 Осторожно вывести свернутую бумагу изнутри принтера.
- 177 С осторожностью вывести свернутую бумагу из принтера.
- 180 Особенности программы
- 181 Запуск программы
- 188 Приложение
- 189 Технические характеристики; Технические характеристики принтера
- 190 Техническая характеристика программного обеспечения
- 191 Глоссарий
- 200 Экранированный кабель
- 201 Предметный указатель


