Посудомоечные машины WEISSGAUFF BDW 4106 D - инструкция пользователя по применению, эксплуатации и установке на русском языке. Мы надеемся, она поможет вам решить возникшие у вас вопросы при эксплуатации техники.
Если остались вопросы, задайте их в комментариях после инструкции.
"Загружаем инструкцию", означает, что нужно подождать пока файл загрузится и можно будет его читать онлайн. Некоторые инструкции очень большие и время их появления зависит от вашей скорости интернета.

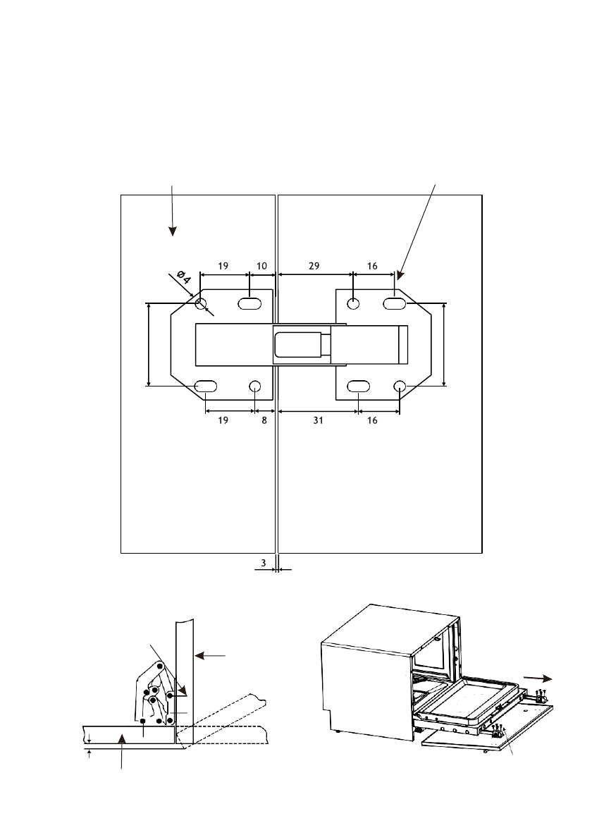
Шаг 4:
Соберите декоративную панель как показано на рисунке. Сначала установите
винты между основанием шкафа и декоративной панелью в тех местах, где
на схеме указано 16 мм. Затем вытяните направляющую из наружной канавки
двери, и притяните её в том месте, где на схеме указано 8 мм.
Основание шкафа
Установите шарнир с помощью винта
Декоративная панель
П
рикрутить,
винты на 16
мм
Декоративная
панель
6
Основание шкафа
Прикрутить, винты
на 8 мм
32
32
30
Содержание
- 3 ВАЖНО; МЕРЫ БЕЗОПАСНОСТИ
- 8 Утилизация
- 9 ВНИМАНИЕ
- 10 ИСПОЛЬЗОВАНИЕ ПРИБОРА; Загрузка
- 12 Регулировка потребления соли
- 13 Обозначения кнопок; Панель
- 15 Когда пополнять дозатор ополаскивателя; Моющее средство; Моющее
- 16 Настройка уровня ополаскивателя; Добавление
- 18 НАСТРОЙКА ПРОГРАММ; Таблица
- 19 Регулировка верхней корзины; ИСПОЛЬЗОВАНИЕ
- 20 Подставки для бокалов
- 21 ОБСЛУЖИВАНИЕ И УХОД; Внешний уход; Дверь и дверной уплотнитель; Внутренний
- 23 Модули разбрызгивателей
- 24 Обслуживание
- 25 ИНСТРУКЦИЯ ПО УСТАНОВКЕ; Внимание; Требования к сети; Подключение; В целях безопасности:
- 26 Подвод
- 27 Как слить лишнюю воду из шлангов
- 28 Встраиваемая установка
- 29 Шаг 3: Установка декоративной панели; Примечание
- 31 Шаг 5: Установите и выровняйте корпус
- 32 УСТРАНЕНИЕ НЕИСПРАВНОСТЕЙ; Перед звонком в сервисный центр
- 38 Корзинка для столовых приборов
- 39 КОДЫ ОШИБОК
- 40 ТЕХНИЧЕСКИЕ ХАРАКТЕРИСТИКИ
- 41 Таблица характеристик