Посудомоечные машины Teka DW 453 FI - инструкция пользователя по применению, эксплуатации и установке на русском языке. Мы надеемся, она поможет вам решить возникшие у вас вопросы при эксплуатации техники.
Если остались вопросы, задайте их в комментариях после инструкции.
"Загружаем инструкцию", означает, что нужно подождать пока файл загрузится и можно будет его читать онлайн. Некоторые инструкции очень большие и время их появления зависит от вашей скорости интернета.

2
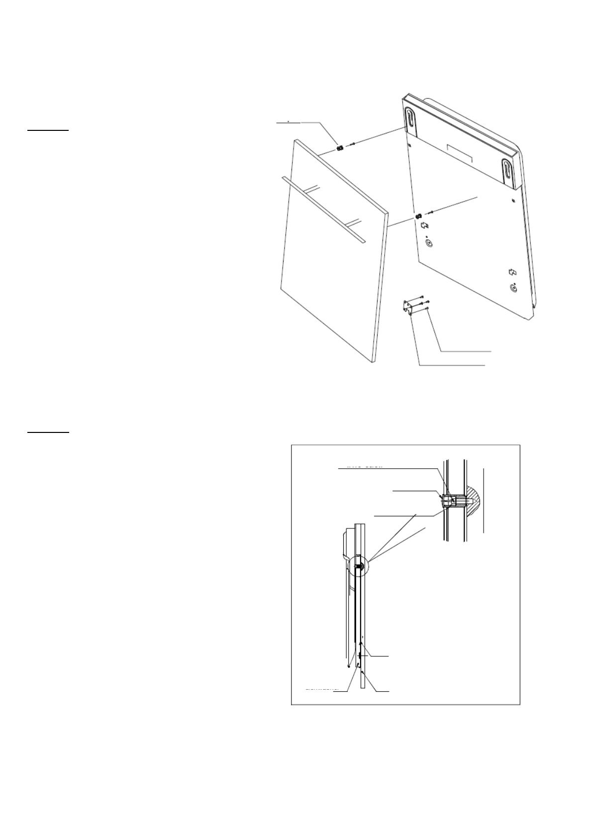
установить
крюк
на
декоративную
деревянную
панель
и
поместить
крюк
в
паз
на
наружной
дверце
посудомоечной
машины
(
см
.
рис
. 4a).
После
размещения
панели
закрепить
панель
на
наружной
дверце
с
помощью
винтов
и
болтов
(
см
.
рис
. 4b) .
[
Рис
. 4a
]
Монтаж
декоративной
панели
[
Рис
. 4b
]
Монтаж
декоративной
деревянной
панели
1.
Снять
крышку
2.
Выровнять
винт
3.
Установить
на
место
крышку
----- 19 -----
Переходной
крюк
St4
винт
с
потайной
головкой
Нижний
крюк
Винт
4X18
Крышка
Распорка
для
мебельной
дверцы
Крюк
для
декоративной
дверцы
Мебельная
дверца
Наружная
дверца
посудомоечной
машины












