Посудомоечные машины Smeg STLA825B-2 - инструкция пользователя по применению, эксплуатации и установке на русском языке. Мы надеемся, она поможет вам решить возникшие у вас вопросы при эксплуатации техники.
Если остались вопросы, задайте их в комментариях после инструкции.
"Загружаем инструкцию", означает, что нужно подождать пока файл загрузится и можно будет его читать онлайн. Некоторые инструкции очень большие и время их появления зависит от вашей скорости интернета.

Инструкции для пользователя
14
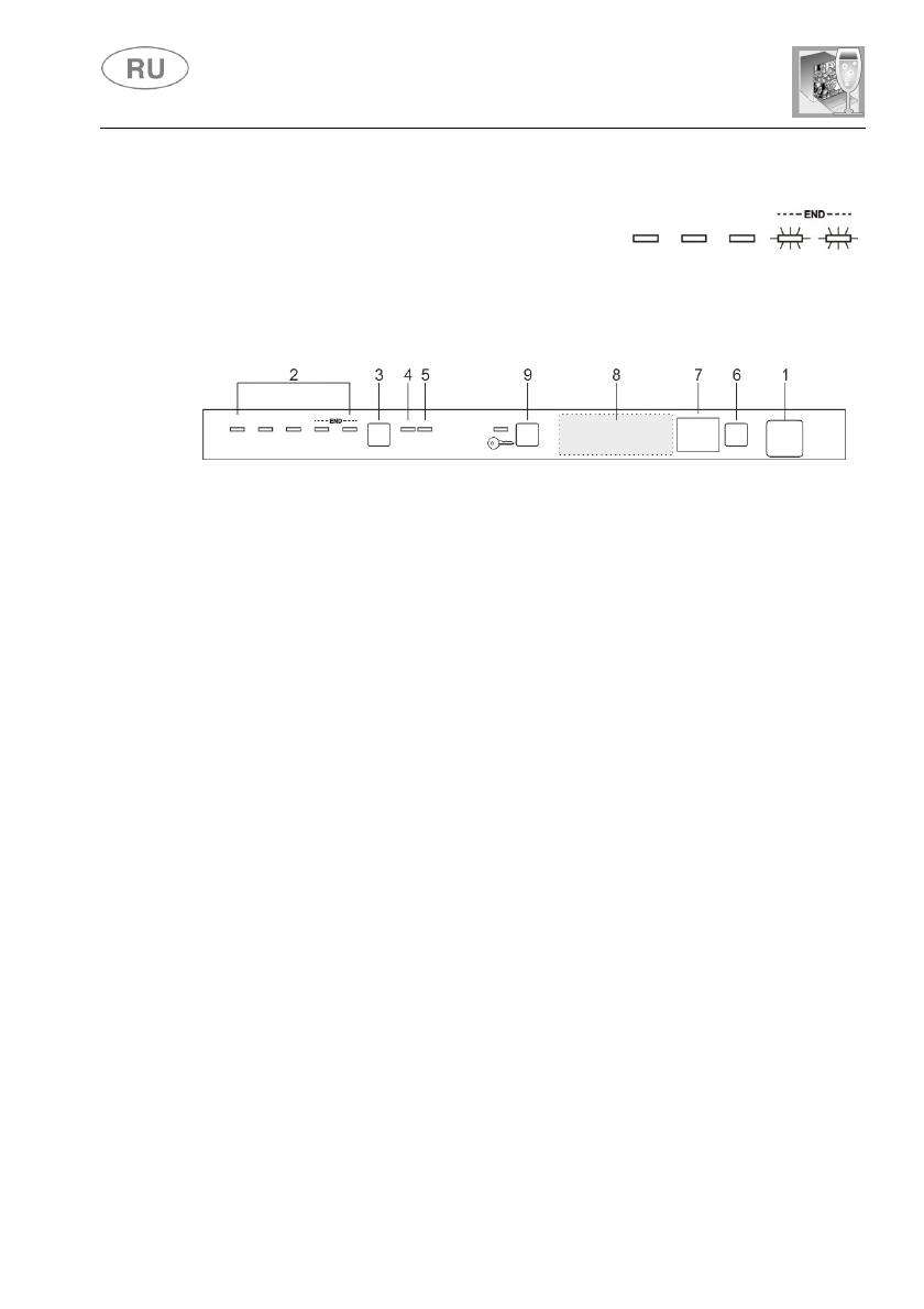
ВЫКЛЮЧЕНИЕ
В
конце
программы
посудомоечная
машина подаст короткий звуковой сигнал,
кроме того, начнут мигать
индикаторы
,
относящиеся к программам
№
4
и
5
(помечены надписью "end").
Чтобы выключить машину следует открыть дверцу и нажать кнопку
ВКЛ/ВЫКЛ (1)
.
ЭКОНОМИЯ ЭНЕРГИИ
Спустя
5
минут бездействия
(
цикл мойки завершен
,
прерван
,
был
выбран
,
но не запущен
)
для снижения расхода энергии
посудомоечная машина переходит в состояние
ожидания
.
В этом состоянии сигналы посудомоечной машины
(
при помощи
индикаторов или дисплея в зависимости от моделей
)
отображаются
более медленно
(
1
вспышка
через каждые
5
секунд
).
ВЫНИМАНИЕ ПОСУДЫ
После завершения программы мойки подождите не менее
20 минут
перед
тем, как вынуть посуду, чтобы она остыла. Чтобы предотвратить падение
капель воды, оставшихся в верхней корзине, на посуду, находящуюся в
нижней корзине,
реком ендуется
вынуть посуду сначала из нижней корзины,
а потом из верхней.
Содержание
- 4 Инструкции для пользователя; Панель управления
- 5 Err
- 6 Flexi Tabs
- 7 ТАБЛИЦА ПРОГРАММ
- 8 ВАЖНО; : прочтите таблицу; СВЕРХЧИСТАЯ; завершается противобактериальным ополаскиванием,; индикаторы программ; что противобактериальное действие не гарантируется.
- 9 ДОПОЛНИТЕЛЬНЫЕ ПРОГРАММЫ
- 10 ENERSAVE; ССЫЛКИ; НА; ENERGY LABEL; для посудомоечной машины:
- 11 Программы мойки; Flexi Tabs
- 12 “Flexi Tabs”; Enersave
- 13 ULTRA CLEAN; При отсутствии этой функции
- 14 МОЙКА С; ЗАДЕРЖКА ВКЛЮЧЕНИЯ ПРОГРАММЫ; ЗАДЕРЖКА ЗАПУСКА; ОТМЕНА ПРОГРАММЫ; ИЗМЕНЕНИЕ ПРОГРАММЫ
- 15 ДЛЯ ЭКОНОМИИ ЭЛЕКТРОЭНЕРГИИ И ОХРАНЫ ПРИРОДЫ
- 16 ВЫНИМАНИЕ ПОСУДЫ; реком ендуется
- 17 Инструкции по применению; Использование смягчителя воды
- 18 РЕГУЛИРОВКА СМЯГЧИТЕЛЯ ВОДЫ
- 19 ТАБЛИЦА ЖЕСТКОСТИ ВОДЫ
- 20 ДОБАВЛЕНИЕ ОПОЛАСКИВАТЕЛЯ
- 21 ДОБАВЛЕНИЕ МОЮЩЕГО СРЕДСТВА
- 22 Общие положения и рекомендации по безопасности
- 24 Использование корзин; 3 комплектов; ПОСТАВКИ ЗА КОШ ОТДОЛУ; Поставките се доставят в
- 25 ЗАГРУЗКА НИЖНЕЙ КОРЗИНЫ; ВЕРХНЯЯ КОРЗИНА
- 26 обращая внимание на то, чтобы острие ножей не
- 27 Состоит из
- 31 РЕГУЛИРОВКА ВЕРХНЕЙ КОРЗИНЫ; Версия А; трех положениях
- 32 Чистка и обслуживание; Предупреждения и общие рекомендации
- 33 ЧИСТКА ФИЛЬТ РУЮЩЕГО УЗЛА
- 36 Исправление неисправностей в работе; acquastop
- 37 электронасос
Характеристики
Остались вопросы?Не нашли свой ответ в руководстве или возникли другие проблемы? Задайте свой вопрос в форме ниже с подробным описанием вашей ситуации, чтобы другие люди и специалисты смогли дать на него ответ. Если вы знаете как решить проблему другого человека, пожалуйста, подскажите ему :)













