Посудомоечные машины Smeg STL62336LDE - инструкция пользователя по применению, эксплуатации и установке на русском языке. Мы надеемся, она поможет вам решить возникшие у вас вопросы при эксплуатации техники.
Если остались вопросы, задайте их в комментариях после инструкции.
"Загружаем инструкцию", означает, что нужно подождать пока файл загрузится и можно будет его читать онлайн. Некоторые инструкции очень большие и время их появления зависит от вашей скорости интернета.

Инструкции для пользователя
9
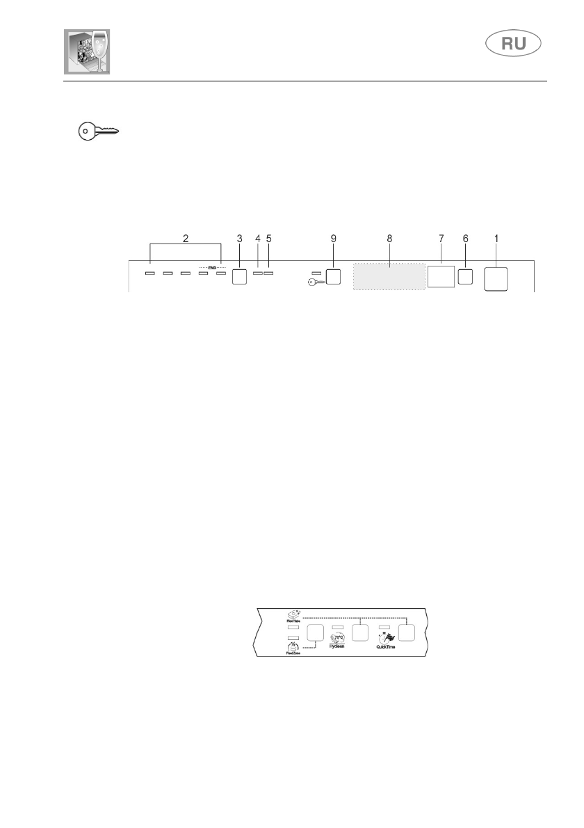
ЗАЩИТА ОТ ДЕТЕЙ
(имеются только в некоторых моделях)
для ее включения нажмите кнопку (загорится индикатор). Когда
защита включена, открытие дверцы подтверждается тремя
повторяющимися звуковыми сигналами. Поэтому, необходимо
нажать на панель и не отпускать до 3
-
го звукового сигнала, после
чего сразу же отпустить. Если дверца остается нажатой после
третьего звукового сигнала, то она не откроется, и необходимо будет
повторить операцию.
ВЫБОР ФУНКЦИЙ
Функции
выбираются
нажатием
соответствующей
кнопки,
расположенной рядом с символом необходимой функции, индикатор
загорится в знак подтверждения включения.
Нельзя
выбирать функции, когда выполняется
программа
замачивания
.
Все функции,
кроме "
Flexi Tabs
"отключаются
в конце
цикла мойки.
Для отключения функции "
Flexi Tabs"
нажмите
соответствующую кнопку (индикатор погаснет).
Все функции, в том числе и
"Flexi Tabs",
отключаются при
ОТМЕНЕ
начавшейся программы.
ДОПОЛНИТЕЛЬНЫЕ ФУНКЦИИ
Некоторые модели оборудованы дополнительными функциями,
которые включаются
одновременным нажатием двух кнопок
. В
этом
случае
на
рисунке
линией
объединяются
символ
дополнительной функции и две кнопки, которые необходимо
нажимать одновременно для ее включения. (напр.,
“Flexi Tabs”
на
рисунке)
Содержание
- 2 Инструкции для пользователя; Описание прибора и программы мойки; Панель управления
- 3 Err
- 4 ТАБЛИЦА ПРОГРАММ
- 5 ВАЖНО; : прочтите таблицу; СВЕРХЧИСТАЯ; завершается противобактериальным ополаскиванием,; индикаторы программ; что противобактериальное действие не гарантируется.
- 6 ДОПОЛНИТЕЛЬНЫЕ ПРОГРАММЫ
- 7 «ENERSAVE»; ENERSAVE; ССЫЛКИ; НА; ENERGY LABEL; для посудомоечной машины:; EN
- 8 Оповещение; Программы мойки; Внимание
- 9 Flexi Tabs
- 11 ULTRA CLEAN; При отсутствии этой функции
- 12 МОЙКА С распределенной ПОЛОВИННОЙ ЗАГРУЗКОЙ; ЗАДЕРЖКА ВКЛЮЧЕНИЯ ПРОГРАММЫ; ЗАДЕРЖКА ЗАПУСКА; ОТМЕНА ПРОГРАММЫ; ИЗМЕНЕНИЕ ПРОГРАММЫ
- 13 ДЛЯ ЭКОНОМИИ ЭЛЕКТРОЭНЕРГИИ И ОХРАНЫ ПРИРОДЫ
- 14 ВЫНИМАНИЕ ПОСУДЫ; рекомендуется
- 15 Инструкции по применению; Использование смягчителя воды
- 16 РЕГУЛИРОВКА СМЯГЧИТЕЛЯ; Настройку осуществляется с помощью; КНОПКИ ВЫБОРА; . Удерживайте нажатой кнопку до тех пор, пока не; ИНДИКАТОР ЖЕСТКОСТИ ВОДЫ; показывают
- 17 Настройка по умолчанию:
- 18 ДОБАВЛЕНИЕ ОПОЛАСКИВАТЕЛЯ; Откройте емкость, нажав и приподняв язычок на крышке.
- 19 НАСТРОЙКА КОЛИЧЕСТВА ОПОЛАСКИВАТЕЛЯ; ТАБЛИЦА РЕГУЛИРОВКИ ОПОЛАСКИВАТЕЛЯ
- 20 ЗАЛИВКА МОЮЩЕГО СРЕДСТВА; . Залейте моющее средство или поместите
- 22 Общие
- 24 Использование корзин; Эта посудомоечная машина рассчитана на; 3 комплектов посуды,; включая сервировочную посуду.; НИЖНЯЯ КОРЗИНА; ПОСТАВКИ ЗА КОШ ОТДОЛУ; Поставките се доставят в
- 25 ЗАГРУЗКА НИЖНЕЙ КОРЗИНЫ; ВЕРХНЯЯ КОРЗИНА; или чайными чашками,; ЗАГРУЗКА ВЕРХНЕЙ КОРЗИНЫ
- 27 FLEXIDUO; Состоит из
- 29 ОСНАСТКА ВЕРХНЕЙ КОРЗИНЫ; Его можно снять, для этого следует одновременно нажать на
- 30 Откидные элементы; Для мелкой утвари, чайных и кофейных чашек.
- 31 Откидные держатели
- 32 РЕГУЛИРОВКА ВЕРХНЕЙ КОРЗИНЫ; Версия А; трех положениях
- 33 Чистка и обслуживание; Предупреждения и общие рекомендации; ЧИСТКА НАЛИВНОГО ФИЛЬТРА ВОДЫ
- 35 модели с планетарным распылителем; Прижать центральный фильтр
- 38 Если дверца не закрывается:
- 40 Исправление неисправностей в работе; acquastop
- 41 электронасос
Характеристики
Остались вопросы?Не нашли свой ответ в руководстве или возникли другие проблемы? Задайте свой вопрос в форме ниже с подробным описанием вашей ситуации, чтобы другие люди и специалисты смогли дать на него ответ. Если вы знаете как решить проблему другого человека, пожалуйста, подскажите ему :)













