Посудомоечные машины Smeg STA4505IN - инструкция пользователя по применению, эксплуатации и установке на русском языке. Мы надеемся, она поможет вам решить возникшие у вас вопросы при эксплуатации техники.
Если остались вопросы, задайте их в комментариях после инструкции.
"Загружаем инструкцию", означает, что нужно подождать пока файл загрузится и можно будет его читать онлайн. Некоторые инструкции очень большие и время их появления зависит от вашей скорости интернета.

Инструкции для пользователя
21
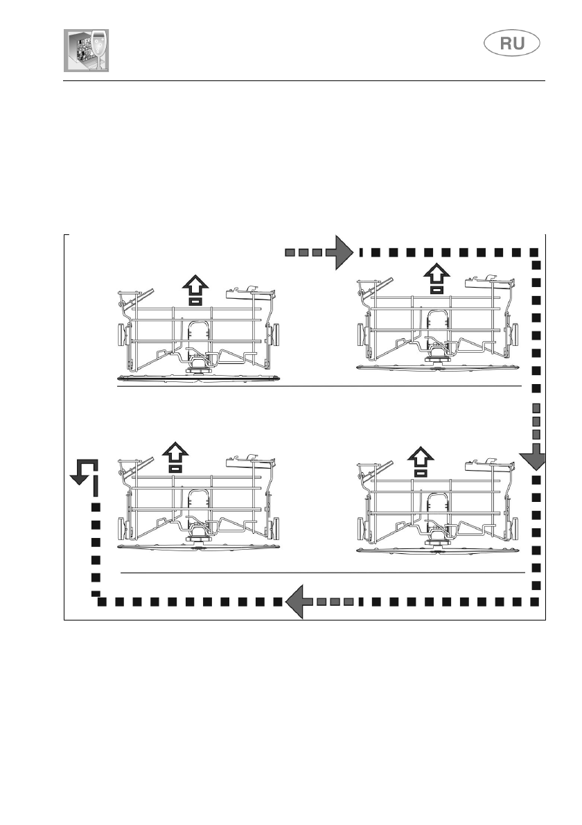
РЕГУЛИРОВКА ВЕРХНЕЙ КОРЗИНЫ
Верхнюю корзину можно регулировать по высоте, в зависимости от
необходимости и в зависимости от размера посуды в нижней корзине.
регулировка в 3 положениях (1
–
минимальная высота, 3
–
максимальная высота). Регулировка выполняется ступенями,
поднимая одновременно обе стороны корзины. Чтобы установить
корзину на минимальную высоту из любого положения, поднимите ее
до конца хода и затем отпустите.
Минимальная
Средняя
Максимальная
Опускание
Содержание
- 2 Инструкции для пользователя; Описание органов управления; Верхняя панель
- 4 ТАБЛИЦА ПРОГРАММ; СВЕРХЧИСТАЯ; ВАЖНО
- 5 ССЫЛКИ; НА; ENERGY LABEL; для посудомоечной машины:; EN; Оповещение
- 6 Программы мойки; выбирать функции, когда выполняется
- 7 Flexi Tabs; При отсутствии этой функции
- 8 ОТМЕНА ВЫПОЛНЯЕМОЙ ПРОГРАММЫ; ВЫБОРА ПРОГРАММ; ИЗМЕНЕНИЕ ПРОГРАММЫ
- 9 ДЛЯ ЭКОНОМИИ ЭЛЕКТРОЭНЕРГИИ И ОХРАНЫ ПРИРОДЫ
- 10 ВЫНИМАНИЕ ПОСУДЫ; выну ть посуду сначала из нижней
- 11 Инструкции по применению; Использование смягчителя воды; кг
- 12 РЕГУЛИРОВКА СМЯГЧИТЕЛЯ ВОДЫ; ИНДИКАТ ОР
- 13 ТАБЛИЦА ЖЕСТКОСТИ ВОДЫ
- 14 ДОБАВЛЕНИЕ ОПОЛАСКИВАТЕЛЯ
- 15 ДОБАВЛЕНИЕ МОЮЩЕГО СРЕДСТВА
- 16 Общие положения и рекомендации по безопасности
- 18 Использование корзин; НИЖНЯЯ КОРЗИНА; ЗАГРУЗКА НИЖНЕЙ КОРЗИНЫ
- 19 ПОСТАВКИ ЗА КОШ ОТДОЛУ; Корзина для столовых приборов оборудована специальными; независимыми откидными держателями; которые помогают
- 20 ВЕРХНЯЯ КОРЗИНА; Примеры загрузки
- 21 РЕГУЛИРОВКА ВЕРХНЕЙ КОРЗИНЫ; регулировка в 3 положениях (1
- 22 Чистка и уход; Общие предупреждения и рекомендации; ЧИСТКА ВХОДНОГО ФИЛЬТРА; ЧИСТКА
- 23 ЧИСТКА НИЖНЕГО КАЧАЮЩЕГОСЯ РАЗБРЫЗГИВАТЕЛЯ
- 24 ЧИСТКА СИСТЕМЫ ФИЛЬТРОВ
- 27 Исправление неисправностей в работе; acquastop
- 28 электронасос
Характеристики
Остались вопросы?Не нашли свой ответ в руководстве или возникли другие проблемы? Задайте свой вопрос в форме ниже с подробным описанием вашей ситуации, чтобы другие люди и специалисты смогли дать на него ответ. Если вы знаете как решить проблему другого человека, пожалуйста, подскажите ему :)













