Посудомоечные машины Smeg STA4505 - инструкция пользователя по применению, эксплуатации и установке на русском языке. Мы надеемся, она поможет вам решить возникшие у вас вопросы при эксплуатации техники.
Если остались вопросы, задайте их в комментариях после инструкции.
"Загружаем инструкцию", означает, что нужно подождать пока файл загрузится и можно будет его читать онлайн. Некоторые инструкции очень большие и время их появления зависит от вашей скорости интернета.

Инструкции для пользователя
13
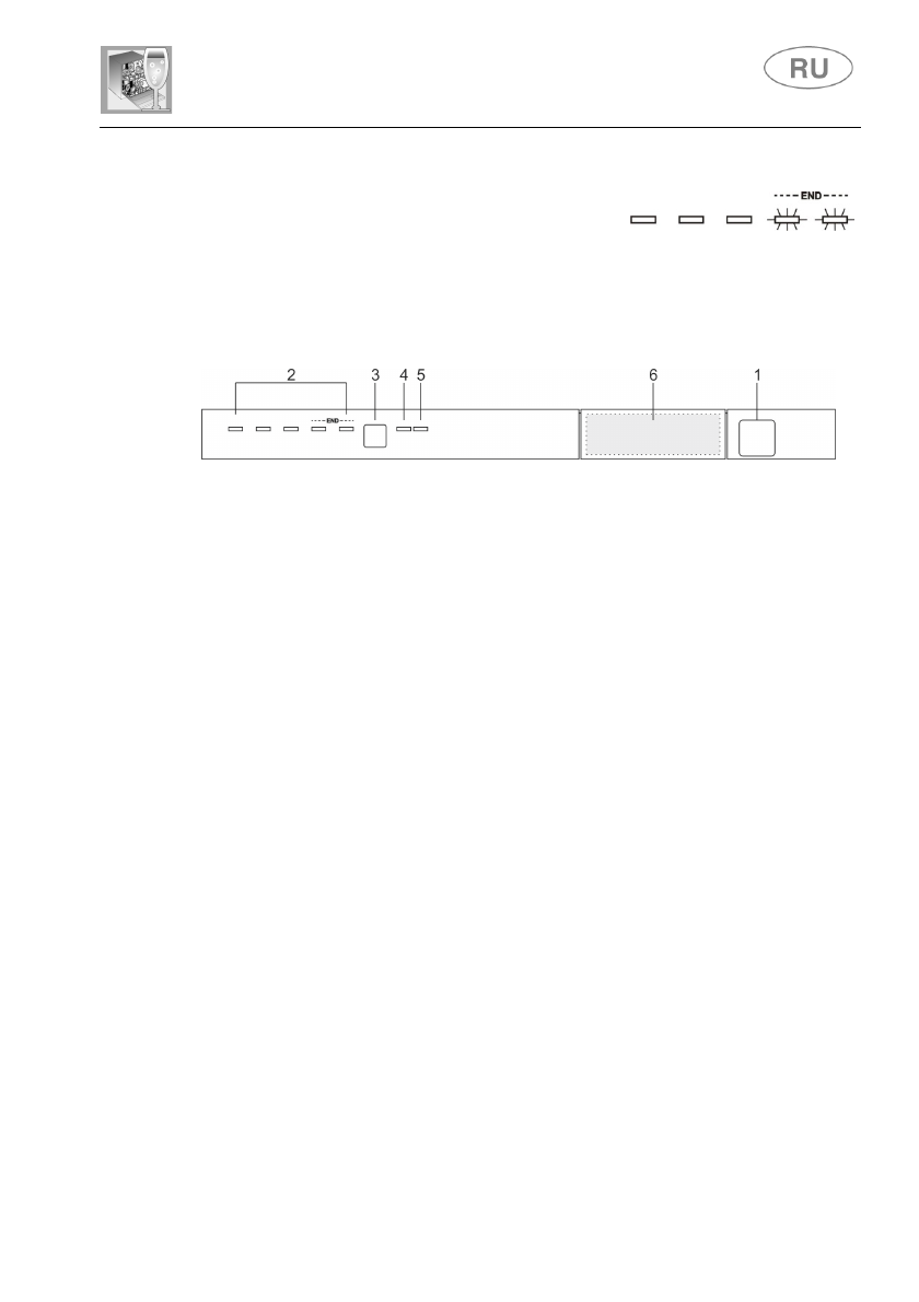
ВЫКЛЮЧЕНИЕ
В
конце
программы
посудомоечная
машина подаст короткий звуковой сигнал,
кроме того, начнут мигать
индикаторы
,
относящиеся к программам
№
4
и
5
(помечены надписью "end").
Чтобы выключить машину, следует открыть дверцу и нажать кнопку
ВКЛ/ВЫКЛ (1)
.
ЭКОНОМИЯ ЭНЕРГИИ
Спустя
5 минут бездействия
(цикл мойки завершен, прерван, был
выбран, но не запущен) для снижения расхода энергии
посудомоечная машина переходит в состояние
ожидания
.
В этом состоянии сигналы посудомоечной машины (при помощи
индикаторов или дисплея в зависимости от моделей) отображаются
более медленно (
1 вспышка
через каждые
5 секунд
).
ВЫНИМАНИЕ ПОСУДЫ
После завершения программы мойки подождите не менее
20 минут
перед
тем, как вынуть посуду, чтобы она остыла. Чтобы предотвратить падение
капель воды, оставшихся в верхней корзине, на посуду, находящуюся в
нижней корзине, рекомендуется
выну ть посуду сначала из нижней
корзины
, а потом из верхней.
Содержание
- 4 Инструкции для пользователя; Верхняя панель
- 5 Err
- 7 ТАБЛИЦА ПРОГРАММ; Программа; СВЕРХЧИСТАЯ; завершается противобактериальным ополаскиванием,; индикаторы программ; что противобактериальное действие не гарантируется.; ВАЖНО; Модели с дополнительной функцией; ENERSAVE
- 8 : прочтите таблицу
- 9 ССЫЛКИ; НА; ENERGY LABEL; для посудомоечной машины:; EN
- 10 Программы мойки; “Flexi Tabs”
- 11 Enersave; автоматически каждый раз,
- 12 Flexi Tabs; При отсутствии этой функции
- 13 ОТМЕНА ВЫПОЛНЯЕМОЙ ПРОГРАММЫ; ВЫБОРА ПРОГРАММ
- 14 ИЗМЕНЕНИЕ ПРОГРАММЫ; ДЛЯ ЭКОНОМИИ ЭЛЕКТРОЭНЕРГИИ И ОХРАНЫ ПРИРОДЫ
- 15 ВЫНИМАНИЕ ПОСУДЫ; выну ть посуду сначала из нижней
- 16 Инструкции по применению; Использование смягчителя воды; кг
- 17 РЕГУЛИРОВКА СМЯГЧИТЕЛЯ ВОДЫ; ИНДИКАТ ОР
- 18 ТАБЛИЦА ЖЕСТКОСТИ ВОДЫ
- 19 ДОБАВЛЕНИЕ ОПОЛАСКИВАТЕЛЯ
- 20 ДОБАВЛЕНИЕ МОЮЩЕГО СРЕДСТВА
- 21 Общие положения и рекомендации по безопасности
- 23 Использование корзин; НИЖНЯЯ КОРЗИНА; струя воды из нижнего разбрызгивателя беспрепятственно; ЗАГРУЗКА НИЖНЕЙ КОРЗИНЫ
- 24 ПОСТАВКИ ЗА КОШ ОТДОЛУ; Корзина для столовых приборов оборудована специальными; независимыми откидными держателями; которые помогают
- 25 ВЕРХНЯЯ КОРЗИНА; пластиковая; ЗАГРУЗКА ВЕРХНЕЙ КОРЗИНЫ; Примеры загрузки
- 26 РЕГУЛИРОВКА ВЕРХНЕЙ КОРЗИНЫ
- 27 Чистка и уход; Общие предупреждения и рекомендации; ЧИСТКА ВХОДНОГО ФИЛЬТРА; ЧИСТКА РАЗБРЫЗГИВАТЕЛЕЙ
- 28 ЧИСТКА НИЖНЕГО КАЧАЮЩЕГОСЯ РАЗБРЫЗГИВАТЕЛЯ
- 29 ЧИСТКА СИСТЕМЫ ФИЛЬТРОВ
- 32 Исправление неисправностей в работе; acquastop
- 33 электронасос
Характеристики
Остались вопросы?Не нашли свой ответ в руководстве или возникли другие проблемы? Задайте свой вопрос в форме ниже с подробным описанием вашей ситуации, чтобы другие люди и специалисты смогли дать на него ответ. Если вы знаете как решить проблему другого человека, пожалуйста, подскажите ему :)