Посудомоечные машины Smeg ST2FABCR2 - инструкция пользователя по применению, эксплуатации и установке на русском языке. Мы надеемся, она поможет вам решить возникшие у вас вопросы при эксплуатации техники.
Если остались вопросы, задайте их в комментариях после инструкции.
"Загружаем инструкцию", означает, что нужно подождать пока файл загрузится и можно будет его читать онлайн. Некоторые инструкции очень большие и время их появления зависит от вашей скорости интернета.

Инструкции для пользователя
37
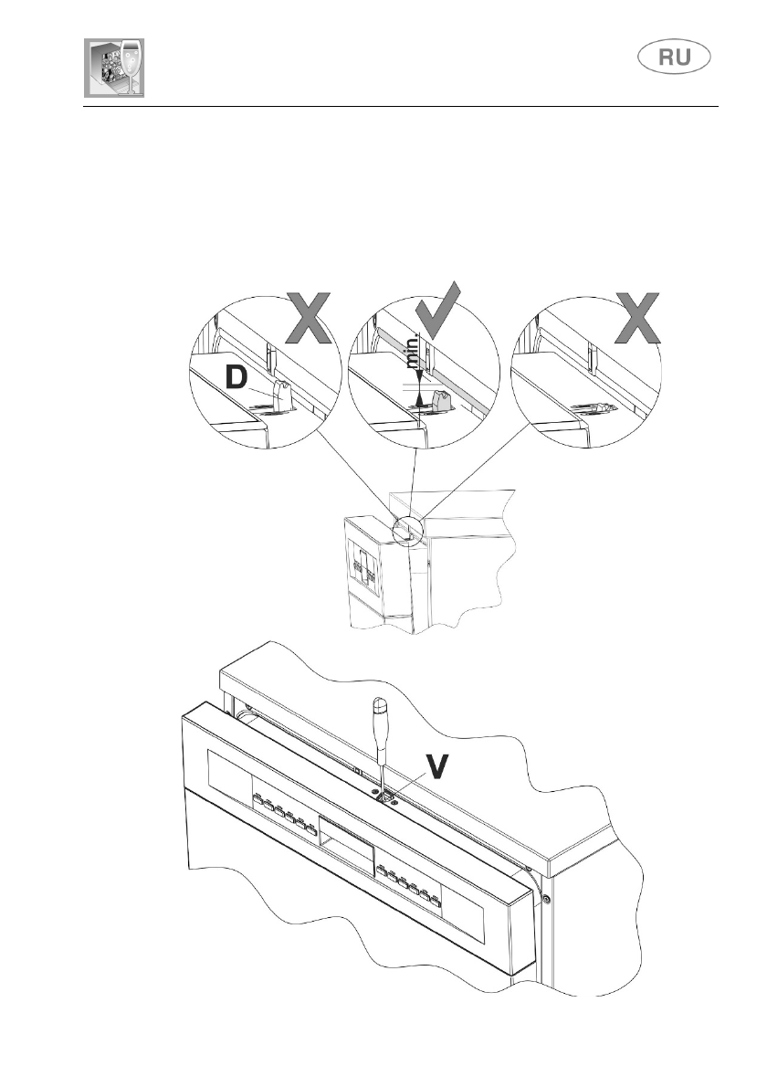
Если дверца не закрывается:
1 -
проверьте положение зубца замка
(D)
2 -
если необходимо, поднимите его при помощи пластикового винта
(V)
, расположенного рядом с зубцом.
3 -
проверьте также состояние крюка замка
(G)
. Если он не сработал
(ссылка
N
), дверца открывается и закрывается нормально. Если он
сработал (ссылка
S
), закройте дверцу с усилием, пока не произойдет
приведение в положение готовности. Откройте и закройте дверцу.
Содержание
- 2 Инструкции для пользователя; Описание прибора и программы мойки; Панель управления
- 3 Flexi Tabs
- 4 ВЫБОР ПРОГРАММЫ И ВКЛЮЧЕНИЕ
- 5 ТАБЛИЦА ПРОГРАММ; ВАЖНО; : прочтите таблицу; СВЕРХЧИСТАЯ; завершается противобактериальным ополаскиванием,; индикаторы программ; что противобактериальное действие не гарантируется.
- 6 ДОПОЛНИТЕЛЬНЫЕ ПРОГРАММЫ
- 7 «ENERSAVE»; ENERSAVE; ССЫЛКИ; НА; ENERGY LABEL; для посудомоечной машины:; EN
- 8 Оповещение; Программы мойки; Внимание
- 11 Flexi Tabs; При отсутствии этой функции; ЗАДЕРЖКА ВКЛЮЧЕНИЯ ПРОГРАММЫ
- 12 ОТМЕНА ПРОГРАММЫ; ИЗМЕНЕНИЕ ПРОГРАММЫ; ДЛЯ ЭКОНОМИИ ЭЛЕКТРОЭНЕРГИИ
- 13 ВЫНИМАНИЕ ПОСУДЫ; реком ендуется
- 14 Инструкции по применению; Использование смягчителя воды
- 15 РЕГУЛИРОВКА СМЯГЧИТЕЛЯ; Настройку осуществляется с помощью; КНОПКИ ВЫБОРА; . Удерживайте нажатой кнопку до тех пор, пока не; ИНДИКАТОР ЖЕСТКОСТИ ВОДЫ; показывают
- 16 Настройка по умолчанию:
- 17 ДОБАВЛЕНИЕ ОПОЛАСКИВАТЕЛЯ; Откройте емкость, нажав и приподняв язычок на крышке.
- 18 НАСТРОЙКА КОЛИЧЕСТВА ОПОЛАСКИВАТЕЛЯ; ТАБЛИЦА РЕГУЛИРОВКИ ОПОЛАСКИВАТЕЛЯ
- 19 ЗАЛИВКА МОЮЩЕГО СРЕДСТВА; . Залейте моющее средство или поместите
- 21 Общие
- 23 Использование корзин; Эта посудомоечная машина рассчитана на; 3 комплектов посуды,; включая сервировочную посуду.; НИЖНЯЯ КОРЗИНА; ПОСТАВКИ ЗА КОШ ОТДОЛУ; Поставките се доставят в
- 24 ЗАГРУЗКА НИЖНЕЙ КОРЗИНЫ; ВЕРХНЯЯ КОРЗИНА; или чайными чашками,; ЗАГРУЗКА ВЕРХНЕЙ КОРЗИНЫ
- 26 FLEXIDUO; Состоит из
- 28 ОСНАСТКА ВЕРХНЕЙ КОРЗИНЫ; Его можно снять, для этого следует одновременно нажать на
- 29 Откидные элементы; Для мелкой утвари, чайных и кофейных чашек.
- 30 Откидные держатели
- 31 РЕГУЛИРОВКА ВЕРХНЕЙ КОРЗИНЫ; Версия А; трех положениях
- 32 Чистка и обслуживание; Предупреждения и общие рекомендации; ЧИСТКА НАЛИВНОГО ФИЛЬТРА ВОДЫ
- 34 модели с планетарным распылителем
- 37 Если дверца не закрывается:
- 39 Исправление неисправностей в; acquastop
- 40 электронасос
Характеристики
Остались вопросы?Не нашли свой ответ в руководстве или возникли другие проблемы? Задайте свой вопрос в форме ниже с подробным описанием вашей ситуации, чтобы другие люди и специалисты смогли дать на него ответ. Если вы знаете как решить проблему другого человека, пожалуйста, подскажите ему :)













