Посудомоечные машины Smeg PLA4525X - инструкция пользователя по применению, эксплуатации и установке на русском языке. Мы надеемся, она поможет вам решить возникшие у вас вопросы при эксплуатации техники.
Если остались вопросы, задайте их в комментариях после инструкции.
"Загружаем инструкцию", означает, что нужно подождать пока файл загрузится и можно будет его читать онлайн. Некоторые инструкции очень большие и время их появления зависит от вашей скорости интернета.

Инструкции
для
пользователя
27
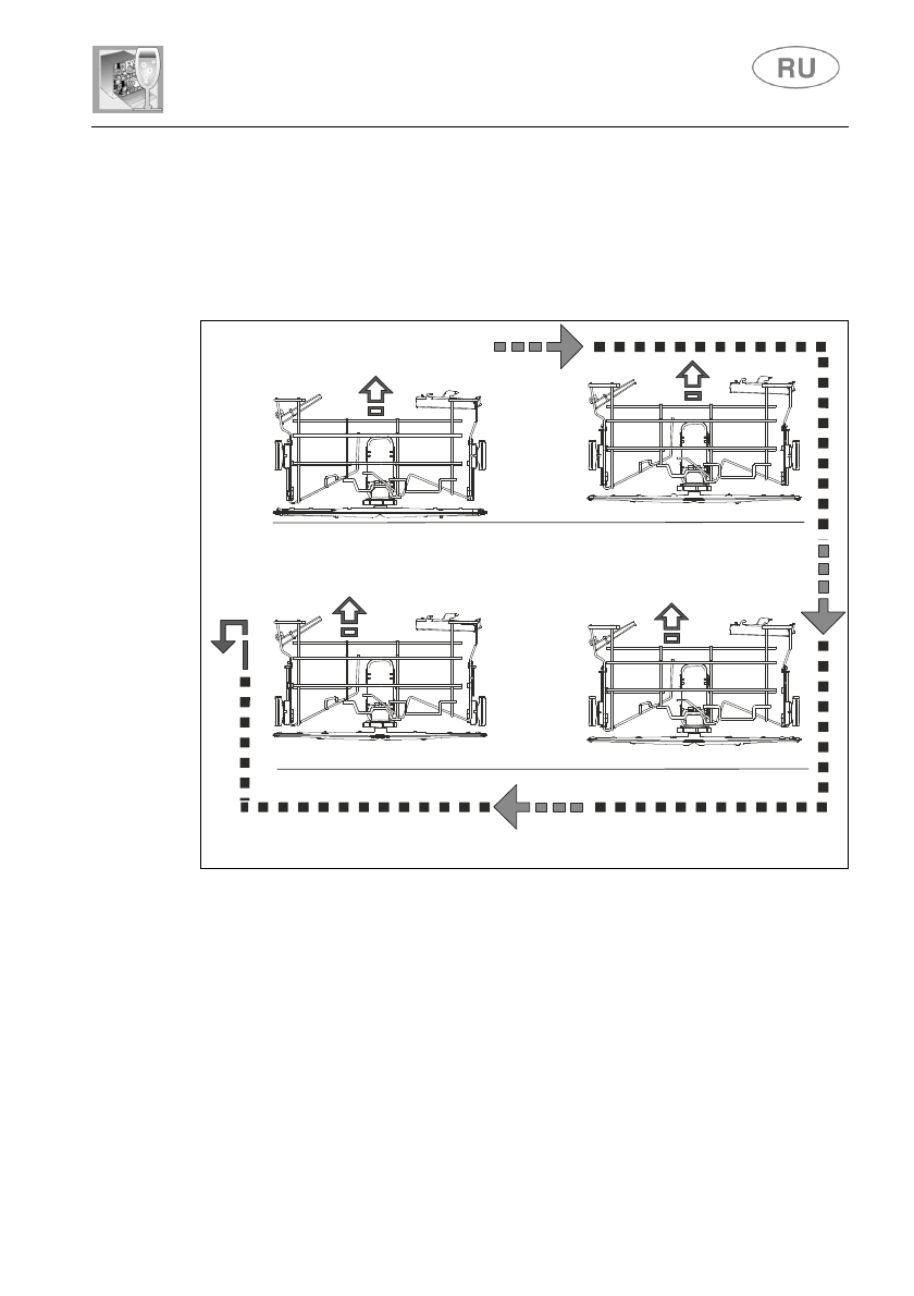
Система
быстрой
регулировки
подъемом
quicklift:
регулировка
в
3
положениях
(1 –
минимальная
высота
, 3 –
максимальная
высота
).
Регулировка
выполняется
ступенями
,
поднимая
одновременно
обе
стороны
корзины
.
Чтобы
установить
корзину
на
минимальную
высоту
из
любого
положения
,
поднимите
ее
до
конца
хода
и
затем
отпустите
.
Минимальна
Минимальна
Опускание
Максимальная












