Посудомоечные машины Smeg LP364XS - инструкция пользователя по применению, эксплуатации и установке на русском языке. Мы надеемся, она поможет вам решить возникшие у вас вопросы при эксплуатации техники.
Если остались вопросы, задайте их в комментариях после инструкции.
"Загружаем инструкцию", означает, что нужно подождать пока файл загрузится и можно будет его читать онлайн. Некоторые инструкции очень большие и время их появления зависит от вашей скорости интернета.

Инструкции
для
пользователя
9
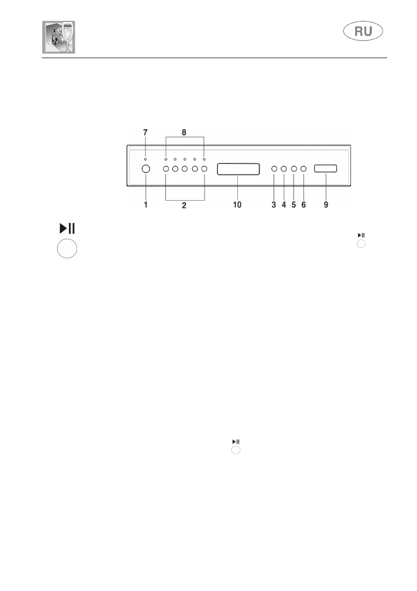
Нажимая
кнопку
,
соответствующую
необходимой
программе
(
см
.
таблицу
программ
),
загорается
соответствующий
индикатор
,
подтверждая
выполнение
операции
,
а
на
ДИСПЛЕЕ
появляется
оценка
продолжительности
программы
с
указанием
часов
и
минут
("
ч
.
мм
").
ЗАПУСК
ПРОГРАММЫ
Для
включения
машины
нажмите
кнопку
ПУСК
/
ПАУЗА
на
несколько
секунд
,
пока
символ
ПУСК
/
ПАУЗА
не
начнет
мигать
,
и
не
послышится
подтверждающий
звуковой
сигнал
.
После
этого
продолжительность
цикла
на
ДИСПЛЕЕ
начнет
уменьшаться
.
Это
время
,
изменяющееся
во
время
цикла
,
является
"
приблизительным
",
так
как
на
него
влияют
условия
мойки
,
такие
как
количество
и
тип
посуды
,
температура
воды
на
входе
и
т
.
д
.
По
этой
причине
коррекция
продолжительности
во
время
выполнения
программы
является
совершенно
нормальной
(
увеличение
или
уменьшение
минут
),
в
особенности
при
переходе
от
одной
фазы
к
другой
(
например
,
от
мойки
к
ополаскиванию
).
КОНЕЦ
ПРОГРАММЫ
Конец
программы
будет
обозначен
коротким
звуковым
сигналом
и
надписью
“End”
на
ДИСПЛЕЕ
.
Нажимая
одну
из
кнопок
программы
,
с
дисплея
исчезает
надпись
“End”,
и
посудомоечная
машина
будет
готова
к
выполнению
нового
цикла
.
ПРЕКРАЩЕНИЕ
ВЫПОЛНЕНИЯ
ПРОГРАММЫ
Для
приостановки
выполняемой
программы
необходимо
:
•
нажать
кнопку
ПУСК
/
ПАУЗА
на
несколько
секунд
,
пока
символ
ПУСК
/
ПАУЗА
не
загорится
на
дисплее
(
подтверждающий
звуковой
сигнал
).
После
этого
можно
будет
вновь
включить
цикл
,
или
же
:












