Посудомоечные машины Schaub Lorenz SLG SE6300 - инструкция пользователя по применению, эксплуатации и установке на русском языке. Мы надеемся, она поможет вам решить возникшие у вас вопросы при эксплуатации техники.
Если остались вопросы, задайте их в комментариях после инструкции.
"Загружаем инструкцию", означает, что нужно подождать пока файл загрузится и можно будет его читать онлайн. Некоторые инструкции очень большие и время их появления зависит от вашей скорости интернета.

ЗНАКОМСТВО С ПРИБОРОМ
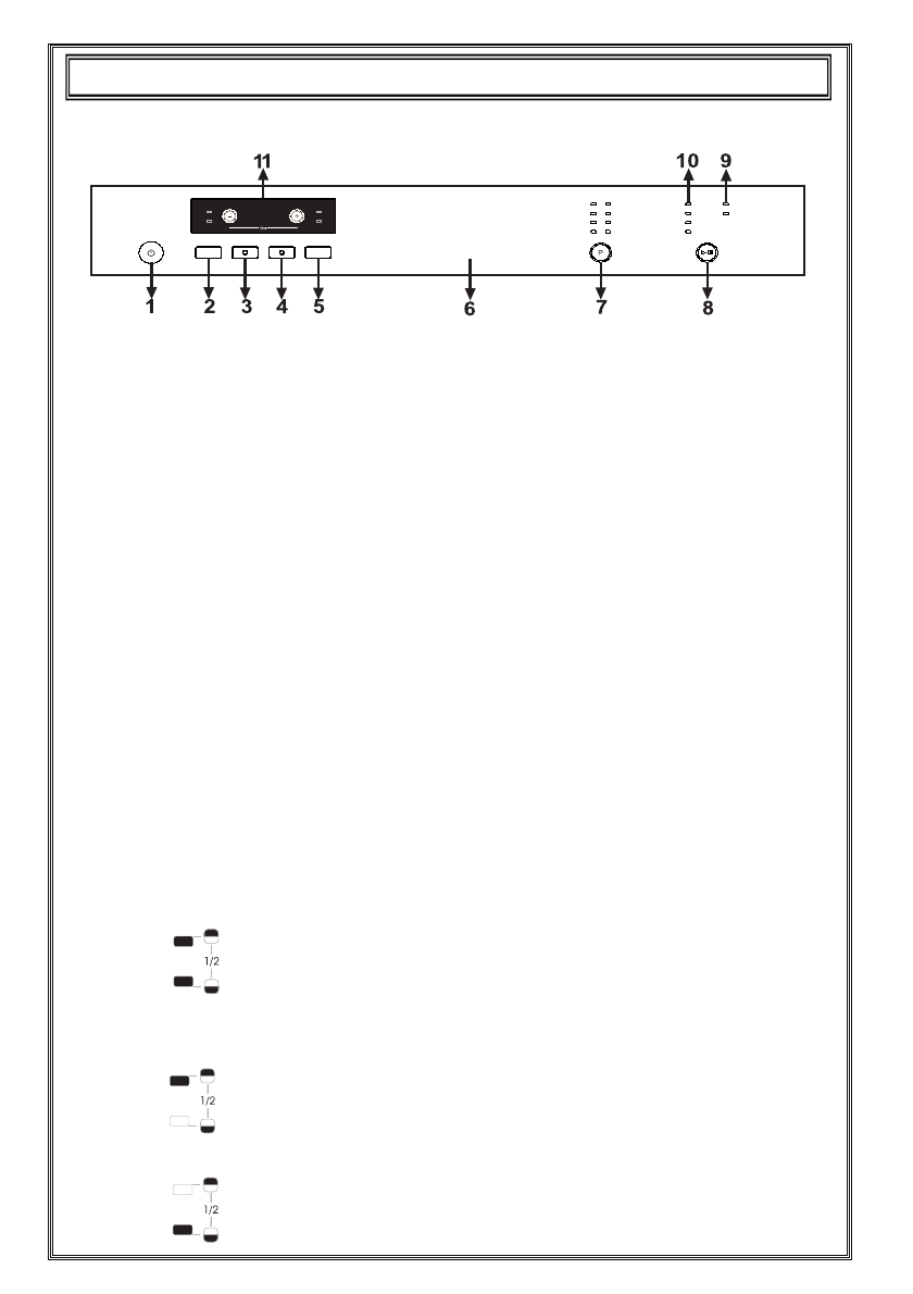
1.)
Кнопка
ВКЛ
./
ВЫКЛ
.
После
нажатия
кнопки
ВКЛ
./
ВКЛ
.
к
прибору
поступает
питание
,
и
загорается
лампочка
кнопки
запуска
/
ожидания
.
3
.
3.)
Кнопка
"
экстра
гигиены
"
При
использовании
этой
функции
может
быть
изменена
температура
и
периоды
мытья
во
время
соответствующих
циклов
,
что
обеспечивает
более
гигиеничное
мытьё
.
4.)
Кнопка
таблетированного
моющего
средства
Нажимайте
эту
кнопку
при
использовании
комбинированного
моющего
средства
,
содержащего
соль
,
ополаскиватель
и
дополнительные
вещества
.
2.)
Кнопка
дополнительного
ополаскивания
/
сушки
С
помощью
этой
кнопки
вы
можете
добавить
в
выбранную
программу
функции
дополнительного
ополаскивания
и
сушки
.
После
выбора
функции
дополнительного
ополаскивания
загорается
сигнал
в
левой
верхней
части
индикатора
,
таким
образом
,
в
выбранную
программу
добавляется
цикл
мытья
-
ополаскивания
,
чтобы
ваша
посуда
была
более
чистой
и
блестящей
.
После
выбора
функции
дополнительной
сушки
загорается
сигнал
в
левой
нижней
части
индикатора
,
таким
образом
,
в
выбранную
программу
будет
добавлен
цикл
дополнительного
нагрева
и
сушки
,
чтобы
ваша
посуда
была
идеально
высушена
.
5.)
Кнопка
½ (
половинная
нагрузка
)
При
использовании
функции
½
возможны
три
вида
мытья
:
в
нижней
,
верхней
или
обеих
корзинах
.
Если
вы
поместили
посуду
только
в
верхнюю
корзину
,
нажмите
кнопку
½
и
выберите
положение
,
в
котором
светится
верхняя
лампочка
.
Таким
образом
,
мытьё
будет
выполняться
только
в
верхней
корзине
машины
.
При
использовании
этой
функции
в
нижней
корзине
не
должно
находиться
никакой
посуды
.
Если
в
машине
мало
посуды
,
которую
необходимо
помыть
,
в
некоторых
программах
можно
включить
дополнительную
функцию
половинного
заполнения
.
Если
вы
поместили
посуду
в
обе
корзины
,
нажмите
кнопку
½
и
выберите
положение
,
в
котором
светятся
обе
лампочки
.
Если
вы
поместили
посуду
только
в
нижнюю
корзину
,
нажмите
кнопку
½
и
выберите
положение
,
в
котором
светится
нижняя
лампочка
.
2
8
Характеристики
Остались вопросы?Не нашли свой ответ в руководстве или возникли другие проблемы? Задайте свой вопрос в форме ниже с подробным описанием вашей ситуации, чтобы другие люди и специалисты смогли дать на него ответ. Если вы знаете как решить проблему другого человека, пожалуйста, подскажите ему :)