Посудомоечные машины Samsung DW60R7050BB - инструкция пользователя по применению, эксплуатации и установке на русском языке. Мы надеемся, она поможет вам решить возникшие у вас вопросы при эксплуатации техники.
Если остались вопросы, задайте их в комментариях после инструкции.
"Загружаем инструкцию", означает, что нужно подождать пока файл загрузится и можно будет его читать онлайн. Некоторые инструкции очень большие и время их появления зависит от вашей скорости интернета.

Русский 33
Ус
тановк
а
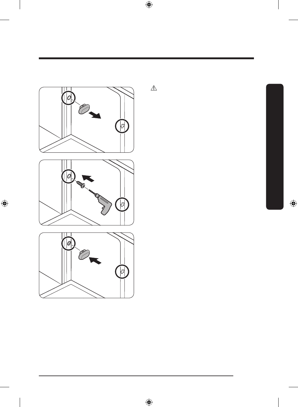
Крепление к боковым стенкам
ОСТОРОЖНО!
Если пластиковые заглушки не будут установлены
на место, протечка воды может привести
к возникновению пожара или поражению
электрическим током.
1.
Выньте пластиковые заглушки.
2.
Закрутите два винта (Ø3,5 X 16) в двух точках
(отмечены на рисунке).
3.
Установите две пластиковые заглушки, идущие в
комплекте, в точки установки винтов.
4.
Подсоедините шланг подачи воды, но не
открывайте кран, пока не будет завершена
установка.
DW7500RM_DD81-02968J-01_RU.indd 33
2020-10-15 3:33:04
Содержание
- 3 Поиск и устранение неисправностей
- 4 Меры пред; Важные сведения по технике безопасности; ПРЕДУПРЕЖДЕНИЕ
- 5 Инструкции по утилизации оборудования с маркировкой WEEE
- 6 Важные меры предосторожности; Чтобы снизить риск возникновения пожара, поражения
- 7 Для стран Европы
- 8 Инструкции по использованию посудомоечной машины
- 9 Отложенный запуск; Инструкции для обеспечения безопасности детей
- 10 Инструкции по установке посудомоечной машины; Краткий обзор посудомоечной машины
- 12 Отсек для соли
- 13 Установка; Комплект поставки
- 15 Комплект для монтажа (не входит в комплект поставки)
- 16 Требования по установке; Подача питания; Заземление; Подача воды
- 17 Слив; Окружающая температура
- 18 Пошаговая инструкция по установке; Выберите место установки; Установка в новом месте
- 19 Размеры шкафа; ПРИМЕЧАНИЕ
- 20 Установка дополнительных ножек (кроме отдельно стоящих моделей)
- 21 Прокладка шлангов
- 30 Выравнивание посудомоечной машины
- 32 Закрепление посудомоечной машины
- 33 Крепление к боковым стенкам
- 34 Подсоединение сливного шланга; Окончательная проверка
- 35 Фальшпанель
- 38 Подготовка к работе
- 40 По; Предметы, не подходящие для мытья в посудомоечной машине
- 41 Основные принципы использования полок; Регулировка высоты
- 42 Загрузка посуды; Нижняя полка
- 45 Отсек для моющего средства; Загрузка моющего средства
- 47 Резервуар ополаскивателя; Добавление ополаскивателя
- 48 Наполнение отсека для соли
- 49 Индикатор соли; Скорость отклика сенсорной панели
- 50 Режим настройки; Переход в режим настройки; АВТО; Настройка звука; Только нижняя полка; Настройка функции автоматического открытия дверцы; Ускорение
- 51 Настройка уровня ополаскивателя
- 52 Эксплуатация; Панель управления; Обзор циклов
- 53 Индикаторы
- 55 Простые действия для начала работы
- 56 Регулировка потребления соли
- 59 Техническое обслуживание; Очистка; Корпус; Внутренняя поверхность
- 60 Сопла; Верхнее сопло
- 61 Фильтр
- 62 Меры по уходу, рассчитанные на длительное время
- 63 Контрольные точки
- 64 Симптом
- 66 Поиск и у; Информационные коды
- 67 Таблица циклов
- 69 ение; Приложение; ЭКО; Защита от замерзания; Транспортировка/перемещение; Утилизация посудомоечной машины и защита окружающей среды
- 70 Технические характеристики
- 71 Стандартное тестирование
- 73 Технические данные изделия












