Посудомоечные машины Miele G6620 SC - инструкция пользователя по применению, эксплуатации и установке на русском языке. Мы надеемся, она поможет вам решить возникшие у вас вопросы при эксплуатации техники.
Если остались вопросы, задайте их в комментариях после инструкции.
"Загружаем инструкцию", означает, что нужно подождать пока файл загрузится и можно будет его читать онлайн. Некоторые инструкции очень большие и время их появления зависит от вашей скорости интернета.

Описание прибора
7
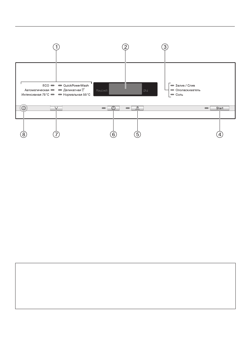
Панель управления
a
Список программ
b
Индикация времени
c
Индикаторы контроля/недостатка
средств
d
Кнопка
Старт
с индикатором
e
Кнопка
(Короткая) с индикато-
ром
f
Кнопка
(отсрочка старта ) с ин-
дикатором
g
Кнопка выбора программ
h
Кнопка
(Вкл/Выкл)
В этой инструкции по эксплуатации описано несколько моделей посудомо-
ечных машин разной высоты.
Разные модели машин обозначаются следующим образом:
стандартная = посудомоечная машина высотой 80,5 см (встраиваемая)
или высотой 84,5 см (отдельно стоящая)
XXL = посудомоечная машина высотой 84,5 см (встраиваемая).
Содержание
- 3 Содержание
- 4 Программные опции
- 6 Описание прибора; Устройство прибора; Верхний короб
- 7 Панель управления; Старт
- 8 Указания по безопасности и предупреждения
- 9 Надлежащее использование; Эта посудомоечная машина предназначена для использова-
- 10 Если у Вас есть дети
- 11 Техническая безопасность
- 15 Правильная установка
- 16 Правильная эксплуатация
- 17 Принадлежности
- 18 Ваш вклад в охрану окружающей среды; Утилизация прибора
- 19 Экономное мытье посуды; ECO
- 20 Первый ввод в эксплуатацию; Открывание дверцы; Если вода в посудомоечной; Закрывание дверцы; Задвиньте короба для посуды.; Защита от детей
- 21 Устройство смягчения воды; – Для работы устройства смягчения
- 24 Регенерационная соль; ниже 5 °d
- 25 Заполнение контейнера солью
- 26 Индикатор недостатка соли
- 27 Ополаскиватель
- 28 Если загорается индикатор
- 29 кая
- 30 Размещение посуды и столовых приборов
- 31 Серебро
- 32 – После большого количества циклов
- 33 FlexAssist; В целях безопасности про-; Подставка для чашек
- 34 Перестановка верхнего короба
- 36 Нижний короб; Область MultiComfort
- 37 Откидные направляющие
- 38 Столовые приборы
- 39 и откиньте их
- 40 Корзина для столовых приборов
- 45 Эксплуатация; Моющее средство; Виды моющих средств
- 46 Дозировка моющего средства
- 48 Включение; Мигает индикатор; Выбор программы; В главе
- 49 Запуск программы; Нажмите кнопку; Индикация времени
- 50 Завершение программы; В программе
- 51 Выключение; После завершения программы:
- 52 Замена программы
- 53 Короткая; вызывает выполнение одного цик-
- 55 Отсрочка старта; лишь
- 57 томатическая
- 58 Память
- 59 Функция AutoOpen
- 61 Заводские настройки
- 62 Обзор программ; Программа
- 63 Расход
- 64 Посуда
- 65 Ячейка I
- 66 Чистка и уход; На всех поверхностях легко; Очистка моечной камеры
- 68 Не разрешается выполнять; Чистка фильтров; Выньте комбинированный фильтр
- 69 сатор фильтра
- 70 верхнее
- 71 Технические неполадки; Проблема
- 73 Неполадки в системе подачи воды; Неполадки в системе слива воды; Слив
- 74 Общие проблемы с работой посудомоечной машины
- 75 Шумы
- 76 Неудовлетворительный результат мойки
- 80 Устранение неисправностей; Пластмассовый корпус на кон-
- 81 Обязательно должна произой-
- 82 Сервисная служба; Ремонтные работы; Гарантийный срок составляет 2 года.; Сертификат соответствия; – При температуре от –25 °C до; Дата изготовления
- 83 Дополнительно приобретаемые принадлежности; Моющие средства; Таблетки для мытья посуды
- 84 Уход за прибором; Средство для очистки от накипи
- 85 Электроподключение; После установки машины ро-
- 86 Подключение воды; Залив воды
- 87 Слив воды
- 88 Технические характеристики; Модель машины
- 89 Гарантия качества товара
- 91 Контактная информация о Miele
- 95 Факс
Характеристики
Остались вопросы?Не нашли свой ответ в руководстве или возникли другие проблемы? Задайте свой вопрос в форме ниже с подробным описанием вашей ситуации, чтобы другие люди и специалисты смогли дать на него ответ. Если вы знаете как решить проблему другого человека, пожалуйста, подскажите ему :)













