Посудомоечные машины Miele G 4700 - инструкция пользователя по применению, эксплуатации и установке на русском языке. Мы надеемся, она поможет вам решить возникшие у вас вопросы при эксплуатации техники.
Если остались вопросы, задайте их в комментариях после инструкции.
"Загружаем инструкцию", означает, что нужно подождать пока файл загрузится и можно будет его читать онлайн. Некоторые инструкции очень большие и время их появления зависит от вашей скорости интернета.

Описание прибора
7
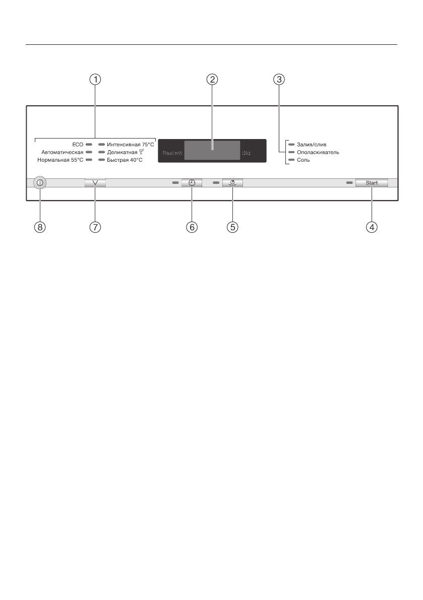
Панель управления
a
Список программ
b
Индикация времени
c
Индикаторы контроля / недостатка
средств
d
Кнопка
Старт
с индикатором
e
Кнопка
(Короткая) с индикато-
ром
f
Кнопка
(отсрочка старта ) с ин-
дикатором
g
Кнопка выбора программ
h
Кнопка
(Вкл/Выкл)
Содержание
- 3 Содержание
- 4 Программные опции
- 6 Описание прибора; Устройство прибора; Верхний короб
- 7 Панель управления; Старт
- 8 Указания по безопасности и предупреждения
- 9 Надлежащее использование; Эта посудомоечная машина предназначена для использова-
- 10 Если у Вас есть дети
- 11 Техническая безопасность
- 14 Поврежденная посудомоечная машина может представлять
- 15 Правильная установка
- 16 Правильная эксплуатация
- 17 Принадлежности
- 18 Ваш вклад в охрану окружающей среды; – Гофрированный картон из 100%; Утилизация прибора
- 19 Экономное мытье посуды; ECO
- 20 Первый ввод в эксплуатацию; Открывание дверцы; Если вода в посудомоечной; Закрывание дверцы; Задвиньте короба для посуды.; Защита от детей
- 21 Устройство смягчения воды; – Для работы устройства смягчения
- 24 Регенерационная соль; ниже 5 °d
- 25 Заполнение контейнера солью
- 26 Индикатор недостатка соли
- 27 Ополаскиватель
- 28 Если загорается индикатор
- 29 кая
- 30 Размещение посуды и столовых приборов
- 31 Серебро
- 32 – После большого количества циклов
- 33 В целях безопасности про-
- 34 Перестановка верхнего короба
- 35 Нижний короб; Откидные направляющие
- 36 Снятие
- 37 Столовые приборы
- 40 Эксплуатация; Моющее средство; Виды моющих средств
- 41 Дозировка моющего средства
- 43 Включение; Мигает индикатор; Выбор программы; В главе
- 44 Запуск программы; Нажмите кнопку; Индикация времени
- 45 Завершение программы
- 46 Выключение; После завершения программы:
- 47 Замена программы
- 48 Короткая
- 50 Отсрочка старта; лишь
- 52 томатическая
- 53 Память
- 55 Заводские настройки
- 56 Обзор программ; Программа
- 57 Расход
- 58 Посуда
- 59 Ячейка I
- 60 Чистка и уход; На всех поверхностях легко; Очистка моечной камеры
- 62 Не разрешается выполнять; Чистка фильтров; Выньте комбинированный фильтр
- 63 сатор фильтра
- 64 верхнее
- 65 В результате ремонтных работ, выполненных ненадлежащим образом,; Технические неполадки; Проблема
- 67 Неполадки в системе подачи воды; Неполадки в системе слива воды; Слив
- 68 Общие проблемы с работой посудомоечной машины
- 69 Шумы
- 70 Неудовлетворительный результат мойки
- 74 Устранение неисправностей; Пластмассовый корпус на кон-
- 75 те его под струей воды.
- 76 Сервисная служба; Ремонтные работы; Гарантийный срок составляет 2 года.; Сертификат соответствия; – При температуре от –25 °C до; Дата изготовления
- 77 Дополнительно приобретаемые принадлежности; Моющие средства; Таблетки для мытья посуды
- 78 Уход за прибором; Средство для очистки от накипи; Вставка для капучинатора
- 79 Электроподключение; После установки машины ро-; Дополнительно для Украины
- 80 Подключение воды; Залив воды
- 81 Слив воды
- 82 Технические характеристики
- 83 Гарантия качества товара
- 85 Контактная информация о Miele
- 87 Факс












