Посудомоечные машины Midea MID45S700 - инструкция пользователя по применению, эксплуатации и установке на русском языке. Мы надеемся, она поможет вам решить возникшие у вас вопросы при эксплуатации техники.
Если остались вопросы, задайте их в комментариях после инструкции.
"Загружаем инструкцию", означает, что нужно подождать пока файл загрузится и можно будет его читать онлайн. Некоторые инструкции очень большие и время их появления зависит от вашей скорости интернета.

И Н С Т Р У К Ц И Я П О Э К С П Л У А Т А Ц И И
ВАЖНО
Для обеспечения лучшей производительности посудомоечной машины необходимо
прочитать все инструкции по эксплуатации до первого использования машины
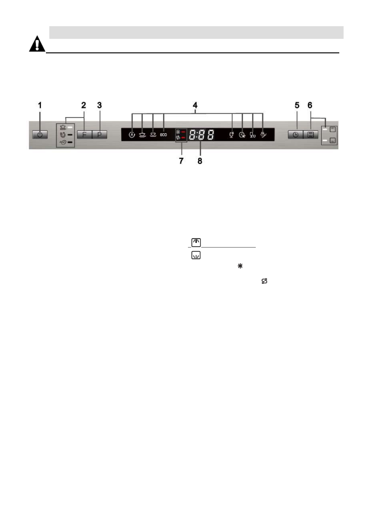
Панель управления
1. Кнопка Вкл/Выкл.
5. Кнопка «Задержка»: нажмите на кнопку, чтобы
установить время отложенного старта.
2. Кнопка «Функция» и индикатор: нажмите на кнопку,
чтобы выбрать необходимую функцию, а индикатор
покажет, какую функцию Вы выбрали.
6. Кнопка выбора функции двузонной мойки Dual zone:
нажмите на кнопку, чтобы выбрать верхнюю корзину,
либо нижнюю. На дисплее загорится соответствующий
значок.
Верхняя корзина
Нижняя корзина
3. Кнопка «Программа»: для выбора программы мойки.
7. Индикатор соли : указывает, когда распределитель
должен быть пополнен.
Индикатор ополаскивателя : указывает, когда
распределитель должен быть пополнен.
4. Индикаторы программ: показывают, какую программу
Вы выбрали.
8. Экран дисплея: показывает напоминания времени,
состояние (текущее состояние, отложенный старт).
7












