Посудомоечные машины LEX PM 6052 - инструкция пользователя по применению, эксплуатации и установке на русском языке. Мы надеемся, она поможет вам решить возникшие у вас вопросы при эксплуатации техники.
Если остались вопросы, задайте их в комментариях после инструкции.
"Загружаем инструкцию", означает, что нужно подождать пока файл загрузится и можно будет его читать онлайн. Некоторые инструкции очень большие и время их появления зависит от вашей скорости интернета.

14
ОПИСАНИЕ ОБОРУДОВАНИЯ
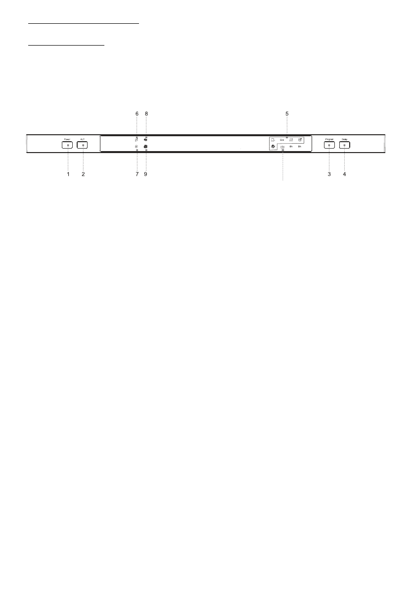
Панель управления
1. Переключатель питания: для включения/ выключения питания.
2. Дополнительная функциональная кнопка: нажимая данную кнопку можно выбрать
дополнительную функцию "3
IN
1" [3 В 1] или dry+ [Дополнительная сушка], и мигает
соответствующий огонек.
3. Кнопка выбора программ: нажмите кнопку для выбора программы.
4. Отсроченный пуск: однократно нажимая кнопку
DELAY
[ОТСРОЧКА], можно выбрать
отсроченный пуск через
6
час
о
в, длительное нажатие кнопки во второй раз увеличит срок
до 6
часов
.
Длительное
нажа
т
ие
в
т
ре
т
и
й
ра
з
м
оже
т
о
тм
ени
ть
выб
ор
о
тс
ро
ч
енно
г
о
пуск
а
.
5. Индикатор программы: когда вы выбираете программу посудомоечной машины,
загорается соответствующий индикатор.
6.
Индикатор наполнения соли: индикатор загорается, когда смягчитель необходимо
заполнить.
7. Индикатор наполнения ополаскивателя: индикатор загорается, когда дозатор
необходимо наполнить.
8. Индикатор 3
in
1 [3 в 1]: индикатор загорается, когда выбрана соответствующая
функция.
9. Индикатор Dry+ [Дополнительная сушка]: увеличение температуры во время этапа
споласкивания улучшит процесс сушки. Индикатор
появится, когда
нажата
кнопка
Dry+.
10. Индикатор половинной загрузки. Индикатор загорается, когда выбрана
соответствующая функция.
10
Содержание
- 3 Уважаемый покупатель!
- 5 поменяйте розетку с помощью квалифицированного электрика.
- 6 Предупреждение! Опасность травмирования!; контейнере для
- 7 Задняя
- 9 поворачивая его по часовой стрелке или против часовой стрелки.
- 10 Подсоединение шланга подачи воды (холодная вода); для подачи воды и выходу прибора из строя.; Подключение к электросети; Проверьте соответствие розетки вилке питания прибора.
- 11 Подсоединение выпускного шланга для воды; шланга должен располагаться на высоте не более 1000 мм.; Регулировка уровня
- 13 Примечание; обеспечения плавного открывания и закрывания дверцы.; Крепление посудомоечной машины; саморезы для крепления фасада.
- 14 IN
- 15 ро
- 17 ПРИМЕЧАНИЕ; то можно запустить программу замачивания, чтобы их; С. Заполнение дозатора ополаскивателем
- 20 MIN
- 23 Регулировка положения верхней корзины; Глубокие чаши
- 24 Корзина для столовых приборов и полка для вилок; Нижняя корзина
- 27 *EN 50242: эта программа является тестовым циклом; Функция половинной загрузки.
- 33 LED 3; Eco
- 34 Что делать в случае неисправности?
- 36 Для удаления пятен со стеклянной посуды:
- 39 Правила утилизации; Согласно ст. 26 законодательного декрета от 14 марта












