Посудомоечные машины Korting KDF 2095 W - инструкция пользователя по применению, эксплуатации и установке на русском языке. Мы надеемся, она поможет вам решить возникшие у вас вопросы при эксплуатации техники.
Если остались вопросы, задайте их в комментариях после инструкции.
"Загружаем инструкцию", означает, что нужно подождать пока файл загрузится и можно будет его читать онлайн. Некоторые инструкции очень большие и время их появления зависит от вашей скорости интернета.

7
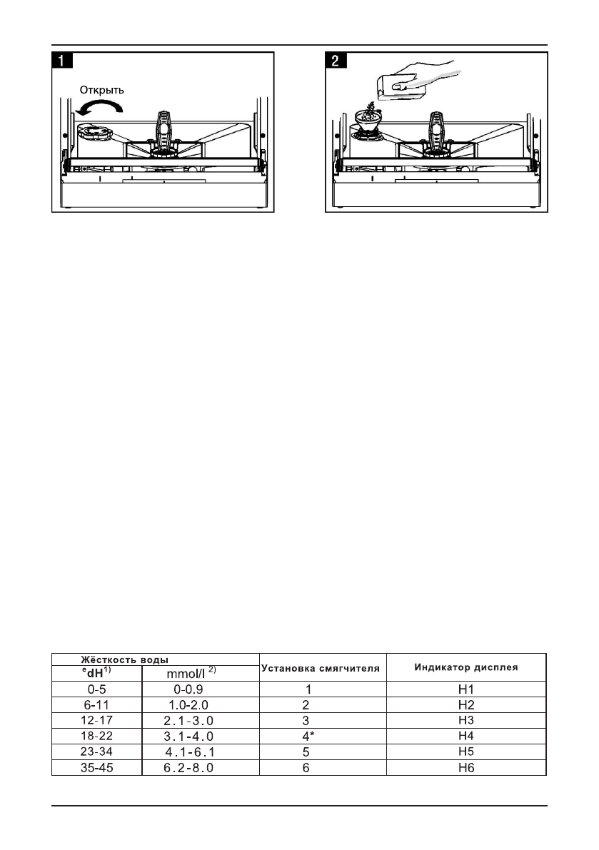
A. Снимите корзину, затем открутите крышку от контейнера для соли. (рис. 1)
B. Перед первым запуском налейте 500 мл воды в контейнер для соли.
C. Поместите конец воронки (в комплекте) в резервуар и насыпьте 1кг соли. (рис. 2)
Это нормально, если немного воды выльется из резервуара.
D. Если крупинки соли остались на крышке или горловине контейнера, следует удалить их, чтобы
избежать повреждения прокладки на крышке. Плотно закрутите крышку.
E. Индикатор отсутствия соли может гореть от 2 до 6 дней.
F. Непосредственно после засыпания соли запустите программу мойки. В противном случае, не
которые элементы машины могут быть повреждены солёной водой.
A. Р Е ГУЛ И Р О В КА РАС Х ОД А СОЛ И
1. ЕСЛИ ВО ВРЕМЯ ЗАСЫПАНИЯ СОЛИ, ЧАСТЬ ЕЕ ПРОСЫПАЛАСЬ НА ДНО ПОСУДОМОЙ-
КИ, ЕЕ МОЖНО УДАЛИТЬ ПРИ ПОМОЩИ ПРОГРАММЫ «ПОЛОСКАНИЕ».
2. КОНТЕЙНЕР Д ЛЯ СОЛИ СЛЕДУЕТ ЗАПОЛНЯТЬ, ТОЛЬКО КОГДА ЗАГОРИТСЯ ИНДИКА-
ТОР ЕЁ ОТСУТСТВИЯ. В ЗАВИСИМОСТИ ОТ ТОГО, КАК СОЛЬ РАСТВОРЯЕТСЯ, ИНДИКАТОР
МОЖЕТ ГОРЕТЬ НЕКОТОРОЕ ВРЕМЯ ПОСЛЕ ЗАПОЛНЕНИЯ.
Шаг 1: Вход в программу изменения расхода
Закройте дверь. В течение 1 минуты после включения машины, нажмите и удерживайте кнопки 2
и 6 в течение 5 секунд, вы войдете в режим изменения настроек.
После звукового сигнала появится надпись Н4 (заводская настройка).
Нажимая кнопку 6 меняем расход соли от Н1 до Н6 (по кругу).Если какое-то время не нажимать
кнопки машина сама выйдет из режима настройки, сохранив последнее значение расхода, на-
пример Н5.
Шаг 2: выбор
Различные программы соответствуют различным объёмам расхода соли.
Рекомендуется пользоваться приведённой таблицей: