Посудомоечные машины Hansa ZIM 615 H - инструкция пользователя по применению, эксплуатации и установке на русском языке. Мы надеемся, она поможет вам решить возникшие у вас вопросы при эксплуатации техники.
Если остались вопросы, задайте их в комментариях после инструкции.
"Загружаем инструкцию", означает, что нужно подождать пока файл загрузится и можно будет его читать онлайн. Некоторые инструкции очень большие и время их появления зависит от вашей скорости интернета.

19
ЗАГРУЗКА ПОСУДЫ В ПОСУДОМОЕЧНУЮ МАШИНУ
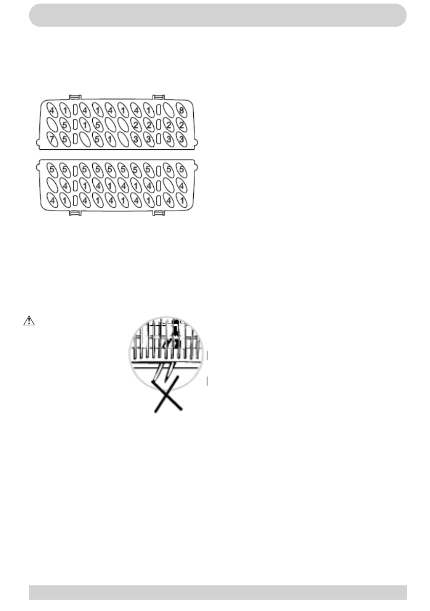
Лоток для мелких столовых приборов
Столовые приборы следует укладывать в
лоток для столовых приборов отдельно, в над
-
лежащем положении. Следите, чтобы они не
сцеплялись друг с другом, поскольку это может
снизить эффективность мытья.
Внимание:
Сто
-
ловые приборы не
должны выступать за
пределы лотка
Для достижения как можно лучших результатов
мытья столовые приборы следует укладывать
в лоток, при этом необходимо следить за тем,
чтобы:
■ приборы не сцеплялись друг с другом
■ приборы устанавливать вверх ручками
■ длинные предметы располагать посередине.












