Посудомоечные машины Electrolux ESL 98810 RA - инструкция пользователя по применению, эксплуатации и установке на русском языке. Мы надеемся, она поможет вам решить возникшие у вас вопросы при эксплуатации техники.
Если остались вопросы, задайте их в комментариях после инструкции.
"Загружаем инструкцию", означает, что нужно подождать пока файл загрузится и можно будет его читать онлайн. Некоторые инструкции очень большие и время их появления зависит от вашей скорости интернета.

6
Емкость для соли
7
Вентиляционное отверстие
8
Дозатор ополаскивателя
9
Дозатор моющего средства
10
Нижняя корзина
11
Верхняя корзина
12
Ящик для столовых приборов
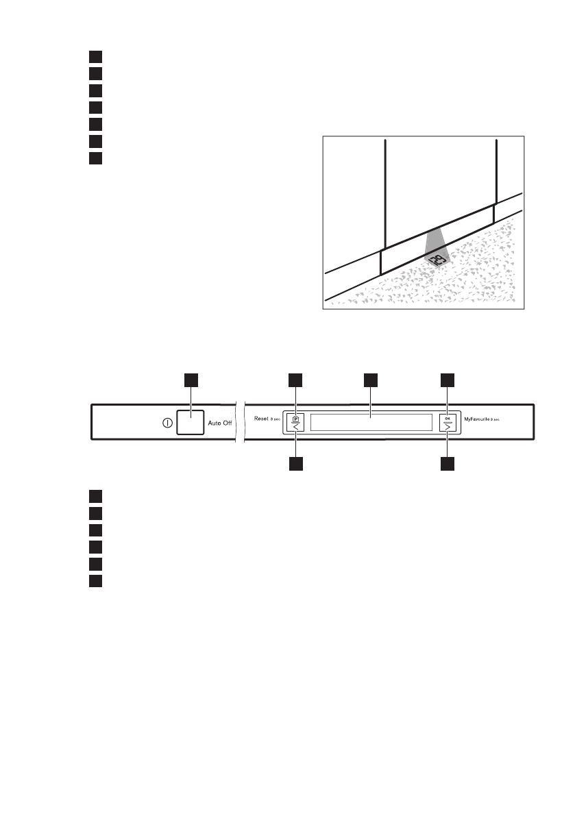
3.1 TimeBeam
TimeBeam – это дисплей,
появляющийся на полу под дверцей
прибора.
• Когда прибор приступает к
выполнению программы, на нем
отображается продолжительность
программы.
• По завершении программы
появляются 0:00 и CLEAN.
• При запуске отсрочки пуска
появляется значение
продолжительности обратного
отсчета и DELAY.
• В случае неисправности прибора
отображается код неисправности.
4. ПАНЕЛЬ УПРАВЛЕНИЯ
1
2
3
4
6
5
1
Кнопка «Вкл/Выкл»
2
Клавиша Program
3
Дисплей
4
Клавиша OK
5
Клавиша навигации (вправо)
6
Клавиша навигации (влево)
4.1 Поведение клавиш
Клавиши навигации (вправо и
влево)
• Данные клавиши используются для
прокрутки отображающихся на
дисплее списков и текстовой
информации.
Program key
• Короткое нажатие вызывает
главный экран, в котором можно
выбрать программы, режимы,
параметры и задать отсрочку пуска.
• Долгое (3 секунд) нажатие при
выполнении отсрочки пуска или
работе программы отменяет
отсрочку пуска, программу и
дополнительные функции. На
дисплее отобразится программа по
умолчанию: ECO.
OK клавиша
• Быстрое нажатие: подтверждение
выбора программы, режимов и
настроек.
• Долгое нажатие: запуск программы
MyFavourite. Если сохраненных
программ нет, на дисплее
отобразится настройка Задать
MyFavourite.
РУССКИЙ
29
Содержание
- 4 Безопасность детей и лиц с ограниченными; возможностями
- 5 УКАЗАНИЯ ПО БЕЗОПАСНОСТИ; электросети
- 6 Внутреннее освещение
- 10 Показатели потребления
- 11 тестирующих организаций
- 12 Сохранение программы; MyFavourite
- 14 ПЕРЕД ПЕРВЫМ ИСПОЛЬЗОВАНИЕМ; Смягчитель для воды
- 15 Наполнение емкости для
- 16 Дозатор ополаскивателя; Заполнение дозатора
- 17 ЕЖЕДНЕВНОЕ ИСПОЛЬЗОВАНИЕ; Использование моющего
- 20 программы; Разгрузка корзин
- 21 Очистка фильтров
- 22 разбрызгивателей; Очистка наружных; поверхностей; Чистка внутренних; частей; УСТРАНЕНИЕ НЕИСПРАВНОСТЕЙ
- 23 Результаты мойки и сушки неудовлетворительны
- 24 ТЕХНИЧЕСКИЕ ДАННЫЕ; ОХРАНА ОКРУЖАЮЩЕЙ СРЕДЫ












