Посудомоечные машины Electrolux ESL 95324 LO - инструкция пользователя по применению, эксплуатации и установке на русском языке. Мы надеемся, она поможет вам решить возникшие у вас вопросы при эксплуатации техники.
Если остались вопросы, задайте их в комментариях после инструкции.
"Загружаем инструкцию", означает, что нужно подождать пока файл загрузится и можно будет его читать онлайн. Некоторые инструкции очень большие и время их появления зависит от вашей скорости интернета.

таблетированного моющего средства
можно отключить уведомление о
необходимости добавления
ополаскивателя. Тем не менее, для
достижения оптимальных результатов
сушки всегда используйте
ополаскиватель.
При использовании обычного или
таблетированного моющего средства
включите включите уведомление о
необходимости добавления
ополаскивателя.
Выключение оповещения о
том, что дозатор
ополаскивателя пуст
Убедитесь, что прибор находится в
пользовательском режиме.
1. Нажмите на
.
• Индикаторы ,
и
погаснут.
• Индикатор
продолжит
мигать.
• На дисплее отобразится
текущая настройка:
= уведомление о том, что
дозатор ополаскивателя пуст,
включено (заводская
установка).
2. Для изменения настройки нажмите
на
.
= уведомление о том, что дозатор
ополаскивателя пуст, выключено.
3. Нажмите «Вкл/Выкл» для
подтверждения настройки.
6.4 Звуковая сигнализация
В случае возникновения
неисправности прибором выдаются
звуковые сигналы. Данные звуковые
сигналы отключить невозможно.
По окончании программы также
выдается звуковой сигнал. По
умолчанию выдача звукового сигнала
отключена, но ее можно включить.
Включение звукового сигнала
по окончании работы
программы
Убедитесь, что прибор находится в
пользовательском режиме.
1. Нажмите на
.
• Индикаторы ,
и
погаснут.
• Индикатор
продолжит мигать.
• На дисплее отобразится
текущая настройка:
–
= Звуковая
сигнализация выключена.
–
= Звуковая сигнализация
включена.
2. Для изменения настройки нажмите
на
.
3. Нажмите «Вкл/Выкл» для
подтверждения настройки.
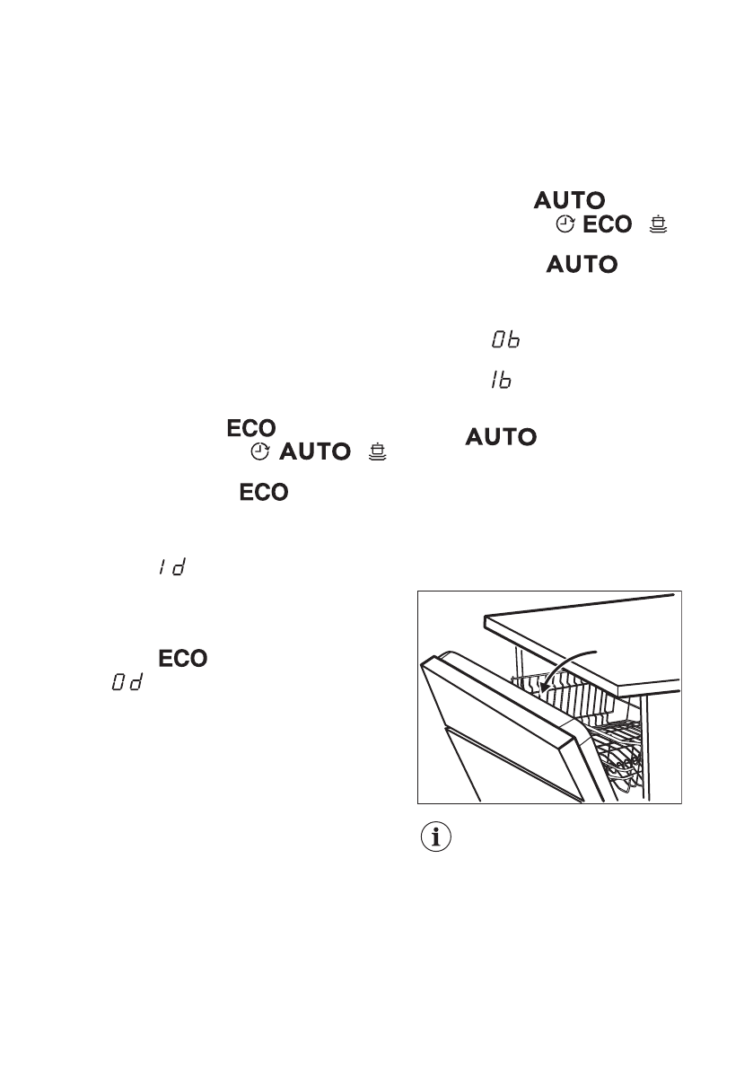
6.5 AirDry
AirDry улучшает результаты сушки с
одновременным понижением
энергопотребления.
В ходе этапа сушки дверца
автоматически
открывается и остается
приоткрытой.
www.electrolux.com
12
Содержание
- 3 возможностями
- 4 Общие правила техники безопасности
- 5 УКАЗАНИЯ ПО БЕЗОПАСНОСТИ; электросети
- 6 водопроводу
- 9 Показатели потребления; независимых тестирующих
- 10 Режим выбора программы; и пользовательский режим; Вызов режима выбора; Смягчитель для воды
- 12 Звуковая сигнализация; Включение звукового сигнала
- 13 Выключение AirDry
- 14 Включение XtraDry; ПЕРЕД ПЕРВЫМ ИСПОЛЬЗОВАНИЕМ; Наполнение емкости для
- 15 Заполнение дозатора; ополаскивателя; ЕЖЕДНЕВНОЕ ИСПОЛЬЗОВАНИЕ
- 16 Использование моющего; Настройка и запуск
- 19 Разгрузка корзин; Очистка фильтров
- 20 разбрызгивателей; Очистка наружных; поверхностей
- 21 Чистка внутренних; частей; ПОИСК И УСТРАНЕНИЕ НЕИСПРАВНОСТЕЙ
- 23 Результаты мойки и сушки неудовлетворительны
- 26 ТЕХНИЧЕСКИЕ ДАННЫЕ; ОХРАНА ОКРУЖАЮЩЕЙ СРЕДЫ












