Посудомоечные машины Electrolux ESL 95321 LO - инструкция пользователя по применению, эксплуатации и установке на русском языке. Мы надеемся, она поможет вам решить возникшие у вас вопросы при эксплуатации техники.
Если остались вопросы, задайте их в комментариях после инструкции.
"Загружаем инструкцию", означает, что нужно подождать пока файл загрузится и можно будет его читать онлайн. Некоторые инструкции очень большие и время их появления зависит от вашей скорости интернета.

Вимкнення повідомлення про
порожній дозатор
ополіскувача
Переконайтеся, що прилад
переведено в режим користувача.
1. Натисніть
.
Індикатори:
, та
вимкнені. Індикатор
усе ще
блимає.
Індикатор
показує поточне
налаштування. Якщо увімкнений =
повідомлення про порожній дозатор
ополіскувача увімкнено, якщо
вимкнений = повідомлення про
порожній дозатор ополіскувача
вимкнено.
2. Натисніть кнопку
, щоб змінити
налаштування.
3. Натисніть кнопку ввімкнення/
вимкнення, щоб підтвердити і
зберегти налаштування.
6.4 Звукові сигнали
Звукові сигнали лунають у разі збоїв у
роботі приладу. Ці звукові сигнали не
можна деактивувати.
Звуковий сигнал також лунає, коли
завершується виконання програми. За
промовчанням цей звуковий сигнал
вимкнений, проте його можна
ввімкнути.
Активація звукового сигналу
після завершення програми
Переконайтеся, що прилад
переведено в режим користувача.
1. Натисніть .
Індикатори:
,
та
вимкнені. Індикатор усе ще блимає.
Індикатор
показує поточне
налаштування. Якщо увімкнений =
звуковий сигнал увімкнено. Якщо
вимкнений = звуковий сигнал
вимкнено.
2. Натисніть кнопку , щоб змінити
налаштування.
3. Натисніть кнопку ввімкнення/
вимкнення, щоб підтвердити і
зберегти налаштування.
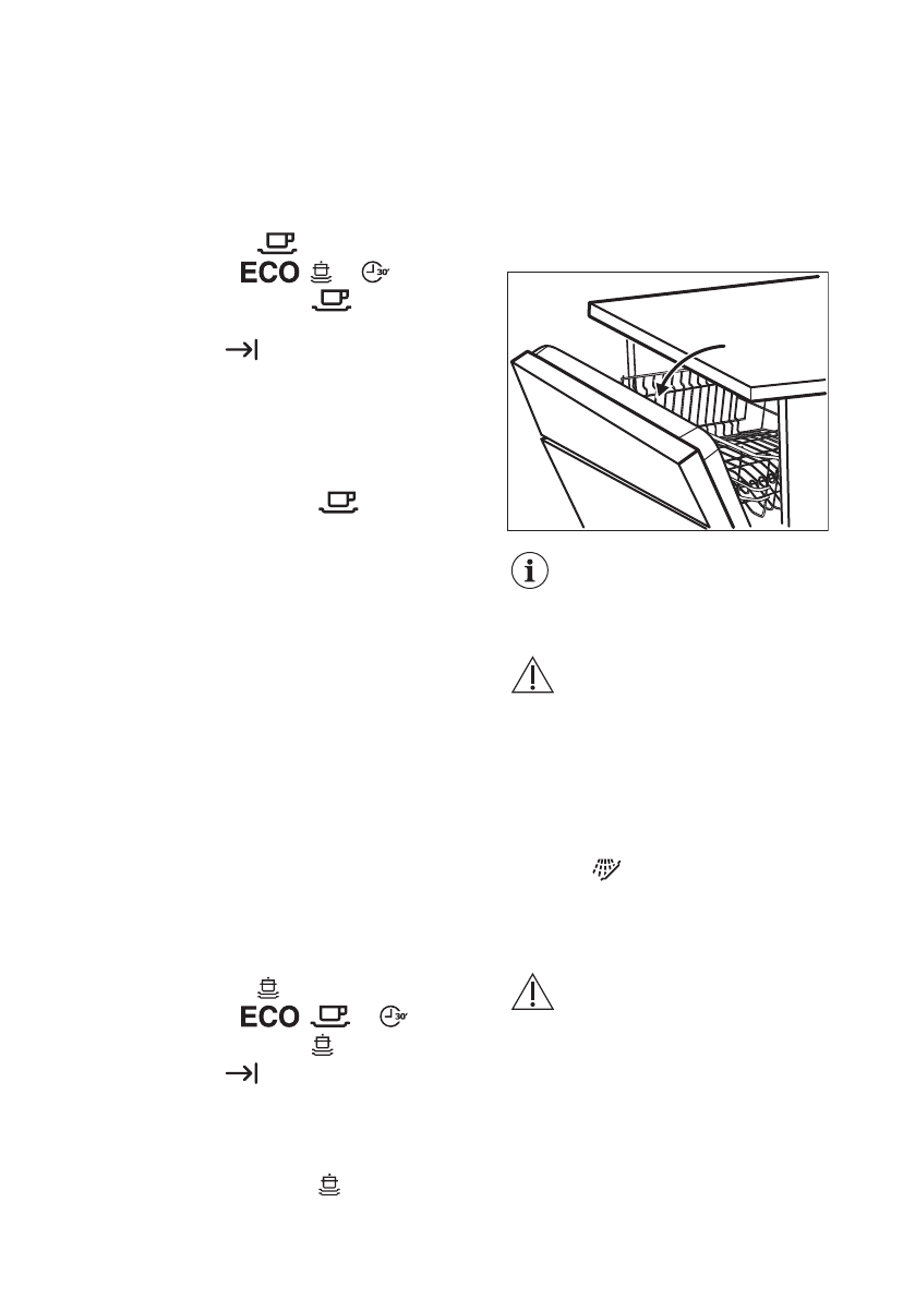
6.5 AirDry
Функція AirDry покращує ефективність
сушіння та зменшує споживання
електроенергії.
Під час фази сушіння
дверцята автоматично
відкриваються та
залишаються відчиненими.
УВАГА
Не намагайтеся закрити
дверцята приладу
протягом 2 хвилин після
автоматичного відкриття.
Це може пошкодити
прилад.
Функція AirDry автоматично
активується з усіма програмами, за
винятком
.
Щоб покращити ефективність сушіння,
скористайтеся опцією XtraDry або
знову активуйте функцію AirDry.
УВАГА
Якщо діти мають доступ до
приладу, рекомендується
вимкнути функцію AirDry,
оскільки відкриті дверцята
можуть представляти
певну загрозу.
www.electrolux.com
36
Содержание
- 3 возможностями; Общие правила техники безопасности
- 5 УКАЗАНИЯ ПО БЕЗОПАСНОСТИ; электросети
- 10 Смягчитель для воды
- 11 Звуковая сигнализация
- 12 Выключение AirDry
- 13 Включение XtraDry; ПЕРЕД ПЕРВЫМ ИСПОЛЬЗОВАНИЕМ; Наполнение емкости для
- 14 Заполнение дозатора; ополаскивателя; ЕЖЕДНЕВНОЕ ИСПОЛЬЗОВАНИЕ
- 18 программы; Разгрузка корзин; Очистка фильтров
- 19 разбрызгивателей; Очистка наружных; поверхностей
- 20 Чистка внутренних; частей; ПОИСК И УСТРАНЕНИЕ НЕИСПРАВНОСТЕЙ
- 22 Результаты мойки и сушки неудовлетворительны
- 25 ТЕХНИЧЕСКИЕ ДАННЫЕ; ОХРАНА ОКРУЖАЮЩЕЙ СРЕДЫ












