Посудомоечные машины Electrolux ESL 499 - инструкция пользователя по применению, эксплуатации и установке на русском языке. Мы надеемся, она поможет вам решить возникшие у вас вопросы при эксплуатации техники.
Если остались вопросы, задайте их в комментариях после инструкции.
"Загружаем инструкцию", означает, что нужно подождать пока файл загрузится и можно будет его читать онлайн. Некоторые инструкции очень большие и время их появления зависит от вашей скорости интернета.

5
ÝÊÑÏËÓÀÒÀÖÈß ÌÀØÈÍÛ
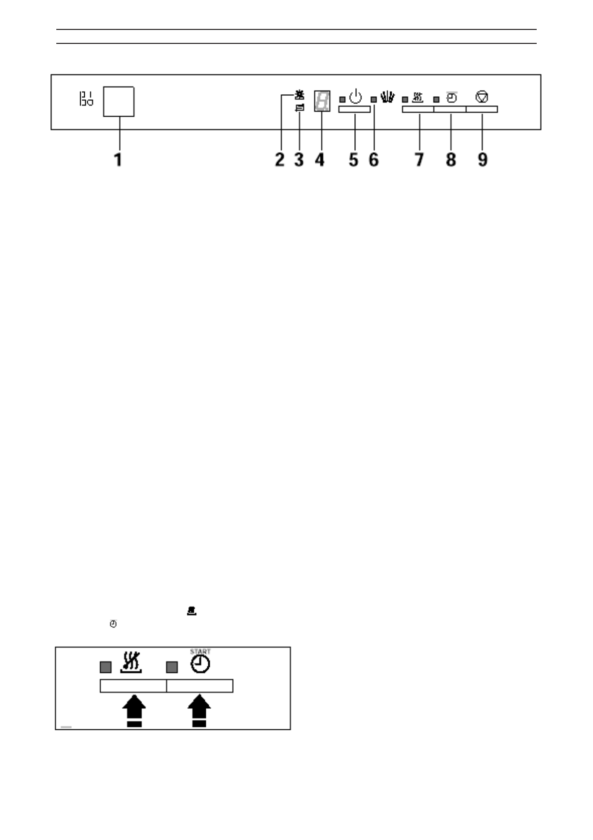
Ïàíåëü óïðàâëåíèÿ
ÝËÅÌÅÍÒÛ ÓÏÐÀÂËÅÍÈß
 â å ð õ í å é ÷ à ñ ò è ä â å ð ö û â ñ ò ð à è â à å ì î é
ïîñóäîìîå÷íîé ìàøèíû ðàñïîëîæåíà ïàíåëü
ó ï ð à â ë å í è ÿ . Ï ð è ó ñ ò à í î â ê å í å î á õ î ä è ì î é
ï ð î ã ð à ì ì û ä â å ð ö à ä î ë æ í à á û ò ü
ïîëóîòêðûòîé.
×òîáû ïîìî÷ü îïðåäåëèòü, êàêèå îïåðàöèè
âûïîëíÿþòñÿ â äàííûé ìîìåíò ìàøèíîé,
ïîäàþòñÿ çâóêîâûå ñèãíàëû.
Êîðîòêèé ñèãíàë èíñòðóêöèè ïðèíÿòû
Ïðè íàæàòèè íà ëþáóþ èç êíîïîê ïîäà¸òñÿ
êðàòêèé çâóêîâîé ñèãíàë, ñîîáùàþùèé î òîì,
÷ ò î ç à ä à í í à ÿ ê î ì à í ä à ï ð è í ÿ ò à ; å ñ ë è ï ð è
í à æ à ò è è ê í î ï ê è ñ è ã í à ë à í å ñ ë û ø í î , ý ò î
îçíà÷àåò, ÷òî óæå çàïóùåíà ïðîãðàììà, èëè
÷òî â âûáðàííîé ïðîãðàììå äàííàÿ îïåðàöèÿ
íå ïðåäóñìîòðåíà.
Ï ð î ä î ë æ è ò å ë ü í û é ñ è ã í à ë ï ð î ã ð à ì ì à
ðàáîòàåò
Ïðîäîëæàþùèéñÿ îêîëî ñåêóíäû çâóêîâîé
ñèãíàë, êîòîðûé ìîæíî óñëûøàòü òîëüêî
ï î ñ ë å ç à ê ð û â à í è ÿ ä â å ð ê è ï î ñ ó ä î ì î å ÷ í î é
ìàøèíû, ñîîáùàåò î òîì, ÷òî ïðîãðàììà
çàïóùåíà â ðàáîòó.
Ïðåðûâèñòûé ñèãíàë êîíåö ïðîãðàììû
Ïðåðûâèñòûé çâóêîâîé ñèãíàë, äëÿùèéñÿ â
öåëîì äî ïÿòè ñåêóíä, ñîîáùàåò âàì î òîì, ÷òî
ïðîãðàììà ìûòüÿ çàâåðøåíà.
Å ñ ë è â û õ î ò è ò å î ò ê ë þ ÷ è ò ü ý ò è ç â ó ê î â û å
ñèãíàëû, íàæìèòå îäíîâðåìåííî íà êíîïêè
ÎÒÊËÞ×ÅÍÈÅ ÑÓØÊÈ è Ç À Ä Å Ð Æ Ê À
ÑÒÀÐÒÀ
è ïîäåðæèòå èõ íàæàòûìè îêîëî
3 ñåêóíä, ïîêà íå óñëûøèòå òðè êîðîòêèõ
ñèãíàëà.
× ò î á û â í î â ü à ê ò è â è ç è ð î â à ò ü ç â ó ê î â û å
ñ è ã í à ë û , ñ í î â à ï î ä å ð æ è ò å 3 ñ å ê ó í ä û â
íàæàòîì ñîñòîÿíèè óêàçàííûå êíîïêè, ïîêà íå
ó ñ ë û ø è ò å ê î ð î ò ê è é ñ è ã í à ë è í ñ ò ð ó ê ö è è
ïðèíÿòû.
1.
Êíîïêà âêëþ÷åíèÿ/âûêëþ÷åíèÿ
ìàøèíû (ÂÊË/ÂÛÊË)
Âêëþ÷åíèå
Í à æ ì è ò å ý ò ó ê í î ï ê ó , ÷ ò î á û
óñòàíîâèòü ïîðÿäîê ðàáîòû ïîñóäîìîå÷íîé
ìàøèíû (âûáîð ïðîãðàììû ìîéêè, ñóøêà,
çàäåðæêà ñòàðòà è ò.ä.).
Ï î ñ ë å ý ò î ã î ì î ã ó ò ç à ã î ð å ò ü ñ ÿ
ñèãíàëüíûå ëàìïû íåîáõîäèìîñòè äîáàâëåíèÿ
ñ î ë è ( 3 ) è î ï î ë à ñ ê è â à ò å ë ÿ ( 2 ) , å ñ ë è
ñîîòâåòñòâóþùèõ ñðåäñòâ íå õâàòàåò, à òàêæå
íà÷íåò ìèãàòü èíäèêàòîðíàÿ ëàìïà âûáîðà
ïðîãðàìì (5).Íà öèôðîâîì äèñïëåå ïîÿâèòñÿ
÷èñëî [ |] ñîîòâåòñòâóþùåå íîìåðó ïåðâîé
âûáðàííîé ïðîãðàììû (Îïîëàñêèâàíèå).
Âûêëþ÷åíèå
Ïîñëå òîãî, êàê ðàáîòà ïî ïðîãðàììå
ìîéêè çàâåðøèòñÿ, ïîñóäîìîå÷íàÿ ìàøèíà
î ñ ò à í î â è ò ñ ÿ à â ò î ì à ò è ÷ å ñ ê è ( î á ý ò î ì â à ì
ñ î î á ù è ò ï ð î ä î ë æ à þ ù è é ñ ÿ 5 ñ å ê ó í ä
ïðåðûâèñòûé çâóêîâîé ñèãíàë), à íà öèôðîâîì
äèñïëåå ïîÿâèòñÿ ìèãàþùàÿ ãîðèçîíòàëüíàÿ
÷åðòà [-].
× ò î á û ï î ë í î ñ ò ü þ î ò ê ë þ ÷ è ò ü
ï î ñ ó ä î ì î å ÷ í ó þ ì à ø è í ó ï î ñ ë å î ê î í ÷ à í è ÿ
ïðîãðàììû, ñíîâà íàæìèòå íà ýòó êíîïêó.
2 . È í ä è ê à ò î ð í à ÿ ë à ì ï à í à ë è ÷ è ÿ
îïîëàñêèâàòåëÿ
Äàííàÿ èíäèêàòîðíàÿ ëàìïà çàãîðàåòñÿ,
êîãäà ïîÿâëÿåòñÿ íåîáõîäèìîñòü äîáàâèòü
ñðåäñòâî äëÿ îïîëàñêèâàíèÿ ïîñóäû.
3. Èíäèêàòîðíàÿ ëàìïà íàëè÷èÿ ñîëè
Ýòà ëàìïà çàãîðàåòñÿ, êîãäà ïîÿâëÿåòñÿ
íåîáõîäèìîñòü äîáàâèòü ñïåöèàëüíóþ ñîëü â
óñòðîéñòâî äëÿ ñìÿã÷åíèÿ âîäû.
Åñëè óðîâåíü æåñòêîñòè ïîäàâàåìîé âîäû
0, ïîäà÷è ñîëè íå òðåáóåòñÿ, ïîýòîìó
èíäèêàòîð áóäåò ãîðåòü âñåãäà.
4. Öèôðîâîé äèñïëåé












