Посудомоечные машины Electrolux ESL 4510LO - инструкция пользователя по применению, эксплуатации и установке на русском языке. Мы надеемся, она поможет вам решить возникшие у вас вопросы при эксплуатации техники.
Если остались вопросы, задайте их в комментариях после инструкции.
"Загружаем инструкцию", означает, что нужно подождать пока файл загрузится и можно будет его читать онлайн. Некоторые инструкции очень большие и время их появления зависит от вашей скорости интернета.

• Retirez le dispositif de verrouillage de
la porte pour empêcher les enfants et
les animaux de s'enfermer dans
l'appareil.
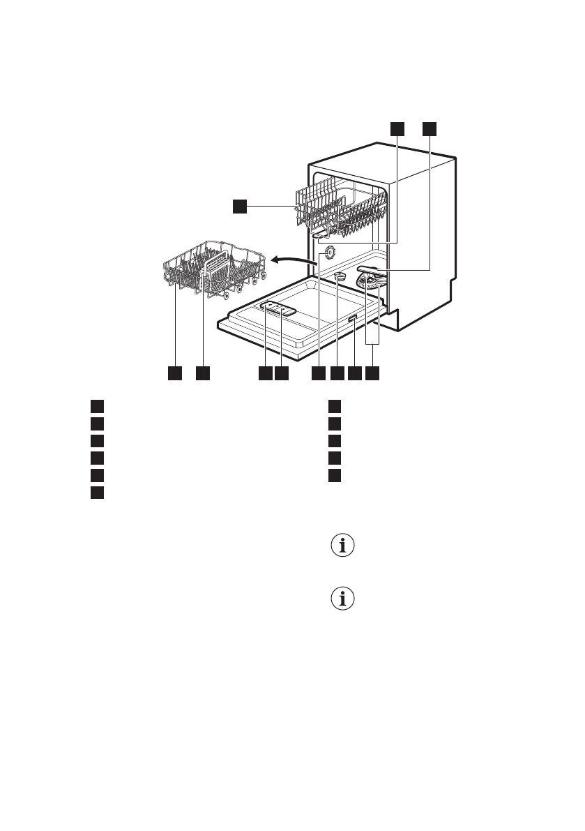
3. DESCRIPTION DE L'APPAREIL
4
3
7
9
8
10
5
6
11
1
2
1
Bras d'aspersion intermédiaire
2
Bras d'aspersion inférieur
3
Filtres
4
Plaque de calibrage
5
Réservoir de sel régénérant
6
Fente d'aération
7
Distributeur de liquide de rinçage
8
Distributeur de produit de lavage
9
Panier à couverts
10
Panier du bas
11
Panier du haut
3.1 Beam-on-Floor
Le faisceau Beam-on-Floor est une
lumière projetée sur le sol, sous la porte
de l'appareil.
• Lorsque le programme démarre, le
faisceau rouge s'allume et reste
allumé pendant toute la durée du
programme.
• Lorsque le programme est terminé, le
faisceau devient vert.
• En cas de dysfonctionnement de
l'appareil, le faisceau rouge clignote.
Le faisceau Beam-on-Floor
s'éteint lorsque vous arrêtez
l'appareil.
La projection au sol peut
être partiellement visible
lorsque le mode AirDry est
activé durant la phase de
séchage. Pour savoir si le
cycle est terminé, regardez
le bandeau de commande.
FRANÇAIS
27
Содержание
- 47 возможностями; Общие правила техники безопасности
- 49 УКАЗАНИЯ ПО БЕЗОПАСНОСТИ; электросети
- 53 Показатели потребления; тестирующих организаций; Режим выбора программы; и пользовательский режим
- 54 Смягчитель для воды
- 55 Звуковая сигнализация
- 56 Выключение AirDry
- 58 ПЕРЕД ПЕРВЫМ ИСПОЛЬЗОВАНИЕМ; Наполнение емкости для
- 59 Заполнение дозатора; ополаскивателя; ЕЖЕДНЕВНОЕ ИСПОЛЬЗОВАНИЕ; Использование моющего; средства
- 60 Настройка и запуск
- 63 Разгрузка корзин; Очистка фильтров
- 64 разбрызгивателей; Очистка наружных; поверхностей
- 65 Чистка внутренних; частей; ПОИСК И УСТРАНЕНИЕ НЕИСПРАВНОСТЕЙ
- 68 Результаты мойки и сушки неудовлетворительны
- 70 ТЕХНИЧЕСКИЕ ДАННЫЕ; ОХРАНА ОКРУЖАЮЩЕЙ СРЕДЫ












