Посудомоечные машины Electrolux EES 948300 L - инструкция пользователя по применению, эксплуатации и установке на русском языке. Мы надеемся, она поможет вам решить возникшие у вас вопросы при эксплуатации техники.
Если остались вопросы, задайте их в комментариях после инструкции.
"Загружаем инструкцию", означает, что нужно подождать пока файл загрузится и можно будет его читать онлайн. Некоторые инструкции очень большие и время их появления зависит от вашей скорости интернета.

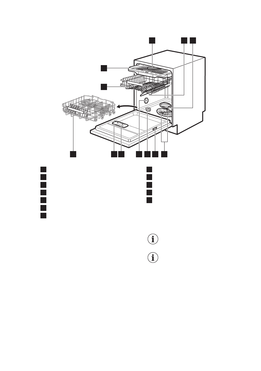
3. ОПИСАНИЕ ИЗДЕЛИЯ
5
4
8
9
10
6
7
11
12
2
3
1
1
Потолочный разбрызгиватель
2
Верхний разбрызгиватель
3
Нижний разбрызгиватель
4
Фильтры
5
Табличка с техническими данными
6
Емкость для соли
7
Вентиляционное отверстие
8
Дозатор ополаскивателя
9
Дозатор моющего средства
10
Нижняя корзина
11
Верхняя корзина
12
Ящик для столовых приборов
3.1 Beam-on-Floor
Beam-on-Floor – это индикация,
которая появляется на полу под
дверцей прибора.
• При запуске программы появляется
красный световой луч, который
горит во время работы программы.
• По завершению программы
загорается зеленый световой луч.
• В случае неисправности прибора
красный световой луч мигает.
При выключении прибора
Beam-on-Floor гаснет.
При включении AirDry во
время этапа сушки
отображаемая на полу
информация может быть
видна не полностью.
Чтобы узнать, завершен ли
цикл, проверьте панель
управления.
РУССКИЙ
7
Содержание
- 3 возможностями
- 4 Общие правила техники безопасности
- 5 УКАЗАНИЯ ПО БЕЗОПАСНОСТИ; электросети
- 6 водопроводу
- 8 E C O M E T E R
- 9 ПЕРЕД ПЕРВЫМ ИСПОЛЬЗОВАНИЕМ; Наполнение емкости для
- 10 Заполнение дозатора; ополаскивателя; A D
- 13 Показатели потребления; Информация для; ОСНОВНЫЕ УСТАНОВКИ
- 14 Смягчитель для воды
- 15 дозатор ополаскивателя пуст
- 16 использовавшейся
- 17 Как изменить параметр; ЕЖЕДНЕВНОЕ ИСПОЛЬЗОВАНИЕ; Использование моющего; средства
- 19 Как отсрочить запуск; программы; Как отменить отсрочку; пуска во время обратного; Открывание дверцы во; время работы прибора; Функция Auto Off
- 21 Как запустить программу
- 22 Чистка внутренних; частей; Очистка наружных; поверхностей; Очистка фильтров
- 23 разбрызгивателя
- 24 Чистка потолочного
- 25 УСТРАНЕНИЕ НЕИСПРАВНОСТЕЙ
- 27 Результаты мойки и сушки неудовлетворительны
- 30 ДОПОЛНИТЕЛЬНАЯ ТЕХНИЧЕСКАЯ; ИНФОРМАЦИЯ; ОХРАНА ОКРУЖАЮЩЕЙ СРЕДЫ












