Посудомоечные машины Electrolux AHT8I - инструкция пользователя по применению, эксплуатации и установке на русском языке. Мы надеемся, она поможет вам решить возникшие у вас вопросы при эксплуатации техники.
Если остались вопросы, задайте их в комментариях после инструкции.
"Загружаем инструкцию", означает, что нужно подождать пока файл загрузится и можно будет его читать онлайн. Некоторые инструкции очень большие и время их появления зависит от вашей скорости интернета.

32
1.
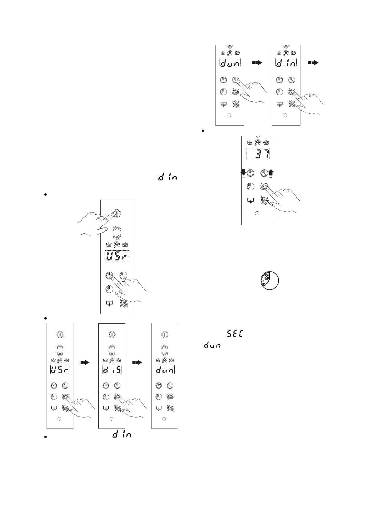
При помощи кнопок Моечный цикл 1 («G» -
Табл. 2 «Панель управления») и Моечный
цикл 2 («Н» - Табл. 2 «Панель управле-
ния») выбрать параметр, который нужно
изменить.
2.
Нажать на кнопку (“L” - Табл. 2 «Панель
управления»), чтобы изменить значение
параметра.
3.
При помощи кнопок Моечный цикл 1 («G» -
Табл. 2 «Панель управления») и Моечный
цикл 2 («Н» - Табл. 2 «Панель управле-
ния») увеличить или уменьшить значение
параметра соответственно.
4.
Нажать на кнопку (“L” - Табл. 2 «Панель
управления»), чтобы запомнить заданное
значение и вернуться в режим выбора па-
раметра (см. п.1).
Например, для изменения параметра
проделать следующее:
войти в режим программирования
войти в меню дозаторов
выбрать параметр
изменить значение параметра
Нажать на кнопку (“L” - Табл. 2 «Панель
управления»), чтобы запомнить заданное
значение.
Для выхода из меню программирования на-
жать на кнопку Моечный цикл 3 («I» - Табл. 2
«Панель управления»).
Регулировка наружных дозаторов
В случае использования наружных дозаторов
может быть более удобно использовать се-
кунды в качестве единицы измерения для
значения параметров, для этого выбрать зна-
чение
= секунды для параметра
. В этом случае значения параметров
будут отображаться в секундах.
Ниже перечислены особые значения, исполь-
зуемые для машины в случае подключения
наружных дозаторов:
-
если
dEt = 181 -
дозатор подачи моюще-
го средства
работает только во время
функционирования
моющего насоса
; од-
новременно питание подается на клеммы
7-9
главной клеммной коробки.
-
если
dEt = 182
-
дозатор подачи моюще-
го средства
работает только во время
функционирования
подающего электро-
клапана
для восстановления уровня воды
в бойлере; одновременно питание пода-
ется на клеммы
7-9
главной клеммной ко-
робки.
-
если
rAi = 61 -
дозатор ополаскивателя
работает только во время функциониро-
Содержание
- 4 СПИСОК ТАБЛИЦ
- 5 Введение
- 7 ны; А5. Идентификация агрегата; Рис. 3 - Идентификация технических данных
- 8 мента
- 9 Стадия; А9. Хранение сборника инструкций
- 10 МОДЕЛИ; EHT8TIL
- 14 Рис. 5 – Удаление упаковки; машины
- 15 Обеспечить доступ к днищу машины.; Е5. Удаление и утилизация упаковки; Рис. 10 - Подключение к водопроводной сети; воды на входе не выходило
- 25 Е7. Подключение к сети электропитания; Провод
- 26 Рис. 15 - Система контроля энергопотребления; Подключение к блоку HACCP
- 27 ОПИСАНИЕ ПАНЕЛИ УПРАВЛЕНИЯ; Световой индикатор «температура в баке»; во время этапа мойки световой индикатор НЕ ГОРИТ.
- 29 ПУСК В ЭКСПЛУАТАЦИЮ; проверить; Рис. 18 - Моечные и ополаскивающие рукава; G2. Пуск в эксплуатацию; Открыть краны подачи воды.
- 30 моющего; должна; параметр; дозатор
- 31 для доступа в режим программирования – на; Описание параметра; Начальная подача МС
- 36 При резком закрытии капота
- 39 Жесткость воды на; вующем заводским настройкам.
- 40 Типы кассет и загрузка посуды
- 41 В случае выбора для мойки
- 42 ВНИМАНИЕ
- 44 Профилактические процедуры
- 46 КОНДЕНСАЦИЯ ВЛАГИ НА СТАКАНАХ












