Посудомоечные машины Electrolux AHT8I - инструкция пользователя по применению, эксплуатации и установке на русском языке. Мы надеемся, она поможет вам решить возникшие у вас вопросы при эксплуатации техники.
Если остались вопросы, задайте их в комментариях после инструкции.
"Загружаем инструкцию", означает, что нужно подождать пока файл загрузится и можно будет его читать онлайн. Некоторые инструкции очень большие и время их появления зависит от вашей скорости интернета.

25
Е7. Подключение к сети электропитания
Подключение к сети электропитания должно
быть выполнено в соответствии с действую-
щими местными нормативами и требования-
ми.
ВНИМАНИЕ!
К выполнению работ с электропро-
водкой и электрокомпонентами до-
пускается исключительно квали-
фицированный электрик.
Убедитесь, что напряжение в сети
электропитания соответствует значе-
нию напряжения, приведенному в за-
водском шильдике и таблице техниче-
ских данных (Таблица 1).
Удостоверьтесь в том, что линия элек-
тропитания способна выдержать ре-
альную нагрузку (силу тока), а также в
том, что электросистема помещения
выполнена в соответствии местным
действующим нормативам и требова-
ниям.
Провод
заземления
со стороны
клеммной коробки должен быть длин-
нее (макс. 20 мм), чем фазовые про-
вода.
Подключить провод заземления пи-
тающего кабеля к эффективному уст-
ройству заземления. Кроме того, ма-
шина обязательно должна быть вклю-
чена в эквипотенциальную систему.
Это делается при помощи болта «ЕQ»
(
см. параграф 6.2 «Монтажные схе-
мы») с маркировкой (
). Провод эк-
випотенциала должен иметь сечение
10 кв. мм.
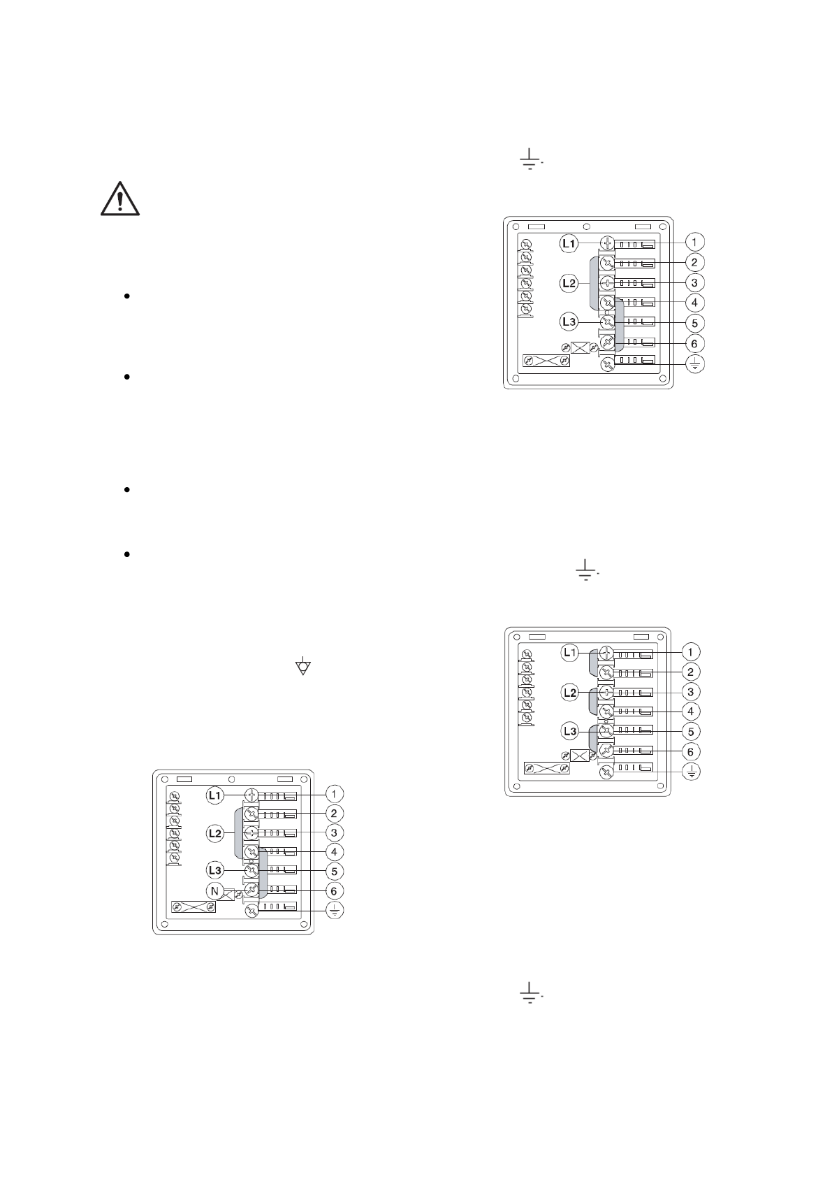
Питание 400…415 В 3N (стандартная кон-
фигурация)
Рис. 11 - Электропитание 400-415В 3N
Открыть клеммную коробку и установить мос-
ты (имеющиеся в комплекте электрощита)
следующим образом: один мост между клем-
мами № 2 и № 4, а второй между клеммами
№ 4 и № 6. Подвести питающий кабель соот-
ветствующего сечения (см. таблицу с техни-
ческими характеристиками), подсоединить
три фазовых провода к клеммам № 1, 3 и 5,
нейтральный провод к клемме № 6 и провод
заземления к клемме с соответствующей мар-
кировкой (
).
Питание 400…440 В 3
Рис. 12 - Электропитание 400-440В 3
Открыть клеммную коробку и установить мос-
ты (имеющиеся в комплекте электрощита)
следующим образом: один мост между клем-
мами № 2 и № 4, а второй между клеммами
№ 4 и № 6. Подвести питающий кабель соот-
ветствующего сечения (см. таблицу с техни-
ческими характеристиками), подсоединить
три фазовых провода к клеммам № 1, 3 и 5 и
провод заземления к клемме с соответствую-
щей маркировкой (
).
Питание 220…240 В 3
Рис. 13 - Электропитание 220-240В 3
Открыть клеммную коробку и установить мос-
ты (имеющиеся в комплекте электрощита)
следующим образом: один мост между клем-
мами № 1 и № 2, второй между клеммами №
3 и № 4, и третий между клеммами № 5 и №
6. Подвести питающий кабель соответствую-
щего сечения (см. таблицу с техническими
характеристиками), подсоединить три фазо-
вые провода к клеммам № 1, 3 и 5 и провод
заземления к клемме с соответствующей мар-
кировкой (
).
Содержание
- 4 СПИСОК ТАБЛИЦ
- 5 Введение
- 7 ны; А5. Идентификация агрегата; Рис. 3 - Идентификация технических данных
- 8 мента
- 9 Стадия; А9. Хранение сборника инструкций
- 10 МОДЕЛИ; EHT8TIL
- 14 Рис. 5 – Удаление упаковки; машины
- 15 Обеспечить доступ к днищу машины.; Е5. Удаление и утилизация упаковки; Рис. 10 - Подключение к водопроводной сети; воды на входе не выходило
- 25 Е7. Подключение к сети электропитания; Провод
- 26 Рис. 15 - Система контроля энергопотребления; Подключение к блоку HACCP
- 27 ОПИСАНИЕ ПАНЕЛИ УПРАВЛЕНИЯ; Световой индикатор «температура в баке»; во время этапа мойки световой индикатор НЕ ГОРИТ.
- 29 ПУСК В ЭКСПЛУАТАЦИЮ; проверить; Рис. 18 - Моечные и ополаскивающие рукава; G2. Пуск в эксплуатацию; Открыть краны подачи воды.
- 30 моющего; должна; параметр; дозатор
- 31 для доступа в режим программирования – на; Описание параметра; Начальная подача МС
- 36 При резком закрытии капота
- 39 Жесткость воды на; вующем заводским настройкам.
- 40 Типы кассет и загрузка посуды
- 41 В случае выбора для мойки
- 42 ВНИМАНИЕ
- 44 Профилактические процедуры
- 46 КОНДЕНСАЦИЯ ВЛАГИ НА СТАКАНАХ












