Посудомоечные машины Бирюса DWF-409/6 - инструкция пользователя по применению, эксплуатации и установке на русском языке. Мы надеемся, она поможет вам решить возникшие у вас вопросы при эксплуатации техники.
Если остались вопросы, задайте их в комментариях после инструкции.
"Загружаем инструкцию", означает, что нужно подождать пока файл загрузится и можно будет его читать онлайн. Некоторые инструкции очень большие и время их появления зависит от вашей скорости интернета.

18
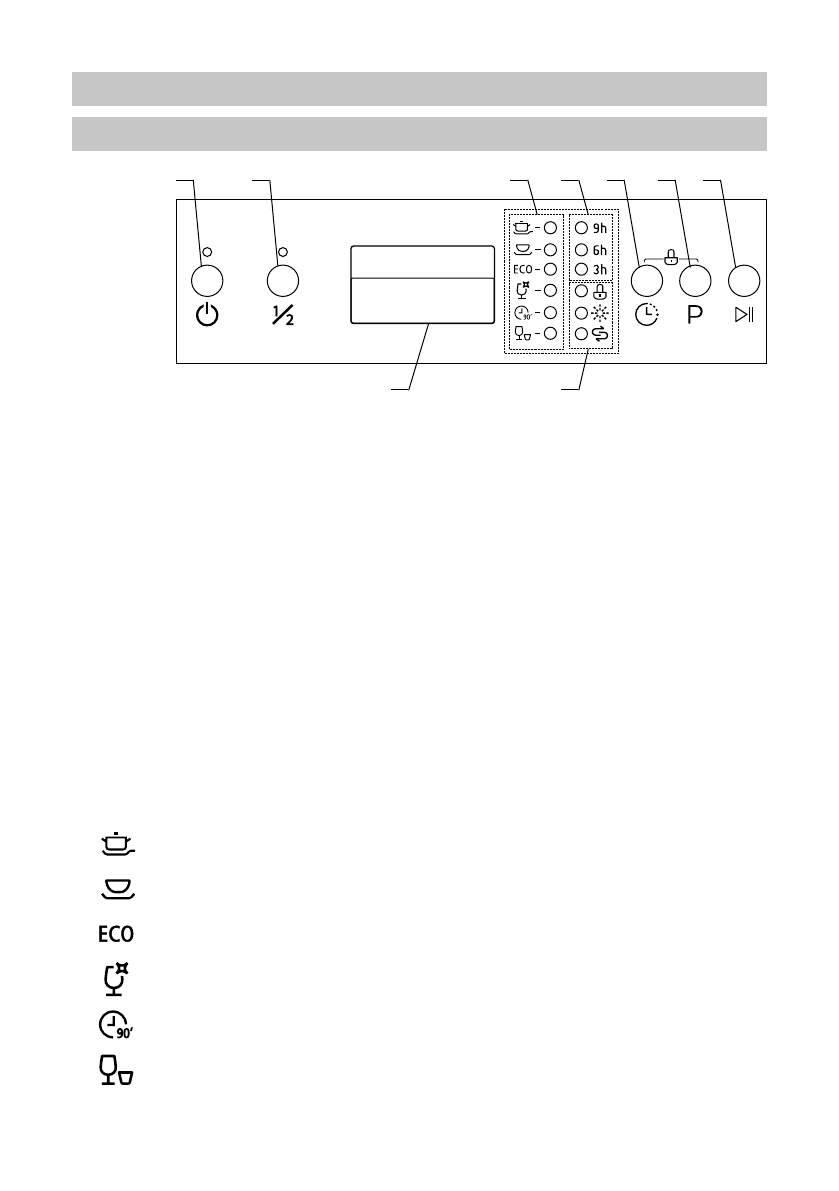
ПАНЕЛЬ УПРАВЛЕНИЯ
Модели Бирюса DWF-409/6 W, DWF-612/6 W
Блокировка
от детей
1
2
3
6
7
4
5
8
9
Данная функция предназначена для блокировки кнопок панели управления во время цикла
мойки. Для включения функции необходимо нажать и удерживать кнопки "3" и "4" в течение
3 секунд, после чего на панели управления загорится соответствующий индикатор. Для
отключения блокировки необходимо повторить указанные ранее действия
Кнопки управления:
1 - Кнопка включения/выключения посудомоечной машины. При нажатии на кнопку
машина включается, на панели управления загораются индикаторы. При повторном
нажатии на кнопку машина выключается.
2 - Кнопка включения частичной загрузки. Нажатием данной кнопки производится
включение режима мойки только одной из корзин. Данная функция может применяться в
случае, если посудой загружена только одна корзина для посуды, что позволяет экономить
воду и электроэнергию. При последовательных нажатиях на кнопку на дисплее "9"
отображается индикация, указывающая, для какой из корзин будет осуществлена мойка.
3 - Кнопка включения задержки запуска мойки. При последовательных нажатиях на кнопку
происходит переключение времени, через которое запустится цикл мойки, загораются
соответствующие индикаторы "7". Время задержки может быть установлено на 3, 6 или 9
часов.
4 - Кнопка выбора программы мойки. При последовательных нажатиях на кнопку
происходит переключение выбранной программы мойки, загораются соответствующие
индикаторы "6".
5 - Кнопка запуска и приостановки цикла мойки. При нажатии на кнопку происходит запуск
цикла мойки либо его приостановка.
6 - Индикаторы программ мойки:
7 - Индикаторы установленного времени задержки перед началом цикла мойки.
Интенсивная
- Программа для мойки сильно загрязненной посуды, с присохшими
загрязнениями, такой как сковороды, кастрюли, противни, тарелки.
Обычная
- Программа для мойки средне загрязненной посуды, такой как кастрюли,
противни, тарелки, стаканы, кружки, слабо загрязненные сковороды.
ЭКО
- Программа для мойки средне загрязненной посуды и столовых приборов повышенной
продолжительности, позволяющая экономить воду и электроэнергию.
Стекло
- Программа для мойки слабо загрязненной стеклянной и фарфоровой посуды,
столовых приборов.
90 минут
- Программа уменьшенной продолжительности без сушки, предназначенная для
мойки слабо загрязненной стеклянной и фарфоровой посуды, столовых приборов.
Быстрая
- Программа малой продолжительности для мойки слабо загрязненной посуды и
столовых приборов без сушки.
Содержание
- 2 СОДЕРЖАНИЕ
- 3 ОБЩИЕ СВЕДЕНИЯ; ТРЕБОВАНИЯ БЕЗОПАСНОСТИ
- 4 КОМПЛЕКТАЦИЯ
- 5 ЭКСПЛУАТАЦИЯ
- 6 УСТАНОВКА И ПОДКЛЮЧЕНИЕ
- 9 Добавление соли
- 10 Полный; Регулировка уровня расхода ополаскивателя
- 12 ПОДГОТОВКА И РАЗМЕЩЕНИЕ ПОСУДЫ
- 13 Регулировка положения верхней корзины
- 14 Регулировка положения деталей корзин
- 15 Размещение посуды в корзинах
- 19 ПАНЕЛЬ УПРАВЛЕНИЯ
- 22 ОБСЛУЖИВАНИЕ И УХОД
- 24 ВОЗМОЖНЫЕ НЕИСПРАВНОСТИ И МЕТОДЫ ИХ УСТРАНЕНИЯ
- 26 Коды ошибок
- 27 ТЕХНИЧЕСКИЕ ХАРАКТЕРИСТИКИ
- 29 ГАРАНТИЙНАЯ КАРТА
Характеристики
Остались вопросы?Не нашли свой ответ в руководстве или возникли другие проблемы? Задайте свой вопрос в форме ниже с подробным описанием вашей ситуации, чтобы другие люди и специалисты смогли дать на него ответ. Если вы знаете как решить проблему другого человека, пожалуйста, подскажите ему :)












