Посудомоечные машины Ariston LV 68 DUO - инструкция пользователя по применению, эксплуатации и установке на русском языке. Мы надеемся, она поможет вам решить возникшие у вас вопросы при эксплуатации техники.
Если остались вопросы, задайте их в комментариях после инструкции.
"Загружаем инструкцию", означает, что нужно подождать пока файл загрузится и можно будет его читать онлайн. Некоторые инструкции очень большие и время их появления зависит от вашей скорости интернета.

4
LV 68 DUO
îñóäîìîå÷íàÿ
ìàøèíà
Ï
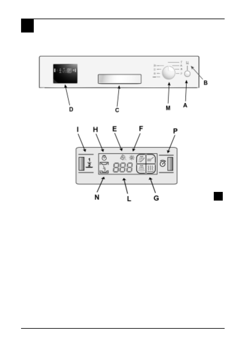
Ïàíåëü óïðàâëåíèÿ
(ðèñ. 2)
2
A Êíîïêà âêëþ÷åíèÿ / âûêëþ÷åíèÿ
Íàæàòèåì íà êíîïêó ïðîèçâîäèòñÿ âêëþ÷åíèå ìàøèíû.
B Èíäèêàòîð âêëþ÷åíèÿ / âûêëþ÷åíèÿ
Èíäèêàòîð ãîðèò ïðè âêëþ÷åííîì ñîñòîÿíèè ìàøèíû.
C Ðó÷êà äâåðöû
Äëÿ îòêðûòèÿ äâåðöû íàæìèòå íà ðó÷êó è ïîòÿíèòå íà ñåáÿ.
D Äèñïëåé
Êíîïêè è èíäèêàòîðû, ñëóæàùèå äëÿ ïðîãðàììèðîâàíèÿ ìàøèíû
E Èíäèêàòîð îòñóòñòâèÿ ñîëè
Èíäèêàòîð ãîðèò, êîãäà ñîëè â êîíòåéíåðå
J
íåäîñòàòî÷íî.
F Èíäèêàòîð îòñóòñòâèÿ îïîëàñêèâàòåëÿ
Èíäèêàòîð ãîðèò, êîãäà îïîëàñêèâàòåëÿ â ìàøèíå íåäîñòàòî÷íî.












