Посудомоечные машины Ariston LSV 68 DUO - инструкция пользователя по применению, эксплуатации и установке на русском языке. Мы надеемся, она поможет вам решить возникшие у вас вопросы при эксплуатации техники.
Если остались вопросы, задайте их в комментариях после инструкции.
"Загружаем инструкцию", означает, что нужно подождать пока файл загрузится и можно будет его читать онлайн. Некоторые инструкции очень большие и время их появления зависит от вашей скорости интернета.

"
LSV 68 DUO
îñóäîìîå÷íàÿ
ìàøèíà
Ï
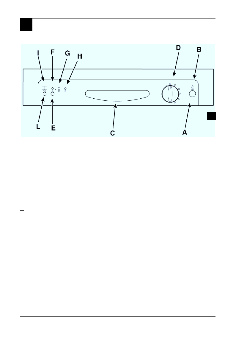
Ïàíåëü óïðàâëåíèÿ
(ðèñ. 2)
À. Êíîïêà âêëþ÷åíèÿ/âûêëþ÷åíèÿ
Íàæàòèåì êíîïêè ïðîèçâîäèòñÿ âêëþ÷åíèå ìàøèíû.
Â. Èíäèêàòîð âêëþ÷åíèÿ / âûêëþ÷åíèÿ
Èíäèêàòîð ãîðèò ïðè âêëþ÷åííîì ñîñòîÿíèè ìàøèíû.
Ñ. Ðó÷êà äâåðöû
Äëÿ îòêðûòèÿ äâåðöû íàæìèòå íà ðó÷êó è ïîòÿíèòå íà ñåáÿ.
D. Ðóêîÿòêà âûáîðà ïðîãðàìì
Èñïîëüçóéòå ðóêîÿòêó äëÿ âûáîðà ïðîãðàììû â ñîîòâåòñòâèè ñ ðå-
êîìåíäàöèÿìè (ñì.
Òàáëèöó ïðîãðàìì íà ñòð. 13
).
E. Êíîïêà ïîëîâèííîé çàãðóçêè
Ïðè íàæàòîé êíîïêå èñïîëüçóåòñÿ òîëüêî âåðõíÿÿ êîðçèíà.
F. Èíäèêàòîð ïîëîâèííîé çàãðóçêè
Ãîðÿùèé èíäèêàòîð èíôîðìèðóåò, ÷òî çàïóùåíà ïðîãðàììà ñ ïîëî-
âèííîé çàãðóçêîé.
L. Êíîïêà âêëþ÷åíèÿ òàéìåðà
Íàæàòèåì êíîïêè ìîæíî îòëîæèòü ñòàðò ïðîãðàììû íà 19 ÷àñîâ.
I.
Ìíîãîôóíêöèîíàëüíûé öèôðîâîé äèñïëåé
Ïîêàçûâàåò ïðîäîëæèòåëüíîñòü ïðîãðàììû, âðåìÿ îòëîæåííîãî
ñòàðòà è öèôðîâîé êîä îøèáîê.
G. Èíäèêàòîð îòñóòñòâèÿ ñîëè
Èíäèêàòîð ãîðèò, êîãäà ñîëè â êîíòåéíåðå
J
íåäîñòàòî÷íî.
H. Èíäèêàòîð îòñóòñòâèÿ îïîëàñêèâàòåëÿ
Èíäèêàòîð ãîðèò, êîãäà îïîëàñêèâàòåëÿ â ìàøèíå íåäîñòàòî÷íî.
2












