Посудомоечные машины Ariston LSV 67 A - инструкция пользователя по применению, эксплуатации и установке на русском языке. Мы надеемся, она поможет вам решить возникшие у вас вопросы при эксплуатации техники.
Если остались вопросы, задайте их в комментариях после инструкции.
"Загружаем инструкцию", означает, что нужно подождать пока файл загрузится и можно будет его читать онлайн. Некоторые инструкции очень большие и время их появления зависит от вашей скорости интернета.

14
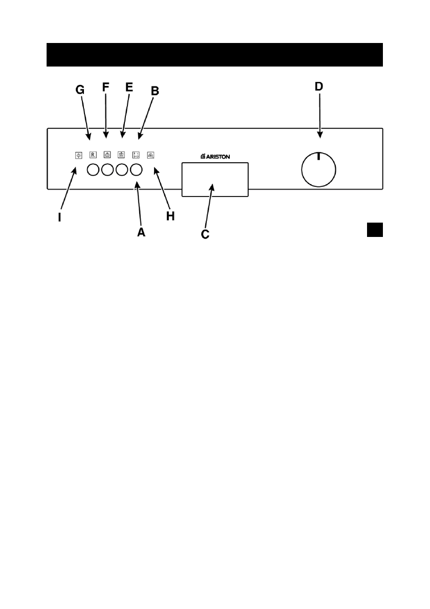
Îïèñàíèå ìàøèíû
À. Êíîïêà âêëþ÷åíèÿ / âûêëþ÷åíèÿ
Íàæàòèåì íà êíîïêó ïðîèçâîäèòñÿ âêëþ÷åíèå ìàøèíû.
Â. Èíäèêàòîð âêëþ÷åíèÿ / âûêëþ÷åíèÿ
Èíäèêàòîð ãîðèò ïðè âêëþ÷åííîì ñîñòîÿíèè ìàøèíû.
Ñ. Ðó÷êà äâåðöû
Äëÿ îòêðûòèÿ äâåðöû íàæìèòå íà ðó÷êó è ïîòÿíèòå íà ñåáÿ.
D. Ðóêîÿòêà âûáîðà ïðîãðàìì
Èñïîëüçóéòå ðóêîÿòêó äëÿ âûáîðà ïðîãðàììû â ñîîòâåòñòâèè ñ ðåêîìåí-
äàöèÿìè (ñì.
Òàáëèöó ïðîãðàìì íà ñòð. 23
).
Å. Êíîïêà âêëþ÷åíèÿ öèêëà «Ïëþñ» («PLUS 65°Ñ»)
Ïðè íàæàòîé êíîïêå òåìïåðàòóðà ìîéêè ïîâûøàåòñÿ äî 65°Ñ. Ôóíêöèÿ èñ-
ïîëüçóåòñÿ ïðè ïðîãðàììå íîðìàëüíîé ìîéêè äëÿ ñèëüíî çàãðÿçíåííîé
ïîñóäû (ñì. ñîîòâ. ãë íà ñòð. 21).
F. Êíîïêà ïîëîâèííîé çàãðóçêè
Ïðè íàæàòîé êíîïêå èñïîëüçóåòñÿ òîëüêî âåðõíÿÿ êîðçèíà
G. Êíîïêà áûñòðîé ìîéêè («RAPID 50°Ñ»)
Ïðè íàæàòîé êíîïêå òåìïåðàòóðà ìîéêè ñíèæàåòñÿ äî 50°Ñ. Ôóíêöèÿ èñ-
ïîëüçóåòñÿ ïðè ïðîãðàììå ìîéêè ñòåêëÿííîé, õðóïêîé ïîñóäû (ñì. ñîîòâ.
ãë íà ñòð. 22).
H. Èíäèêàòîð îòñóòñòâèÿ ñîëè
Èíäèêàòîð ãîðèò, êîãäà ñîëè â êîíòåéíåðå
P
íåäîñòàòî÷íî.
I.
Èíäèêàòîð îòñóòñòâèÿ îïîëàñêèâàòåëÿ
Èíäèêàòîð ãîðèò, êîãäà îïîëàñêèâàòåëÿ â ìàøèíå íåäîñòàòî÷íî.
ÏÀÍÅËÜ ÓÏÐÀÂËÅÍÈß
16