Посудомоечные машины Ariston LS 2450 A(ST) - инструкция пользователя по применению, эксплуатации и установке на русском языке. Мы надеемся, она поможет вам решить возникшие у вас вопросы при эксплуатации техники.
Если остались вопросы, задайте их в комментариях после инструкции.
"Загружаем инструкцию", означает, что нужно подождать пока файл загрузится и можно будет его читать онлайн. Некоторые инструкции очень большие и время их появления зависит от вашей скорости интернета.

7
LS 2450 A, LS 2450 ST
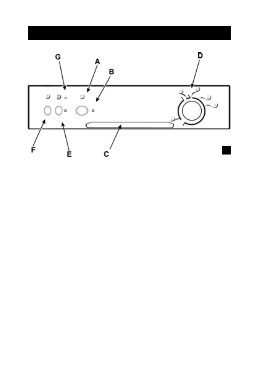
ÎÏÈÑÀÍÈÅ ÌÀØÈÍÛ
À. Êíîïêà âêëþ÷åíèÿ
Íàæàòèåì êíîïêè ïðîèçâîäèòñÿ âêëþ÷åíèå ìàøèíû.
Â. Èíäèêàòîð âêëþ÷åíèÿ / âûêëþ÷åíèÿ
Èíäèêàòîð ãîðèò ïðè âêëþ÷åííîì ñîñòîÿíèè ìàøèíû.
Ñ. Ðó÷êà äâåðöû
Äëÿ îòêðûòèÿ äâåðöû íàæìèòå íà ðó÷êó è ïîòÿíèòå íà ñåáÿ.
D. Ðóêîÿòêà âûáîðà ïðîãðàìì
Èñïîëüçóéòå ðóêîÿòêó äëÿ âûáîðà ïðîãðàììû â ñîîòâåòñòâèè ñ ðåêîìåí-
äàöèÿìè (ñì.
Òàáëèöó ïðîãðàìì íà ñòð. 17
).
Å. Êíîïêà âêëþ÷åíèÿ öèêëà «Ïëþñ» («PLUS 65°Ñ»)
Ïðè íàæàòîé êíîïêå òåìïåðàòóðà ìîéêè ïîâûøàåòñÿ äî 65°Ñ. Ôóíêöèÿ èñ-
ïîëüçóåòñÿ ïðè ïðîãðàììå íîðìàëüíîé ìîéêè äëÿ ñèëüíî çàãðÿçíåííîé
ïîñóäû (ñì. ñîîòâ. ãë íà ñòð. 16).
F. Êíîïêà áûñòðîé ìîéêè («RAPID 50°Ñ»)
Ïðè íàæàòîé êíîïêå òåìïåðàòóðà ìîéêè ñíèæàåòñÿ äî 50°Ñ. Ôóíêöèÿ èñ-
ïîëüçóåòñÿ ïðè ïðîãðàììå ìîéêè ñòåêëÿííîé, õðóïêîé ïîñóäû (ñì. ñîîòâ.
ãë íà ñòð. 16).
G. Èíäèêàòîð îòñóòñòâèÿ ñîëè
Èíäèêàòîð ãîðèò, êîãäà ñîëè â êîíòåéíåðå
O
íåäîñòàòî÷íî.
ÏÀÍÅËÜ ÓÏÐÀÂËÅÍÈß
4












