Посудомоечные машины AEG FSR63600P - инструкция пользователя по применению, эксплуатации и установке на русском языке. Мы надеемся, она поможет вам решить возникшие у вас вопросы при эксплуатации техники.
Если остались вопросы, задайте их в комментариях после инструкции.
"Загружаем инструкцию", означает, что нужно подождать пока файл загрузится и можно будет его читать онлайн. Некоторые инструкции очень большие и время их появления зависит от вашей скорости интернета.

3. ОПИСАНИЕ ИЗДЕЛИЯ
5
4
6
7
9 8
12
2
3
1
11
10
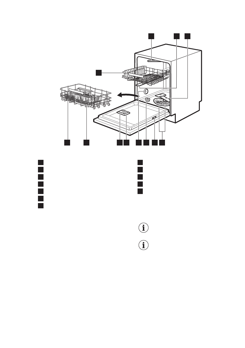
1
Потолочный разбрызгиватель
2
Верхний разбрызгиватель
3
Нижний разбрызгиватель
4
Фильтры
5
Табличка с техническими данными
6
Емкость для соли
7
Вентиляционное отверстие
8
Дозатор ополаскивателя
9
Дозатор моющего средства
10
Корзина для столовых приборов
11
Нижняя корзина
12
Верхняя корзина
3.1 Beam-on-Floor
Beam-on-Floor – это индикация,
которая появляется на полу под
дверцей прибора.
• При запуске программы появляется
красный световой луч, который
горит во время работы программы.
• По завершению программы
загорается зеленый световой луч.
• В случае неисправности прибора
красный световой луч мигает.
При выключении прибора
Beam-on-Floor гаснет.
При включении AirDry во
время этапа сушки
отображаемая на полу
информация может быть
видна не полностью.
Чтобы узнать, завершен ли
цикл, проверьте панель
управления.
РУССКИЙ
7
Содержание
- 5 УКАЗАНИЯ ПО БЕЗОПАСНОСТИ; электросети
- 9 Показатели потребления
- 10 тестирующих организаций; Вызов режима выбора
- 13 Звуковая сигнализация; Выключение AirDry
- 15 ПЕРЕД ПЕРВЫМ ИСПОЛЬЗОВАНИЕМ; Наполнение емкости для
- 16 ЕЖЕДНЕВНОЕ ИСПОЛЬЗОВАНИЕ; моющего средства
- 20 Очистка фильтров
- 21 разбрызгивателя
- 22 ПОИСК И УСТРАНЕНИЕ НЕИСПРАВНОСТЕЙ
- 24 Результаты мойки и сушки неудовлетворительны
- 27 ТЕХНИЧЕСКИЕ ДАННЫЕ
Характеристики
Остались вопросы?Не нашли свой ответ в руководстве или возникли другие проблемы? Задайте свой вопрос в форме ниже с подробным описанием вашей ситуации, чтобы другие люди и специалисты смогли дать на него ответ. Если вы знаете как решить проблему другого человека, пожалуйста, подскажите ему :)













